Foram encontradas 1.925 questões.
Se quatro substâncias formam uma solução ideal, qual o valor, em kJ/mol, da energia livre de Gibbs de mistura para uma solução equimolar desses constituintes, a 300 K?
Dado: R= 8 J.mol−1.K−1
ln 0,5 = −0,7
Provas
Questão presente nas seguintes provas
A pressão de vapor de uma substância pura aumenta com a temperatura, segundo uma relação
Provas
Questão presente nas seguintes provas

A área do quadrilátero da figura acima (região sombreada) pode ser obtida através do módulo da expressão
Provas
Questão presente nas seguintes provas



Todos os vetores da ilustração acima têm o mesmo módulo. Se !$ E_1 !$, !$ E_2 !$ e !$ E_3 !$ são os produtos escalares dos vetores das Figuras 1, 2 e 3, respectivamente, então
Provas
Questão presente nas seguintes provas
Se um conjunto de vetores é base de um espaço vetorial, então qualquer vetor desse espaço pode ser obtido através de combinações lineares dos vetores do conjunto.
Qual dos conjuntos a seguir é uma base para o espaço vetorial !$ IR^2 !$?
Provas
Questão presente nas seguintes provas
Se u = (1, 2), v = (– 2, 5) e w = (x, y) são vetores de IR2, então, para que w = 3u − v, x + y deve ser igual a
Provas
Questão presente nas seguintes provas

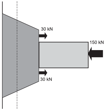
A figura acima representa uma barra em formato de tronco de cone conectado a uma barra cilíndrica, que está submetida a uma compressão de 150 kN na base do cilindro, e também a dois esforços de tração de módulos 30 kN.
Qual a tensão em um ponto de uma seção paralela às bases do tronco, indicada pela linha pontilhada no desenho, sabendo que o raio dessa seção é 30 mm?
Provas
Questão presente nas seguintes provas
Uma partícula nas proximidades da superfície da Terra está submetida somente a um campo gravitacional uniforme, desprezando-se a resistência do ar e possíveis dissipações. Ela se movimenta de um ponto inicial A, até um ponto final B, por 4 possíveis trajetórias conforme mostrado abaixo.

Em qual dos percursos o trabalho realizado pela força peso foi maior?
Provas
Questão presente nas seguintes provas
Uma partícula de massa m está submetida a uma força variável no tempo, a qual produz uma aceleração nesse corpo dada por
!$ a(t) = 2t !$
Encontre a equação de movimento para essa partícula, considerando que a velocidade inicial e a posição inicial são nulas, isto é, !$ v_0 = S_0= 0 !$.
Provas
Questão presente nas seguintes provas

Considere, na figura acima, dois carrinhos separados um do outro por uma mola comprimida. Em certo instante, o sistema é liberado e os carrinhos passam a se movimentar em direções opostas.
Sabendo-se que a massa do carrinho 1 é o triplo da massa do carrinho 2, isto é, m1 = 3 m2, encontre a relação entre as velocidades v1 e v2 dos carrinhos 1 e 2, respectivamente, logo após perderem contato com a mola.
Provas
Questão presente nas seguintes provas
Cadernos
Caderno Container