Foram encontradas 70 questões.
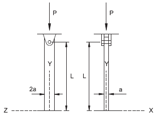
Uma coluna de aço estrutural deve suportar uma carga axial P, conforme ilustrado na figura.

A extremidade inferior da coluna está engastada. O dispositivo pino e suporte, na extremidade superior da coluna, permite rotação em torno do pino, mas evita rotações em torno do eixos y e z.
Qual o valor da carga máxima P que a coluna pode suportar sem flambar?
Provas
Questão presente nas seguintes provas
Uma barra com comprimento igual a 5 m e área de seção transversal igual a 2.500 mm2 é submetida a uma força axial de tração de 400 kN ao longo de seu comprimento.
O material tem comportamento linear elástico. Se o comprimento tem um aumento de 10 mm, qual o módulo de elasticidade longitudinal do material em GPa?
Provas
Questão presente nas seguintes provas
Considerando-se a teoria da superposição de tensões no cálculo da estrutura de um navio, a unidade de chapeamento está sujeita a tensões
Provas
Questão presente nas seguintes provas
Uma balsa com seção transversal retangular constante ao longo do seu comprimento tem 5 m de pontal. A balsa flutua sem banda e sem trim em águas tranquilas. Seu tanque de carga é parcialmente cheio com óleo. A sondagem desse tanque indica uma altura de 3 m para o óleo.
A força hidrostática que o óleo exerce sobre uma antepara transversal do tanque está situada a uma altura, em metros, do fundo do tanque igual a
Provas
Questão presente nas seguintes provas
A viga tipo I apresenta as dimensões mostradas na figura abaixo.

A viga está submetida a uma força cortante de 320 kN. O momento de inércia em relação ao eixo horizontal baricêntrico da seção transversal é, aproximadamente, 2,5 x 109 mm4.
Qual o valor aproximado da tensão de cisalhamento máxima atuante na seção transversal da viga em MPa?
Provas
Questão presente nas seguintes provas
Considere o estado plano de tensões representado pelo elemento indicado na figura abaixo.

Os valores da tensão de cisalhamento máxima no plano e da tensão normal média a ela associada, em MPa, são, respectivamente, iguais a
Provas
Questão presente nas seguintes provas
O turco apresentado na figura abaixo é utilizado para erguer uma carga de 4 kN.

Se a lança AB tem peso uniforme igual a 600 N/m, a força vertical, em kN, e o momento, em kN.m, resultantes na seção transversal que passa pelo ponto C são, respectivamente, iguais a
Provas
Questão presente nas seguintes provas
Considere a viga biapoiada apresentada na figura abaixo para responder à questão.

Qual o valor, em cm3, do módulo de resistência que a viga deve ter, considerando-se uma tensão de flexão admissível igual a 160 MPa?
Provas
Questão presente nas seguintes provas
Considere a viga biapoiada apresentada na figura abaixo para responder à questão.

O diagrama que representa esquematicamente os valores momentos fletores para a situação de carregamento apresentada é dado por
Provas
Questão presente nas seguintes provas
Em relação à resistência ao avanço de um navio, analise as afirmativas a seguir.
I - Os modelos utilizados para o cálculo de resistência ao avanço procuram incorporar a influência da forma do casco sobre a resistência viscosa através da adoção do chamado fator de forma.
II - As regiões de proa e popa do navio contribuem de forma mais significativa para a geração de ondas, pois são as regiões onde a pressão varia de forma mais abrupta.
III - O cálculo da resistência friccional de um navio admite, como passo inicial, a hipótese de que a resistência será igual à força exercida pelo fluido sobre uma placa plana com área igual à área de superfície molhada do casco do navio.
Está correto o que se afirma em
Provas
Questão presente nas seguintes provas
Cadernos
Caderno Container