Foram encontradas 1.730 questões.

Julgue o item subsecutivo, em relação às características das curvas do gráfico precedente, que representa os diagramas de tensão-deformação convencional e real de uma barra de aço (sem escala) adotado em determinada obra.
A região A do gráfico representa o comportamento elástico da barra de aço.
Provas
O engenheiro responsável pelo projeto de uma edificação em estrutura de aço tomou as seguintes decisões:
• nas ligações com parafusos de alta resistência, adotou o aperto normal.
• considerou a influência de todas as ações que poderiam impactar significativamente a estrutura, adotando, na sua análise, tanto o estado-limite de serviço como o estado-limite último.
• desprezou a carga de vento devido às condições locais.
• determinou os esforços internos do material aplicando a análise global elástica.
A respeito das decisões do engenheiro, acima apresentadas, julgue o item que se segue, com base nas normas vigentes.
Pelo comportamento flexível da estrutura em aço e pelos diversos fatores de segurança adotados em outros carregamentos, as cargas de vento podem ser desconsideradas no cálculo estrutural.
Provas
O engenheiro responsável pelo projeto de uma edificação em estrutura de aço tomou as seguintes decisões:
• nas ligações com parafusos de alta resistência, adotou o aperto normal.
• considerou a influência de todas as ações que poderiam impactar significativamente a estrutura, adotando, na sua análise, tanto o estado-limite de serviço como o estado-limite último.
• desprezou a carga de vento devido às condições locais.
• determinou os esforços internos do material aplicando a análise global elástica.
A respeito das decisões do engenheiro, acima apresentadas, julgue o item que se segue, com base nas normas vigentes.
Ao considerar a influência de todas as ações que possam impactar significativamente a estrutura, o engenheiro poderia ter desprezado o estado- limite de serviço ao adotar o estado - limite último na análise.
Provas
O engenheiro responsável pelo projeto de uma edificação em estrutura de aço tomou as seguintes decisões:
• nas ligações com parafusos de alta resistência, adotou o aperto normal.
• considerou a influência de todas as ações que poderiam impactar significativamente a estrutura, adotando, na sua análise, tanto o estado-limite de serviço como o estado-limite último.
• desprezou a carga de vento devido às condições locais.
• determinou os esforços internos do material aplicando a análise global elástica.
A respeito das decisões do engenheiro, acima apresentadas, julgue o item que se segue, com base nas normas vigentes.
O engenheiro deve justificar a adoção de análise global elástica, que é indicada, por norma, somente para situações excepcionais.
Provas
Durante a construção de uma edificação em estrutura de concreto pré-moldado, observou-se, entre outros, o que se destaca a seguir.
• Nos elementos protendidos, utilização de argamassa de injeção com aditivos à base de halogenetos.
• Alteração do projeto, que previa o uso de pilares vazados como condutor de água pluvial, para que dutos pluviais fossem instalados de forma aparente, fora da estrutura.
• Reprovação das alças de içamento, pois o material adotado era o aço do tipo CA60.
Tendo em vista essas informações, julgue o item subsequente, conforme as normas vigentes.
Em elementos pré-moldados, o aproveitamento de pilares vazados como condutor de águas pluviais não é permitido por norma, sendo a alteração realizada no projeto a solução mais adequada, conforme as normas vigentes.
Provas

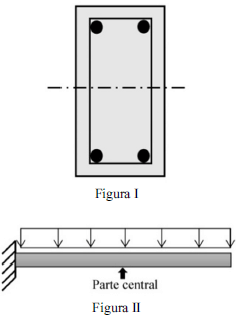
A figura I acima representa a seção reta na parte central de uma viga de concreto armada em balanço, na qual a linha tracejada define a linha neutra; os círculos, as barras de aço longitudinais; e o retângulo interno, a armadura de estribo. A viga está engastada em um único apoio, com carga distribuída uniformemente de cima para baixo, conforme ilustra a figura II.
Com base nessas informações, julgue o próximo item.
As duas barras de aço longitudinais acima da linha neutra têm como principal função manter os estribos em sua posição de projeto.
Provas

A figura I acima representa a seção reta na parte central de uma viga de concreto armada em balanço, na qual a linha tracejada define a linha neutra; os círculos, as barras de aço longitudinais; e o retângulo interno, a armadura de estribo. A viga está engastada em um único apoio, com carga distribuída uniformemente de cima para baixo, conforme ilustra a figura II.
Com base nessas informações, julgue o próximo item.
O estribo está sujeito a um esforço de torção.
Provas
Julgue o item subsequente a respeito de conceitos, composição, transição e processo produtivo associados à matriz energética.
Matriz energética e matriz elétrica são conceitos similares usados para representar o conjunto de fontes disponíveis em um país, um estado, uma região ou no mundo, para suprir a demanda de energia.
Provas
A respeito do uso e das fontes de energia, julgue o seguinte item.
Os combustíveis fósseis, como carvão e petróleo, são as fontes de energia mais usadas no mundo, já que apresentam alta eficiência energética e rápida reposição na natureza.
Provas
A respeito do uso e das fontes de energia, julgue o seguinte item.
A energia convencional é gerada a partir de fontes não renováveis, que não podem ser produzidas e(ou) extraídas infinitamente da natureza.
Provas
Caderno Container