Foram encontradas 895 questões.
A respeito dos conceitos associados aos materiais utilizados na construção mecânica, julgue o item subsecutivo.
Os aços bainiticos apresentam uma microestrutura com morfologia acicular composta de ferrita em forma de placas e partículas de carbonetos. Essa estrutura, obtida com o tratamento térmico da austêmpera, caracteriza-se por aliar resistência elevada, similar à da martensita, com boa tenacidade, razão pela qual a austêmpera é utilizada em substituição da têmpera/revenido convencional.
Provas
Em cada item a seguir é apresentada uma situação hipotética seguida de uma assertiva a ser julgada com relação a conceitos e princípios da mecânica dos fluidos.
Etanol hidratado a 20°C — de massa específica 800 kg/m3 eviscosidade cinemática 1,5 × 10−6 m2/s — está sendobombeado através de uma tubulação de 30 cm de diâmetro auma vazão igual a 1,0 × 10−3 m3/s. Nessas condições, oescoamento é turbulento.
Provas
Em cada item a seguir é apresentada uma situação hipotética seguida de uma assertiva a ser julgada com relação a conceitos e princípios da mecânica dos fluidos.
No diagrama a seguir, é apresentado um trocador de calor deduplo tubo de fluxo oposto, usado para resfriar 10.000 kg/hde água de 100°C para 64°C, enquanto aquece outros10.000 kg/h de água que entra a 20°C no trocador. Nessascondições, assumindo-se que o calor específico da água seja4.180 J·kg−1·K−1 e que o coeficiente global de troca de calorseja 2.000 W/m2, será necessária uma superfície de troca decalor de pelo menos 5,8 m2 para o funcionamento dotrocador.

Provas
Em cada item a seguir é apresentada uma situação hipotética seguida de uma assertiva a ser julgada com relação a conceitos e princípios da mecânica dos fluidos.
Na situação da figura a seguir, um manômetro instalado em A indica a pressão de 100 kPa, assumindo-se g = 10 m/s2 no local e que os valores das massas específicas da água, do mercúrio e do óleo sejam, respectivamente, 1.000 kg/m3, 13.600 kg/m3 e 800 kg/m3. Nesse caso, considerando que a pressão atmosférica no local valha 101,32 kPa, é correto concluir que a pressão absoluta em B será menor que a pressão atmosférica no local.

Provas

A figura apresentada anteriormente mostra uma viga que possui 1,0 m de comprimento, seção sólida quadrada de 200 mm × 200 mm, tendo sido fabricada em alumínio 7075-T6, cuja resistência ao escoamento é Sy = 500 MPa e a resistência à tração é SRT = 590 MPa. A viga está apoiada em um apoio fixo, em uma extremidade, e em um apoio móvel, a 0,4 m da outra extremidade, bem como está submetida a uma carga de 6,0 kN no meio do vão.
Com base nas informações apresentadas, julgue o próximo item.
A tensão normal máxima na viga ocorre na seção transversal, onde está aplicada a carga, e é superior a 300 MPa.
Provas

A figura apresentada anteriormente mostra uma viga que possui 1,0 m de comprimento, seção sólida quadrada de 200 mm × 200 mm, tendo sido fabricada em alumínio 7075-T6, cuja resistência ao escoamento é Sy = 500 MPa e a resistência à tração é SRT = 590 MPa. A viga está apoiada em um apoio fixo, em uma extremidade, e em um apoio móvel, a 0,4 m da outra extremidade, bem como está submetida a uma carga de 6,0 kN no meio do vão.
Com base nas informações apresentadas, julgue o próximo item.
As tensões cisalhantes devidas ao esforço cortante são nulas na seção correspondente ao apoio móvel.
Provas

A figura apresentada anteriormente mostra uma viga que possui 1,0 m de comprimento, seção sólida quadrada de 200 mm × 200 mm, tendo sido fabricada em alumínio 7075-T6, cuja resistência ao escoamento é Sy = 500 MPa e a resistência à tração é SRT = 590 MPa. A viga está apoiada em um apoio fixo, em uma extremidade, e em um apoio móvel, a 0,4 m da outra extremidade, bem como está submetida a uma carga de 6,0 kN no meio do vão.
Com base nas informações apresentadas, julgue o próximo item.
Considerando-se as tensões que atuam em um elemento de tensão situado na parte superior da viga, no ponto de carregamento, pelo critério de Tresca, também conhecido como teoria da máxima tensão cisalhante, é correto afirmar que não se configura risco de falha por escoamento do material.
Provas
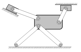
Julgue o item seguinte com relação a conceitos e princípios da mecânica dos sólidos.
O mecanismo mostrado na figura a seguir, que contém uma junta dupla e dois cursores, possui dois graus de liberdade.

Provas
Julgue o item seguinte com relação a conceitos e princípios da mecânica dos sólidos.
Nas análises de amostras do espectro de vibrações decomponentes de máquinas rotativas, parâmetros de vibraçãocom valores em função do tempo — como amplitude pico apico, amplitude de pico, amplitude média retificada e RMS (root mean square), ilustrados na figura a seguir — sãoutilizados para a detecção de anomalias de operaçãocausadas por desbalanceamentos, desalinhamentos, falhasem rolamentos, excentricidade e folgas. Nesse contexto, aamplitude média quadrática ou RMS não é um bomparâmetro indicador da produção de danos por choques decurta duração.

Provas
Julgue o item seguinte com relação a conceitos e princípios da mecânica dos sólidos.
A zona sombreada apresentada no gráfico de transmissibilidade versus razão de frequência, mostrado abaixo, indica a região em que a única forma de alterar a amplitude de deslocamento é alterar a rigidez do sistema.

Provas
Caderno Container