Foram encontradas 40 questões.
Texto para a questão.
A bomba atômica
A bomba atômica é triste
Coisa mais triste não há
Quando cai, cai sem vontade
Vem caindo devagar
Tão devagar vem caindo
Que dá tempo a um passarinho
De pousar nela e voar...
Coitada da bomba atômica
Que não gosta de matar!
Coitada da bomba atômica
Que não gosta de matar
Mas que ao matar mata tudo
Animal e vegetal
Que mata a vida da terra
E mata a vida do ar
Mas que também mata a guerra...
A bomba atômica que aterra!
Pomba atômica da paz!
Pomba tonta, bomba atômica
Tristeza, consolação
Flor puríssima do urânio
Desabrochada no chão
Da cor pálida do hélium
E odor de rádium fatal
Loelia mineral carnívora
Radiosa rosa radical
Nunca mais, oh bomba atômica
Nunca, em tempo algum, jamais
Seja preciso que mates
Onde houver morte demais:
Fique apenas a tua imagem
Aterradora miragem
Sobre as grandes catedrais:
Guardiã de uma nova era
Arcanjo insigne da paz!
(Vinicius de Morais, O encontro do cotidiano, in: OBRA POÉTICA. Rio de Janeiro)
Após analisar as alternativas a respeito do texto A BOMBA ATÔMICA, marque a incorreta:
Provas
Disciplina: Engenharia Civil
Banca: Asconprev
Orgão: Pref. Lagoa Grande-PE
Conforme a norma técnica para garantir o acesso ao sistema de tubulação de esgoto, devem ser respeitadas algumas condições. Qual a distância máxima permitida para inspeção dos ramais de descarga de esgoto de bacias sanitárias e caixa de gordura residencial, não devem ser superiores a:
Provas
Disciplina: Engenharia Civil
Banca: Asconprev
Orgão: Pref. Lagoa Grande-PE
Sobre a Locação de obra é correto afirmar que:
I - Consiste em medir e assinalar no terreno nivelado, a posição das valas de fundações, paredes, colunas de acordo com o indicado nos projeto.
II- É o conjunto de três operações distintas, ou seja, escavação, fundação e aterro.
III- Tábuas justapostas travadas por caibros com uma altura aproximada de 2,2 metros, no qual são afixadas as placas exigidas por lei.
Provas
Disciplina: Engenharia Civil
Banca: Asconprev
Orgão: Pref. Lagoa Grande-PE
No planejamento de serviço de alvenaria de uma construção de edifício, temos a seguinte situação, no pavimento térreo um pedreiro realiza 15m² de alvenaria para 8 horas trabalhadas, no 1° pavimento outro pedreiro realiza 12m² de alvenaria para 8 horas trabalhadas e no 2° pavimento o terceiro pedreiro realiza 10m² para 8 horas trabalhadas. Sabemos que será executados 735m², quantos dias será concluídos os serviços.
Provas
“DENGUE:
DÁ PARA EVITAR?
Enquanto a vacina não vem, prevenção contra o mosquito ainda é a melhor maneira de enfrentar o problema”.
(VEJA – edição 2253 – ano 45 – nº 4 25 de janeiro de 2012)
No texto acima, predomina uma das funções da linguagem, que consta numa das alternativas abaixo. Após identificá-la, marque essa alternativa:
Provas
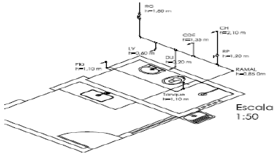
Disciplina: Engenharia Civil
Banca: Asconprev
Orgão: Pref. Lagoa Grande-PE
Qual projeto de instalações, o desenho abaixo está representando?

Provas
Disciplina: Engenharia Civil
Banca: Asconprev
Orgão: Pref. Lagoa Grande-PE
As cargas horizontais podem ser também de natureza permanente. Em relação às formas de distribuição dessas cargas, podem ser citadas as cargas uniformemente distribuídas, concentradas, triangulares e trapezoidais. Qual destes Elementos estruturais recebem a primeira carga:
Provas
Disciplina: Raciocínio Lógico
Banca: Asconprev
Orgão: Pref. Lagoa Grande-PE
Dona Maria vai a uma fonte que tem três torneiras, encher os seus dez garrafões. Um dos garrafões demora um minuto para encher, outro dois minutos, outro três minutos e assim por diante. Como Dona Maria deverá distribuir os garrafões pelas torneiras de modo a gastar o menor tempo possível. Qual é esse tempo?
Provas
Texto para a questão.
A bomba atômica
A bomba atômica é triste
Coisa mais triste não há
Quando cai, cai sem vontade
Vem caindo devagar
Tão devagar vem caindo
Que dá tempo a um passarinho
De pousar nela e voar...
Coitada da bomba atômica
Que não gosta de matar!
Coitada da bomba atômica
Que não gosta de matar
Mas que ao matar mata tudo
Animal e vegetal
Que mata a vida da terra
E mata a vida do ar
Mas que também mata a guerra...
A bomba atômica que aterra!
Pomba atômica da paz!
Pomba tonta, bomba atômica
Tristeza, consolação
Flor puríssima do urânio
Desabrochada no chão
Da cor pálida do hélium
E odor de rádium fatal
Loelia mineral carnívora
Radiosa rosa radical
Nunca mais, oh bomba atômica
Nunca, em tempo algum, jamais
Seja preciso que mates
Onde houver morte demais:
Fique apenas a tua imagem
Aterradora miragem
Sobre as grandes catedrais:
Guardiã de uma nova era
Arcanjo insigne da paz!
(Vinicius de Morais, O encontro do cotidiano, in: OBRA POÉTICA. Rio de Janeiro)
“Pomba tonta, bomba atômica
Flor puríssima de urânio”
Nos versos acima, há uma figura de linguagem que é denominada:
Provas
Texto para a questão.
A bomba atômica
A bomba atômica é triste
Coisa mais triste não há
Quando cai, cai sem vontade
Vem caindo devagar
Tão devagar vem caindo
Que dá tempo a um passarinho
De pousar nela e voar...
Coitada da bomba atômica
Que não gosta de matar!
Coitada da bomba atômica
Que não gosta de matar
Mas que ao matar mata tudo
Animal e vegetal
Que mata a vida da terra
E mata a vida do ar
Mas que também mata a guerra...
A bomba atômica que aterra!
Pomba atômica da paz!
Pomba tonta, bomba atômica
Tristeza, consolação
Flor puríssima do urânio
Desabrochada no chão
Da cor pálida do hélium
E odor de rádium fatal
Loelia mineral carnívora
Radiosa rosa radical
Nunca mais, oh bomba atômica
Nunca, em tempo algum, jamais
Seja preciso que mates
Onde houver morte demais:
Fique apenas a tua imagem
Aterradora miragem
Sobre as grandes catedrais:
Guardiã de uma nova era
Arcanjo insigne da paz!
(Vinicius de Morais, O encontro do cotidiano, in: OBRA POÉTICA. Rio de Janeiro)
Assinale a alternativa em que o par de palavras não constitui sinônimos:
Provas
Caderno Container