Foram encontradas 546 questões.
A carga admissível estrutural, tambémdenominada de carga característica, é a máximacarga que uma estaca poderá suportar, posto quecorresponde à resistência estrutural dos seusmateriais componentes. Porém, faz-se necessáriodotar a estaca de um comprimento, que permita queesta capacidade de carga possa ser atingida pelainteração desta com o solo. Atente para a estacaescavada do tipo hélice contínua exemplificada nafigura abaixo e aos dados que seguem.
Dados: • Solo: CS – argila arenosa; γS = 1,70 tf/m3. • Estaca: Hélice Contínua – escavada; • Comprimento L = 1.200,00 cm; • Diâmetro – Φ = 0,80 m; • Armadura principal: 8φ16.0; • Área AS = 16,0 cm2; • Área AC = 5.020,00 cm2; • Perímetro U = 251,00 cm. • Concreto da Estaca: C-20; fCK = 200,00 kgf/cm2; γC = 1,4. • Aço para o concreto: CA-50B fYK = 5.000 kgf/cm2; γY = 1,15.
Fórmulas: Capacidade Estrutural: PREST = 0,85*AC*fCD + AS*fYD fCD = fCK/γC fYD = fYK/γY Capacidade Geotécnica: PR = PL + PP PL = U*L*rL PP = AC*rP rL = 0,8 kgf/cm2; rL é a tensão média de adesão ou atrito lateral entre a estaca e o solo junto ao fuste; rP = 1,5 kgf/cm2; rP é a tensão média da capacidade de carga do solona cota de apoio da ponta da estaca.
Considerando os dados apresentados e o métodopara estimativa da capacidade de carga, é corretoafirmar que a capacidade estrutural (PREST) e acapacidade geotécnica (PR) da estaca, em kgf, sãorespectivamente
Dados: • Solo: CS – argila arenosa; γS = 1,70 tf/m3. • Estaca: Hélice Contínua – escavada; • Comprimento L = 1.200,00 cm; • Diâmetro – Φ = 0,80 m; • Armadura principal: 8φ16.0; • Área AS = 16,0 cm2; • Área AC = 5.020,00 cm2; • Perímetro U = 251,00 cm. • Concreto da Estaca: C-20; fCK = 200,00 kgf/cm2; γC = 1,4. • Aço para o concreto: CA-50B fYK = 5.000 kgf/cm2; γY = 1,15.
Fórmulas: Capacidade Estrutural: PREST = 0,85*AC*fCD + AS*fYD fCD = fCK/γC fYD = fYK/γY Capacidade Geotécnica: PR = PL + PP PL = U*L*rL PP = AC*rP rL = 0,8 kgf/cm2; rL é a tensão média de adesão ou atrito lateral entre a estaca e o solo junto ao fuste; rP = 1,5 kgf/cm2; rP é a tensão média da capacidade de carga do solona cota de apoio da ponta da estaca.
Considerando os dados apresentados e o métodopara estimativa da capacidade de carga, é corretoafirmar que a capacidade estrutural (PREST) e acapacidade geotécnica (PR) da estaca, em kgf, sãorespectivamente
Provas
Questão presente nas seguintes provas
O ensaio de análise granulométrica do solo
está normatizado pela ABNT/NBR 7181 e suas
atualizações. A distribuição granulométrica dos
materiais granulares, areias e pedregulhos, será
obtida pelo processo de peneiramento de uma
amostra de solo, enquanto que, para siltes e argilas
se utiliza o processo de sedimentação. O Sistema
Unificado de Classificação dos solos estabelece alguns
critérios para classificar os solos segundo sua faixa
granulométrica. Considerando tais critérios, assinale a
proposição verdadeira.
Provas
Questão presente nas seguintes provas
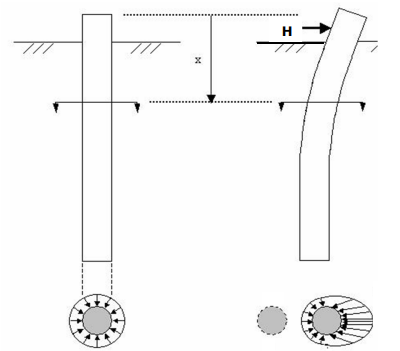
Considere uma estaca de seção circular,escavada, de grande diâmetro, cuja finalidade é aexecução de fundações profundas para sustentaçãode uma ponte. A estaca estará submetida, além doesforço axial, a esforço horizontal oriundo do tráfego.Assim, considerando a figura e os dadosapresentados, calcule a pressão lateral sobre oterreno e o momento em 0,1 e 0,5 do comprimentoda estaca provocado pelo carregamento horizontal, apartir de sua cota de arrasamento (cabeça).
Dados: • H (esforço horizontal) = 0,1MN • d (diâmetro da estaca) = 1,0 m • t (comprimento da estaca) = 9,8 m • Tipo de solo: Areia medianamente compacta
Tabela de relação comprimento (t) x profundidade (z)– coeficientes:
Onde: z é a profundidade em metros; t é o comprimento da estaca em metros a partir de sua extremidade superior; β3 é o coeficiente adimensional de proporcionalidade ao comprimento elástico da estaca para a pressão lateral no terreno; α3 é o coeficiente adimensional de proporcionalidade ao comprimento elástico da estaca para o momento.
Fórmulas: σm = H/d.t (pressão lateral média exercida pela estaca sobre o terreno – MN/m2); σH (z/t) = β3.σm (pressão lateral pontual exercida pela estaca sobre o terreno – MN/m2); M (z/t) = α3.H.t (momento gerado pelo esforço horizontal sobre a estaca – MN.m). Então, os valores das pressões laterais exercidas sobre o terreno e dos momentos na estaca para σH (0,1); σH (0,5) em MN/m2 e M(0,1); M(0,5) em MN.m são, respectivamente,
Dados: • H (esforço horizontal) = 0,1MN • d (diâmetro da estaca) = 1,0 m • t (comprimento da estaca) = 9,8 m • Tipo de solo: Areia medianamente compacta
Tabela de relação comprimento (t) x profundidade (z)– coeficientes:
Onde: z é a profundidade em metros; t é o comprimento da estaca em metros a partir de sua extremidade superior; β3 é o coeficiente adimensional de proporcionalidade ao comprimento elástico da estaca para a pressão lateral no terreno; α3 é o coeficiente adimensional de proporcionalidade ao comprimento elástico da estaca para o momento.
Fórmulas: σm = H/d.t (pressão lateral média exercida pela estaca sobre o terreno – MN/m2); σH (z/t) = β3.σm (pressão lateral pontual exercida pela estaca sobre o terreno – MN/m2); M (z/t) = α3.H.t (momento gerado pelo esforço horizontal sobre a estaca – MN.m). Então, os valores das pressões laterais exercidas sobre o terreno e dos momentos na estaca para σH (0,1); σH (0,5) em MN/m2 e M(0,1); M(0,5) em MN.m são, respectivamente,
Provas
Questão presente nas seguintes provas
Segundo a NBR 14931/2004, o uso adequado
possibilita o reaproveitamento de formas e dos
materiais utilizados para sua construção. No entanto,
em um processo de utilização sucessiva, devem ser
verificadas as características e principalmente a
capacidade resistente da forma e do material que a
constitui. Considerando os critérios estabelecidos
nessa norma, assinale a afirmação verdadeira.
Provas
Questão presente nas seguintes provas
A NBR 14931/2004, estabelece os critérios
para a correta execução de estruturas de concreto
armado. Em seu item 7, estabelecem-se as regras
para o sistema de formas, que compreende as
formas, o escoramento, o cimbramento e os
andaimes, incluindo seus apoios, bem como as
uniões entre os diversos elementos. Sob a
perspectiva do reescoramento, ou seja, os planos de
desforma e escoramentos remanescentes devem
levar em conta os materiais utilizados associados ao
ritmo de construção, tendo em vista o carregamento
decorrente e a capacidade suporte das lajes
anteriores, quando for o caso. A colocação de novas
escoras em posições preestabelecidas e a retirada
dos elementos de um primeiro plano de escoramento
podem reduzir os efeitos do carregamento inicial, do
carregamento subsequente e evitar deformações
excessivas.
Considerando os aspectos envolvidos neste caso, assinale a opção que NÃO corresponde ao estabelecido na NBR 14931/2004.
Considerando os aspectos envolvidos neste caso, assinale a opção que NÃO corresponde ao estabelecido na NBR 14931/2004.
Provas
Questão presente nas seguintes provas
Considerando as regras preconizadas pela
NR 18, em seu item 18.4.2, atente ao seguinte
enunciado:
“As instalações sanitárias, no canteiro de obras, devem:
I. ter portas de acesso que impeçam o devassamento e sejam construídas de modo a manter o resguardo conveniente; II. ter paredes de material resistente e lavável, não podendo ser de madeira; III. ter pisos impermeáveis, laváveis e de acabamento antiderrapante; IV. ter ligações diretas com os locais destinados às refeições; V. ter ventilação e iluminação adequadas; VI. ter instalações elétricas adequadamente protegidas; VII. ter pé-direito mínimo de 2,10 m (dois metros e dez centímetros), ou respeitandose o que determina o Código de Obras do Município da obra; VIII. estar situadas em locais de fácil e seguro acesso, não sendo permitido um deslocamento superior a 150 (cento e cinquenta) metros do posto de trabalho aos gabinetes sanitários, mictórios e lavatórios”.
Estão corretas somente as complementações contidas em
“As instalações sanitárias, no canteiro de obras, devem:
I. ter portas de acesso que impeçam o devassamento e sejam construídas de modo a manter o resguardo conveniente; II. ter paredes de material resistente e lavável, não podendo ser de madeira; III. ter pisos impermeáveis, laváveis e de acabamento antiderrapante; IV. ter ligações diretas com os locais destinados às refeições; V. ter ventilação e iluminação adequadas; VI. ter instalações elétricas adequadamente protegidas; VII. ter pé-direito mínimo de 2,10 m (dois metros e dez centímetros), ou respeitandose o que determina o Código de Obras do Município da obra; VIII. estar situadas em locais de fácil e seguro acesso, não sendo permitido um deslocamento superior a 150 (cento e cinquenta) metros do posto de trabalho aos gabinetes sanitários, mictórios e lavatórios”.
Estão corretas somente as complementações contidas em
Provas
Questão presente nas seguintes provas
Em relação ao Parágrafo 2º, do Artigo 7º da Lei
8.666/93, que estabelece as condições que permitem
a licitação de obras e serviços, é correto afirmar que
as obras e os serviços somente poderão ser licitados
quando
Provas
Questão presente nas seguintes provas
A Lei 8.666/93 estabelece normas gerais sobre
licitações e contratos administrativos pertinentes a
obras, serviços, inclusive de publicidade, compras,
alienações e locações no âmbito dos Poderes da
União, dos Estados, do Distrito Federal e dos
Municípios. Em sua Seção II – Das Definições, Artigo
6º, Inciso IX – encontram- se os principais elementos
que um Projeto Básico deve conter. Dentre esses
elementos encontra(m)-se
Provas
Questão presente nas seguintes provas
A técnica de incidência de alíquotas variadas,
cujo aumento se dá na medida em que se majora a
base de cálculo de impostos é expressamente
prevista na Constituição Federal, quando esta diz que
o Imposto sobre
Provas
Questão presente nas seguintes provas
Segundo a Resolução do COFEN Nº 358/2009,
é correto afirmar que o Processo de Enfermagem
Provas
Questão presente nas seguintes provas
Cadernos
Caderno Container