Foram encontradas 2.969 questões.
Disciplina: Engenharia de Telecomunicações
Banca: CESPE / CEBRASPE
Orgão: Pref. Vitória-ES

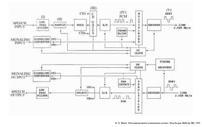
A figura acima ilustra um diagrama de blocos que resume o processo de digitalização e de multiplexação TDM de n sinais de voz para sistemas PDH de telefonia ou transmissão de voz, de acordo com recomendações do CCITT (ITU). Com relação a esse processo e considerando o referido diagrama de blocos, julgue os itens seguintes.
O componente denominado "LOW PASS FILTER", indicado por (I) na figura, tem por função principal a quantização do sinal de voz injetado em sua entrada.
Provas
Disciplina: Engenharia de Telecomunicações
Banca: CESPE / CEBRASPE
Orgão: Pref. Vitória-ES


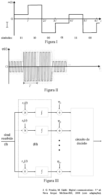
O desempenho da probabilidade de erro de símbolo do sistema detector ilustrado na figura III no caso de o canal de transmissão ser do tipo AWGN, e não Rayleigh, pode ser corretamente ilustrado pela figura a seguir, em que
é a razão entre a energia de bit do sinal recebido e a densidade de potência do ruído AWGN.

Provas
Disciplina: Engenharia de Telecomunicações
Banca: CESPE / CEBRASPE
Orgão: Pref. Vitória-ES


É possível implementar corretamente o diagrama de blocos ilustrado na figura III, substituindo-se os M blocos misturador – integrador indicados por (II), nessa figura, por apenas um único filtro.
Provas
Disciplina: Engenharia de Telecomunicações
Banca: CESPE / CEBRASPE
Orgão: Pref. Vitória-ES


Para que o receptor implemente um detector ótimo, os M blocos misturador – integrador definidos pelos elementos indicados por (II), na figura III, deverão implementar filtros casados.
Provas
Disciplina: Engenharia de Telecomunicações
Banca: CESPE / CEBRASPE
Orgão: Pref. Vitória-ES


O fato de o canal ser do tipo Rayleigh indica que há possibilidade de o sistema descrito sofrer desvanecimento devido a múltiplos percursos. Se o desvanecimento será de pequena ou de grande escala, lento ou rápido, dependerá de outras características do canal, das do sinal transmitido, tais como largura de banda ocupada, e das velocidades de deslocamento do transmissor e do receptor.
Provas
Disciplina: Engenharia de Telecomunicações
Banca: CESPE / CEBRASPE
Orgão: Pref. Vitória-ES


Como o canal é do tipo Rayleigh, o sinal recebido, indicado por (I) na figura III, é imune a distorção por interferência intersimbólica, independentemente de o canal ser do tipo cosseno-levantado.
Provas
Disciplina: Engenharia de Telecomunicações
Banca: CESPE / CEBRASPE
Orgão: Pref. Vitória-ES


De acordo com a teoria de Nyquist, é correto afirmar que a banda ocupada pelo sinal
é maior ou igual a 310 MHz.
Provas
Disciplina: Engenharia de Telecomunicações
Banca: CESPE / CEBRASPE
Orgão: Pref. Vitória-ES



Há inversões de fase no sinal
, o que indica que esse sinal, ao ser amplificado em classe C, provavelmente, será degradado por distorções de amplitude e por intermodulação.
Provas
Disciplina: Engenharia de Telecomunicações
Banca: CESPE / CEBRASPE
Orgão: Pref. Vitória-ES


O sinal modulado
pode ser corretamente representado pelo diagrama de estado-espaço ilustrado a seguir.
Provas
Disciplina: Engenharia de Telecomunicações
Banca: CESPE / CEBRASPE
Orgão: Pref. Vitória-ES


A modulação utilizada para obter
é do tipo QAM.
Provas
Caderno Container