Foram encontradas 379 questões.
Disciplina: TI - Redes de Computadores
Banca: CESPE / CEBRASPE
Orgão: PRODEST-ES
Acerca dos protocolos TCP/IP, julgue o seguinte item.
O IP fragmenta datagramas quando eles precisam passar por redes cujas unidades máximas de transmissão (MTU) são menores que os tamanhos dos datagramas que estejam sendo transmitidos. Um datagrama fragmentado é remontado no destino a partir dos fragmentos. Se um fragmento for perdido, todo o datagrama precisa ser retransmitido, pois o IP não retransmite fragmentos.
Provas

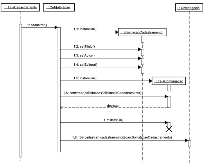
Acerca do diagrama de seqüência usando a UML apresentado acima, julgue o seguinte item.
Na referida interação, dois objetos são criados e um é destruído. O envio de uma das mensagens está condicionado a uma condição de guarda ser satisfeita. A seta pontilhada da instância de TelaConfirmacao para a instância de CntrInteracao identifica o retorno da execução de um método.
Provas
Disciplina: TI - Desenvolvimento de Sistemas
Banca: CESPE / CEBRASPE
Orgão: PRODEST-ES
Acerca do Extreme Programming (XP), julgue o item que se segue.
Constituem práticas recomendadas pelo XP a colocação rápida de uma versão simples em produção, a liberação das novas versões em curtos intervalos de tempo, a programação em duplas, a refatoração (refactor) dos códigos produzidos, a adoção de padrões para a codificação; a integração e o teste contínuos de códigos; a limitação em 40 horas da carga de trabalho semanal.
Provas
Disciplina: TI - Desenvolvimento de Sistemas
Banca: CESPE / CEBRASPE
Orgão: PRODEST-ES
Acerca do Extreme Programming (XP), julgue o item que se segue.
Projetar detalhadamente todo o software antes de iniciar a sua implementação é uma prática recomendada pelo XP. O software deve ser projetado para atender tanto aos requisitos atuais quanto aos potenciais requisitos futuros. Para atingir esse objetivo, são analisados os possíveis cenários de evolução futura e são empregados padrões de projeto para facilitar a manutenção.
Provas
Disciplina: TI - Desenvolvimento de Sistemas
Banca: CESPE / CEBRASPE
Orgão: PRODEST-ES
Acerca do Rational Unified Process (RUP), julgue o seguinte item.
Ao longo das diversas iterações, ocorrem atividades relacionadas às disciplinas de modelagem do negócio, captura dos requisitos, análise, projeto, implementação e teste. O planejamento das iterações ocorre no início do desenvolvimento e não há atividades de planejamento ao longo das iterações. As iterações são realizadas em seqüência e não podem ocorrer em paralelo.
Provas
Disciplina: TI - Gestão e Governança de TI
Banca: CESPE / CEBRASPE
Orgão: PRODEST-ES
Acerca do CMMI, julgue o seguinte item.
No CMMI, as áreas de processo são agrupadas em categorias. Na categoria Engenharia, há as áreas de gerência de configuração, de garantia da qualidade de processo e produto, de medida e análise, de solução técnica. A área de processo Solução Técnica foca os aspectos: da avaliação e da seleção de soluções que satisfaçam aos requisitos; do desenvolvimento de projetos para as soluções; da implementação dos projetos como um produto.
Provas
Considerando os programas aplicativos do ambiente Microsoft Windows, julgue os próximos itens.
No Microsoft PowerPoint 2002, é possível ocultar um slide na apresentação por meio de opção encontrada no menu Apresentações. Após ocultar um slide, não existem meios de mostrá-lo durante uma apresentação sem que a configuração previamente estabelecida seja desfeita.
Provas
No que se refere às normas de qualidade e aos modelos de referência para gerenciamento de processos de tecnologia da informação, julgue os itens que se seguem.
A série ISO 9000 define um conjunto de normas especificamente desenvolvidas para fornecerem um modelo de gestão e desenvolvimento de projetos de software.
Provas
Disciplina: TI - Redes de Computadores
Banca: CESPE / CEBRASPE
Orgão: PRODEST-ES
- Protocolos e ServiçosInternet e EmailIMAP: Internet Message Access Protocol
- Protocolos e ServiçosInternet e EmailPOP3: Post Office Protocol 3
- Protocolos e ServiçosInternet e EmailSMTP: Simple Mail Transfer Protocol
No que se refere a administração de correio eletrônico e serviços Internet, julgue os itens subseqüentes.
Microsoft Outlook Express (OLE) é aplicativo cliente de e-mail que permite a usuários enviar e receber mensagens eletrônicas. Caso o OLE seja utilizado para enviar mensagem a destinatário cujo endereço de correio eletrônico é joao@empresa.com.br com uma cópia oculta para um destinatário de endereço admin@empresa.com.br, é necessário preencher o campo Para com o endereço joao@empresa.com.br e o campo CC com o endereço admin@empresa.com.br.
Provas
Disciplina: TI - Redes de Computadores
Banca: CESPE / CEBRASPE
Orgão: PRODEST-ES
Com relação a tecnologias de rede, acesso à Internet, configurações e operações e serviços de rede, julgue os itens a seguir.
As redes privadas virtuais (VPN – virtual private network) surgiram da necessidade de se utilizarem redes de comunicação não-confiáveis para trafegar informações de forma segura. O Windows XP Professional permite a utilização de VPN para conexões dial-up, apenas.
Provas
Caderno Container