Foram encontradas 50 questões.

Provas

Provas

Provas

Provas
Existem duas aplicações distintas para uso em controle e supervisão. A primeira é conhecida como Sistema Digital de Controle Distribuído (SDCD) e a segunda, como Controle Supervisório e Aquisição de Dados (SCADA).
A esse respeito, analise as afirmativas a seguir.
I - O software supervisório utiliza a representação de objetos estáticos e animados de forma amigável, que, juntos, representam todo o processo de uma planta em uma Interface Homem Máquina (IHM).
II - Para que seja estabelecida a comunicação entre o Controlador Lógico Programável (CLP) e o software de supervisão, é utilizado um driver de comunicação.
III - O sistema Hot-Sandby tem como objetivo permitir que dois servidores de supervisão e controle estejam ativos simultaneamente, mesmo em ocorrência de possível falha de um deles.
IV - A ausência de ferramentas como banco de dados, impressão de relatórios, geração de alarmes e histórico de tendências torna os sistemas de supervisão inapropriados ao operador.
É(São) correta(s) APENAS a(s) afirmativa(s)
Provas
Proposição é toda sentença declarativa que pode ser classificada, unicamente, como verdadeira ou como falsa. Portanto, uma proposição que não possa ser classificada como falsa será verdadeira e vice-versa. Proposições compostas são sentenças formadas por duas ou mais proposições relacionadas por conectivos.

Sejam p e q proposições e ~p e ~q, respectivamente, suas negações. Se p e q são proposições verdadeiras, então é verdadeira a proposição composta.
Provas
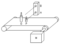
As figuras abaixo ilustram a operação de uma esteira acionada pelo motor M, que transporta garrafas de dois tamanhos (P e G), que sensibilizam dois sensores ópticos (A e B). O processo tem início quando a botoeira L é acionada e é interrompido pela botoeira D. A seleção do tipo de garrafa é feita a partir de uma chave seletora de duas posições (P e G). Assim, caso sejam selecionadas garrafas grandes G, a esteira deverá parar se uma garrafa de tamanho pequeno P for detectada.
Após a retirada manual da garrafa indesejada, o operador deverá religar o sistema em L. Considere que os sensores A e B serão acionados ao mesmo tempo sempre que passar uma garrafa do tipo grande G.

Figura 1 - Ilustração

Figura 2 - Ladder
A partir do que foi exposto, o programa da Figura 2 deve ser completado com o gráfico:
Provas
| A | B | S |
| 0 | 0 | 0 |
| 0 | 1 | 1 |
| 1 | 0 | 1 |
| 1 | 1 | 0 |
Em sistemas automatizados, a utilização de portas lógicas é fundamental para o estudo e o desenvolvimento de lógica de intertravamento.
Dada a tabela verdade acima, informe qual porta lógica está sendo utilizada e como ela pode ser representada em programação ladder no Controlador Lógico Programável (CLP).
Provas
O Foundation Fieldbus é um protocolo que, além de enviar e receber dados, controla dispositivos de forma distribuída no campo. Sua comunicação é digital, bidirecional e multidrop entre dispositivos de automação da planta e sistemas de supervisão.
A esse respeito, é correto afirmar que
Provas
Em um sistema de controle de vazão, um medidor de vazão é colocado entre a descarga da bomba e uma válvula de controle, que atua estrangulando a linha e aumentando a perda de carga. Nesse processo, quando o controlador identifica uma queda na vazão, um sinal é enviado à válvula, que atua diminuindo a perda de carga e regulando sua abertura.
Este é um processo de controle de vazão que
Provas
Caderno Container