Foram encontradas 454 questões.
Considere a peça de madeira da figura.

Um dos problemas que o engenheiro se depara ao construir uma estrutura de madeira é reconhecer os tipos de defeitos que comprometem a resistência, a aparência e a durabilidade. O defeito na peça de madeira apresentado na figura acima é
Provas
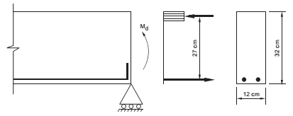
Se o aço da armadura de flexão tiver resistência de cálculo ao escoamento de 434,80 MPa, a área de armadura, em cm2 , é
Provas
Provas
Provas
- Edificações
- Gerenciamento, Planejamento e Controle de Obras
- Materiais de Construção Civil
- Orçamento no Planejamento e Controle de Obras na Engenharia Civil
Provas
- EdificaçõesRevestimento
- Gerenciamento, Planejamento e Controle de Obras
- Orçamento no Planejamento e Controle de Obras na Engenharia Civil
Provas
Uma barra de aço especial, de seção circular com extremidades rosqueadas é utilizada como tirante em uma estrutura metálica. O aço apresenta fy = 242 MPa e fu = 396 MPa.
Dados:
Coeficientes parciais de segurança aplicados às resistências para aço estrutural, pinos e parafusos para as combinações normais das ações:
No estado limite de escoamento ϒa1 = 1,10
No estado limite de ruptura: ϒa2 = 1,35
Se a força de tração de cálculo for 110 kN, a área do tirante, em cm2 é
Provas
Provas
Provas
Provas
Caderno Container