Foram encontradas 100 questões.
Para que o braço AO de um robô seja posicionado, conforme mostrado na figura, o valor para o ângulo !$ \alpha !$ do braço AB deve ser de 20º, de forma que a distância do ponto O até o atuador em B seja de 650mm.

Provas

A água de um canal é retida por uma comporta com largura de 150mm, que é suportada por um pino em A e um rolete em C, e a parede vertical AD é construída no fundo do canal. Assim, se a comporta tem peso desprezível, e o peso específico da água é de um quilograma força por litro, então as reações de apoio horizontais são HA = 81,0kgf e HC = ± 20,25kgf e as reações verticais dos apoios da comporta são VA = 121,5kgf e VC = 0,0kgf.
Provas

O momento de inércia da área da seção transversal da pá da turbina em relação ao eixo y é de 9730,5mm4.
Provas

O volume do sólido de revolução gerado, quando o perfil é girado em torno do eixo y, é de 3.927,0mm3.
Provas

A seção transversal de uma pá de turbina em uma bomba é mostrada, e as coordenadas x e y do centroide do perfil são, respectivamente, 10,0mm e 7,5mm.
Provas
Se uma porta com formato retangular é articulada, ao longo de um eixo, com direção a, situado no plano xz, e é suportada por um cabo que tem uma força de tração F = 100N, então o momento de F em torno da linha a é de 18,86N.m.

Provas
Sabendo-se que
• forças de 3kN e 200N são exercidas nos pontos B e C do rotor principal de um helicóptero, e a força F é exercida no ponto D sobre o rotor da cauda;
• as forças de 3kN são paralelas ao eixo z, as forças de 200N são perpendiculares ao rotor principal e paralelas ao plano xy;
• F é paralela ao eixo y, e α = 45°;
é correto afirmar que o valor de F, para que a componente z do momento em torno do ponto O de todas as forças do rotor seja nulo, deve ser igual a 288N.

Provas
Os cabos CA e CB sofrem um tracionamento de 967,1N e o cabo CD sofre um tracionamento de 3.058,2N para suportar, juntos, a carga de 550 lbf.

Provas
Os pesos W1 e W2, necessários para que a estrutura polia-cabo possa ter a configuração de equilíbrio mostrada, valem, respectivamente, 11,33N e 32,64N.

Provas
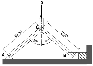
Sabendo-se que a haste CB exerce no bloco B uma força P dirigida ao longo da reta CB e tal que P tem uma componente horizontal de 200N, pode-se concluir que a carga Q é de 261.081 Newtons.

Provas
Caderno Container