Foram encontradas 45 questões.
Ludwig Mies Van der Rohe foi um grande arquiteto alemão considerado um dos mestres da arquitetura Moderna. Seus projetos têm a marca de uma arquitetura que prima pela clareza e aparente simplicidade. Fez o uso do aço e vidro, materiais representativos da era industrial. Uma das suas obras mais famosa está na cidade de Plano em Illinois, nos Estados Unidos e foi construído na década de 40. Quais dessas obras abaixo foi projeto do arquiteto do Mies Van der Rohe:
Provas
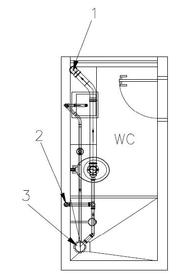
Projeto hidrossánitario de um banheiro residencial no pavimento superior.

Provas
Segundo o Manual Técnico Orçamentário de 2010:
I Créditos Públicos: São operações com base contratual que objetivam transferências financeiras entre pessoas com personalidades jurídicas distintas para um prazo convencionado previamente ajustado
II Multas: as multas também se constituem num tipo de receita pública, de caráter não tributário, constituindo-se em ato de penalidade de natureza pecuniária aplicada pela Administração Pública aos administrados.
III Dívida Ativa: São os créditos Fazenda Pública de natureza tributária ou não tributárias exigíveis em virtude do transcurso do prazo para pagamento.
Provas
A Gestalt ( Psicologia da forma) é uma teoria da psicologia que considera os fenômenos psicológicos como um conjunto autônomo, indivisível e articulado na sua configuração, organização e lei interna. Fundase na idéia de que o todo é mais do que a simples soma de suas partes. Os setes fundamentos básicos da Gestalt muito utilizados por profissionais de designer e arquitetos são:
Provas

O Stonehenge é o mais conhecido monumento histórico:
I É uma estrutura composta, formada por círculos concêntricos de pedras que chegam a ter oito metros de altura e a pesar quase cinquenta toneladas.
II Denominado pelos Saxões de "hanging stones " (pedras suspensas) e referido em escritos medievais como "dança dos gigantes ".
III O mais famoso monumento da préhistória pode ter sido um centro de cura, para onde iam peregrinos há mais de 4.500 anos.
IV Stonehenge, monumento préhistórico está localizado nas planícies de Salisbury, no sul da Inglaterra.
V Segundo dados mais recentes, obtidos, Stonehenge está relacionada com a existência do povoado Durrington. Este povoado formado por algumas dezenas de casas construídas entre 2600 a.C. e 2500 a.C., é considerada a maior aldeia neolítica do Reino Unido.
Provas
A arquitetura sustentável é um processo em permanente evolução que enfoca estratégias inovadoras e tecnologias para melhorar a qualidade de vida. O termo sustentabilidade visa principalmente a questão ambiental. Usufruir do que ela oferece sem causar maiores danos. Uma arquitetura sustentavel visa também:
I Diretrizes projetuais formais e espaciais.
II Eficiência energética na construção e sua manutenção.
III Aproveitamento de estruturas préexistentes.
IV Especificação de materiais utilizados.
V Planejamento territorial envolvendo a proteção de contornos naturais.
Provas
Indique quais são as medidas 1 e 2 da figura acima, segundo a NBR9050:

Provas
Disciplina: Segurança e Saúde no Trabalho (SST)
Banca: Ferreira de Moura
Orgão: UFERSA
Na NBR 9050, a medida mínima para a circulação de um P.C.R (Portadores de Cadeiras de Rodas) como mostra a Planta abaixo é de:

Provas
Segundo as NBR9050 a sinalização tátil direcional deve obedecer as seguintes exigências:
I Ter textura com seção trapezoidal, qualquer que seja o piso adjacente;
II Ser instalada no sentido do deslocamento;
III Ter largura entre 30cm e 70 cm;
IV Ser cromodiferenciada em relação ao piso adjacente;
V Quando o piso adjacente tiver textura, recomenda-se que a sinalização tátil direcional seja lisa.
Provas
Segundo a NBR9050, assinale a alternativa CORRETA:

Provas
Caderno Container