Foram encontradas 50 questões.
As etapas para a preparação de amostras metalográficas, em sequência são
Provas
A microscopia de força atômica é uma técnica de caracterização de materiais capaz de fornecer informações sobre
Provas
Uma técnica eficaz para a revelação de contornos de grão de amostras cerâmicas com alta resistência química é
Provas
A geração da imagem no microscópio de força atômica (AFM) é decorrente da interação entre a ponteira e amostra. São fatores que influenciam, diretament e, na força de interação entre a amostra e a ponteira do microscópio:
Provas
Uma importante substância para o tingimento de polímeros a fim de observar em microscópio eletrônico de varredura é
Provas
Em relação aos regimes de operação do Microscópio de Força Atômica (AFM), tem -se as seguintes afirmações.
I No regime de contato, a viga é mantida a uma distância de décimos de micrometro (µm) da amostra, e a força atuante é repulsiva.
II No regime sem contato, a viga é mantida a uma distância de dezenas de nanômetros (nm) da amostra, e a força atuante é atrativa.
III No regime de contato, a viga é mantida a uma distância de décimos de nanômetros (nm) da amostra, e a força atuante é repulsiva.
IV No regime sem contato, a viga é mantida a uma distância de dezenas de micrometros (nm) da amostra, e a força atuante é repulsiva.
Em relação a esses regimes, estão corretas as afirmações
Provas
Tint Etches são reagentes metalográficos muito utilizados para a identificação de fases presentes em aços. Um reagente dessa classe é
Provas
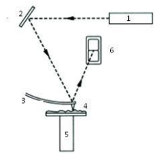
A figura a seguir representa um esquema de um microscópio de força atômica (AFM) moderno. Os números de 1 a 6 indicam os seus componentes.

A opção na qual esses componentes estão corretamente classificados é:
Provas
Para analisar amostras eletricamente isolantes em microscópio eletrônico de varredura, recomenda-se
Provas
O Auxílio-Funeral é um benefício do Plano de Seguridade Social do Servidor Público Federal. Com base na Lei n0 8.112/90, é correto afirmar que o Auxílio-Funeral
Provas
Caderno Container