Foram encontradas 60 questões.
Tem-se dois frascos contendo soluções resultantes de experimentos realizados em laboratório. O frasco A contém ácido clorídrico e o frasco B contém nitrato de chumbo. Qual das alternativas abaixo apresenta, respectivamente, o tratamento correto para cada uma das soluções:
Provas
Dada a tabela abaixo, qual das alternativas associa corretamente a substância presente em resíduos químicos e sua respectiva forma de tratamento e descarte?
| Substâncias | Tratamento e descarte |
| 1 – Ácidos e Bases | A – Os íons devem ser precipitados, filtrados e descartados em aterro |
| 2 – Solventes orgânicos | B – Coletados e enviados para queima em incineradores |
| 3 – Soluções de metais tóxicos | C – Neutralizados e descartados na pia com muita água corrente |
Provas
Dada a seguintes afirmações, referentes à segurança em laboratório, é(são) incorreto(s) o(s) procedimento(s) apresentado(s) em:
I) Adição de água a uma solução concentrada de ácido;
II) Uso de pinça de metal para transporte de cadinho aquecido;
III) Uso de capela para experimentos que envolvem liberação de gases tóxicos
Provas
Dados os símbolos, características e precauções referentes aos riscos de produtos químicos, qual das alternativas abaixo associa corretamente os três itens:

Características:
A – Tóxico;
B – Inflamável;
C – Danoso para o meio ambiente
Precauções:
X) Não descartar no solo, rios ou provocar emissões no ar. Dispor de maneira adequada para coleta;
Y) Evitar contato com o corpo;
Z) Manter longe de fontes de calor, faíscas, centelhas e chamas.
Provas
Pode-se usar um rótulo para identificar os perigos associados ao conteúdo de um frasco de reagente. Tal simbologia de risco do NFPA (National Fire Protection Association), dos EUA, também é conhecida como diagrama de Hommel:

Qual das alternativas abaixo apresenta, respectivamente, as substâncias A, B e C

Provas
Uma solução 4,00.10 – 4 de um composto A apresenta uma absorbância de 0,630 em 238 nm numa cubeta de 1,00 cm de caminho óptico. Uma solução em branco, contendo apenas o solvente, apresentou uma absorbância de 0,030 no mesmo comprimento de onda. A absorbância de uma solução de concentração desconhecida do composto A, no mesmo solvente e usando a mesma cubeta, é de 0,375 em 238 nm. Determine a concentração de A na solução desconhecida:
Provas
Qual a absorbância de uma solução 0,00240 M de uma substância com coeficiente de absortividade molar de 313 M-1 cm-1 numa célula com 2,00 cm de caminho óptico?
Provas
Foi feita uma análise de uma amostra de salmoura (NaCl em solução aquosa). Para isso, transferiu-se uma alíquota de 10,00 mL da amostra para um erlenmeyer e titulou-se com 32,75 mL de uma solução de AgNO3 0,100 mol/L. Qual a quantidade de NaCl (em g/L) na salmoura? (Dados: Na = 23; Cl = 35,5)
Provas
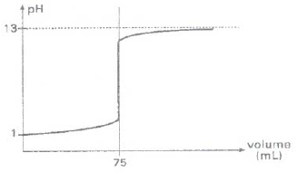
Dada a curva de titulação abaixo e as seguintes afirmações:

I – O ácido pode ser HNO3 1 mol/L
II – A base pode ser NaOH 0,1 mol/L
III – A base pode ser NaOH 1 mol/L
É correto o que se afirma:
Provas
Foram misturados, no mesmo recipiente, água, cloreto de sódio, tetracloreto de carbono e benzeno e verificou-se a formação de duas fases. Para fazer a separação de cada um dos componentes, convém utilizar inicialmente e em seguida:
Provas
Caderno Container