Foram encontradas 60 questões.
Comparando-se uma memória FLASH com uma memória EEPROM, é correto afirmar que:
Provas
Qual das seguintes afirmações está correta, ao se comparar um microcontrolador com um hardware de lógica fixa:
Provas
Na figura 21, é apresentado um sistema microprocessado típico, contendo uma UCP de 8 bits, 2 memórias RAMs e um decodificador 2x4. De acordo com o diagrama em blocos do circuito, as faixas de endereços selecionados para as saídas 0 e 1 do decodificador são, respectivamente, iguais a:

Provas
Um conversor DA de 5 bits possui uma tensão de saída Vs=0,4 V para uma entrada digital igual a 000012. Assim, para uma entrada digital igual a 100012, o novo valor de Vs será:
Provas
Considerando a seguinte subtração no sistema de complemento de 2, o resultado correto da operação é:
111002 - 101112
Provas
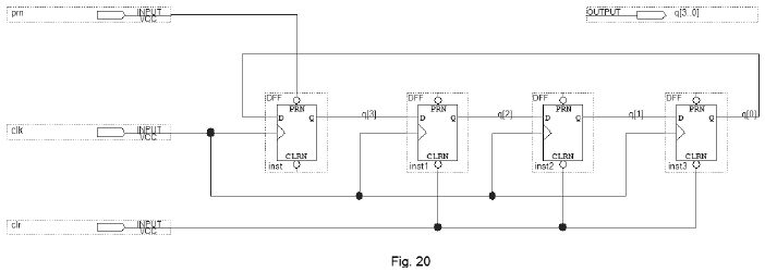
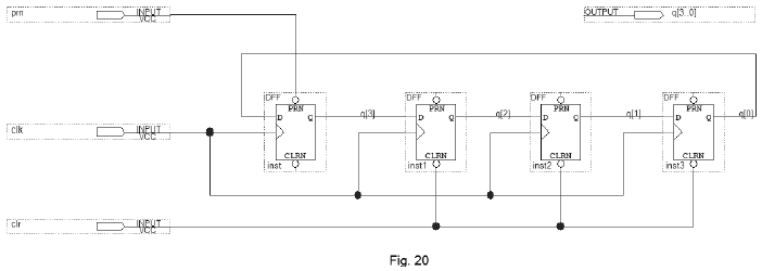
Em relação ao circuito apresentado na figura 20, é correto afirmar que:

Provas
A sequência correta de contagem do circuito da figura 20 é:

Provas
A expressão mínima para o mapa mostrado na figura 18 é:

Provas
Os valores equivalentes em hexadecimal dos decimais 25619 e 7245, e o valor equivalente BCD do decimal 89627 são, respectivamente, iguais a:
Provas
Em relação às técnicas digitais, é correto afirmar que:
Provas
Caderno Container