Foram encontradas 352 questões.
A base de uma escultura é formada por uma placa de latão, uma liga metálica de zinco (Zn) e cobre (Cu). Para minimizar os problemas relacionados à corrosão provocada pela chuva ácida, a placa foi recoberta com uma fina camada de prata (Ag). O recobrimento foi realizado a partir da eletrólise de uma solução aquosa de AgCl, fixando-se a placa de latão no anodo da célula eletrolítica. A voltagem foi ajustada de forma a se obter corrente constante de 10,0 A.
potenciais de redução padrão (E0)
| Semirreação |
E0 (V) |
|
Cu2+ + 2e- !$ \rightarrow !$ 6 Cu |
0,34 |
|
Zn2+ + 2e- !$ \rightarrow !$ 6 Zn |
-0,76 |
Considerando as informações acima e assumindo que a constante de Faraday seja igual a 96.500 C/mol e que os únicos produtos formados nos eletrodos da célula eletrolítica sejam O2(g) e Ag(s), julgue o item a seguir.
Durante a eletrólise da solução de AgCl, o pH da solução aumenta à medida que a reação se processa.
Provas
A base de uma escultura é formada por uma placa de latão, uma liga metálica de zinco (Zn) e cobre (Cu). Para minimizar os problemas relacionados à corrosão provocada pela chuva ácida, a placa foi recoberta com uma fina camada de prata (Ag). O recobrimento foi realizado a partir da eletrólise de uma solução aquosa de AgCl, fixando-se a placa de latão no anodo da célula eletrolítica. A voltagem foi ajustada de forma a se obter corrente constante de 10,0 A.
potenciais de redução padrão (E0)
| Semirreação |
E0 (V) |
|
Cu2+ + 2e- !$ \rightarrow !$ 6 Cu |
0,34 |
|
Zn2+ + 2e- !$ \rightarrow !$ 6 Zn |
-0,76 |
Considerando as informações acima e assumindo que a constante de Faraday seja igual a 96.500 C/mol e que os únicos produtos formados nos eletrodos da célula eletrolítica sejam O2(g) e Ag(s), julgue o item a seguir.
Na eletrólise usada para o recobrimento, foram formados mais mols de O2(g) que de Ag(s).
Provas
A base de uma escultura é formada por uma placa de latão, uma liga metálica de zinco (Zn) e cobre (Cu). Para minimizar os problemas relacionados à corrosão provocada pela chuva ácida, a placa foi recoberta com uma fina camada de prata (Ag). O recobrimento foi realizado a partir da eletrólise de uma solução aquosa de AgCl, fixando-se a placa de latão no anodo da célula eletrolítica. A voltagem foi ajustada de forma a se obter corrente constante de 10,0 A.
potenciais de redução padrão (E0)
| Semirreação |
E0 (V) |
|
Cu2+ + 2e- !$ \rightarrow !$ 6 Cu |
0,34 |
|
Zn2+ + 2e- !$ \rightarrow !$ 6 Zn |
-0,76 |
Considerando as informações acima e assumindo que a constante de Faraday seja igual a 96.500 C/mol e que os únicos produtos formados nos eletrodos da célula eletrolítica sejam O2(g) e Ag(s), julgue o item a seguir.
Átomos de Cu-63 e de Zn-65 têm a mesma quantidade de nêutrons.
Provas
A base de uma escultura é formada por uma placa de latão, uma liga metálica de zinco (Zn) e cobre (Cu). Para minimizar os problemas relacionados à corrosão provocada pela chuva ácida, a placa foi recoberta com uma fina camada de prata (Ag). O recobrimento foi realizado a partir da eletrólise de uma solução aquosa de AgCl, fixando-se a placa de latão no anodo da célula eletrolítica. A voltagem foi ajustada de forma a se obter corrente constante de 10,0 A.
potenciais de redução padrão (E0)
| Semirreação |
E0 (V) |
|
Cu2+ + 2e- !$ \rightarrow !$ 6 Cu |
0,34 |
|
Zn2+ + 2e- !$ \rightarrow !$ 6 Zn |
-0,76 |
Considerando as informações acima e assumindo que a constante de Faraday seja igual a 96.500 C/mol e que os únicos produtos formados nos eletrodos da célula eletrolítica sejam O2(g) e Ag(s), julgue o item a seguir.
Na eletrólise descrita, o tempo necessário para a deposição de 10,79 g de Ag é superior a 600 s.
Provas
A base de uma escultura é formada por uma placa de latão, uma liga metálica de zinco (Zn) e cobre (Cu). Para minimizar os problemas relacionados à corrosão provocada pela chuva ácida, a placa foi recoberta com uma fina camada de prata (Ag). O recobrimento foi realizado a partir da eletrólise de uma solução aquosa de AgCl, fixando-se a placa de latão no anodo da célula eletrolítica. A voltagem foi ajustada de forma a se obter corrente constante de 10,0 A.
potenciais de redução padrão (E0)
| Semirreação |
E0 (V) |
|
Cu2+ + 2e- !$ \rightarrow !$ 6 Cu |
0,34 |
|
Zn2+ + 2e- !$ \rightarrow !$ 6 Zn |
-0,76 |
Considerando as informações acima e assumindo que a constante de Faraday seja igual a 96.500 C/mol e que os únicos produtos formados nos eletrodos da célula eletrolítica sejam O2(g) e Ag(s), julgue o item a seguir.
Se, por engano, a placa de latão fosse fixada no catodo da célula eletrolítica, então, durante a eletrólise, partículas de Zn metálico se desprenderiam da placa, e o Cu seria oxidado a Cu2+.
Provas

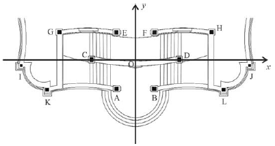
Na figura acima, extraída do texto Congonhas do Campo, de Robert C. Smith e Marcel Gautherot, um sistema de coordenadas cartesianas ortogonais xOy indica as posições das doze estátuas dos profetas esculpidas por Aleijadinho na entrada do santuário Bom Jesus de Matosinhos. As estátuas, identificadas pelas letras de A a L, estão dispostas simetricamente em relação ao eixo Oy e, na figura, também estão representados as escadarias e o adro em frente ao santuário. Na tabela a seguir, cada um dos pontos de A a L está associado à estátua de um profeta e são apresentadas as coordenadas de alguns desses pontos no plano xOy.

A partir dessas informações, desconsiderando as dimensões das esculturas e assumindo que todas estejam no mesmo plano horizontal, julgue o item a seguir.
É igual a 7,5 unidades a área do triângulo de vértices nos pontos correspondentes às estátuas de Ezequiel, Oseias e Joel.
Provas

Na figura acima, extraída do texto Congonhas do Campo, de Robert C. Smith e Marcel Gautherot, um sistema de coordenadas cartesianas ortogonais xOy indica as posições das doze estátuas dos profetas esculpidas por Aleijadinho na entrada do santuário Bom Jesus de Matosinhos. As estátuas, identificadas pelas letras de A a L, estão dispostas simetricamente em relação ao eixo Oy e, na figura, também estão representados as escadarias e o adro em frente ao santuário. Na tabela a seguir, cada um dos pontos de A a L está associado à estátua de um profeta e são apresentadas as coordenadas de alguns desses pontos no plano xOy.

A partir dessas informações, desconsiderando as dimensões das esculturas e assumindo que todas estejam no mesmo plano horizontal, julgue o item a seguir.
Se os pontos A, B, C e D pertencem a uma parábola de equação !$ y=ax^2+bx+c !$, então !$ a > b > c !$.
Provas

Na figura acima, extraída do texto Congonhas do Campo, de Robert C. Smith e Marcel Gautherot, um sistema de coordenadas cartesianas ortogonais xOy indica as posições das doze estátuas dos profetas esculpidas por Aleijadinho na entrada do santuário Bom Jesus de Matosinhos. As estátuas, identificadas pelas letras de A a L, estão dispostas simetricamente em relação ao eixo Oy e, na figura, também estão representados as escadarias e o adro em frente ao santuário. Na tabela a seguir, cada um dos pontos de A a L está associado à estátua de um profeta e são apresentadas as coordenadas de alguns desses pontos no plano xOy.

A partir dessas informações, desconsiderando as dimensões das esculturas e assumindo que todas estejam no mesmo plano horizontal, julgue o item a seguir.
Nesse sistema de coordenadas, a distância entre a estátua de Jeremias e a de Jonas é inferior a 11 unidades de comprimento.
Provas

Na figura acima, extraída do texto Congonhas do Campo, de Robert C. Smith e Marcel Gautherot, um sistema de coordenadas cartesianas ortogonais xOy indica as posições das doze estátuas dos profetas esculpidas por Aleijadinho na entrada do santuário Bom Jesus de Matosinhos. As estátuas, identificadas pelas letras de A a L, estão dispostas simetricamente em relação ao eixo Oy e, na figura, também estão representados as escadarias e o adro em frente ao santuário. Na tabela a seguir, cada um dos pontos de A a L está associado à estátua de um profeta e são apresentadas as coordenadas de alguns desses pontos no plano xOy.

A partir dessas informações, desconsiderando as dimensões das esculturas e assumindo que todas estejam no mesmo plano horizontal, julgue o item a seguir.
A equação correspondente à reta que passa pelas estátuas de Baruch e de Daniel é !$ y = 1,5x + 4 !$.
Provas

Na figura acima, extraída do texto Congonhas do Campo, de Robert C. Smith e Marcel Gautherot, um sistema de coordenadas cartesianas ortogonais xOy indica as posições das doze estátuas dos profetas esculpidas por Aleijadinho na entrada do santuário Bom Jesus de Matosinhos. As estátuas, identificadas pelas letras de A a L, estão dispostas simetricamente em relação ao eixo Oy e, na figura, também estão representados as escadarias e o adro em frente ao santuário. Na tabela a seguir, cada um dos pontos de A a L está associado à estátua de um profeta e são apresentadas as coordenadas de alguns desses pontos no plano xOy.

A partir dessas informações, desconsiderando as dimensões das esculturas e assumindo que todas estejam no mesmo plano horizontal, julgue o item a seguir.
A estátua do profeta Naum está localizada no ponto de coordenadas (10, 1).
Provas
Caderno Container