Foram encontradas 810 questões.
Para desenvolver um projeto de iluminação de um
determinado ambiente, o projetista deve conhecer o nível de
iluminância adequado para a tarefa a ser executada naquele
ambiente. A iluminância é
Provas
Questão presente nas seguintes provas
A corrente de carga do sistema de distribuição em 127V da figura apresentada a seguir é 20 A, o fator de correção de temperatura é 0,8 e o fator de correção de agrupamento é 1,0.

A tabela a seguir especifica, para o método de instalação escolhido, as capacidades de condução de corrente de diferentes condutores.
| Seção em [mm2] | Capacidade de corrente [A] |
|---|---|
| 1,5 | 17,5 |
| 2,5 | 24 |
| 4 | 32 |
| 6 | 41 |
| 10 | 57 |
Qual é o dimensionamento mais econômico e que atende as normas de projeto de sistemas de distribuição da seção dos condutores, pelo critério da capacidade de corrente, e do disjuntor de proteção contra sobrecarga?
Provas
Questão presente nas seguintes provas
O circuito lógico combinatorial apresentado na figura a seguir
foi construído a partir de 4 portas lógicas NÃO-E (NAND):
Com base nesse circuito, assinale a alternativa correta.
Com base nesse circuito, assinale a alternativa correta.
Provas
Questão presente nas seguintes provas
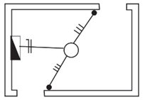
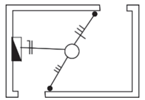
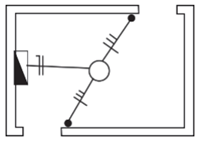
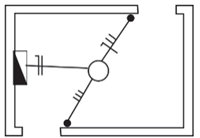
Observe a figura a seguir:
Assinale o esquema da planta baixa que corresponde ao circuito da figura apresentada.
Assinale o esquema da planta baixa que corresponde ao circuito da figura apresentada.
Provas
Questão presente nas seguintes provas
Para fins tarifários de energia elétrica em ambiente de
contratação regulada, os consumidores são divididos em 2
grupos: o grupo de baixa tensão (BT), para consumidores
conectados à rede em tensões menores do que 2,3kV, e o
grupo de alta tensão (AT), para consumidores conectados à
rede em tensões superiores à 2,3kV. A tarifa do grupo de BT
varia com
Provas
Questão presente nas seguintes provas
O circuito equivalente de um gerador síncrono aterrado por
meio de um reator é apresentado na figura a seguir:
Em uma situação de carga desequilibrada, por exemplo em uma condição de falta, as correntes fasoriais do estator do gerador Ia, Ib e Ic podem ser decompostas em suas componentes simétricas, ou seja, nas correntes fasoriais de sequência positiva, Ia1, Ib1 e Ic1, nas correntes fasoriais de sequência negativa Ia2, Ib2 e Ic2 e nas correntes de sequência zero Ia0, Ib0 e Ic0. É correto afirmar que a corrente que circula na impedância Zn de aterramento é igual a:
Em uma situação de carga desequilibrada, por exemplo em uma condição de falta, as correntes fasoriais do estator do gerador Ia, Ib e Ic podem ser decompostas em suas componentes simétricas, ou seja, nas correntes fasoriais de sequência positiva, Ia1, Ib1 e Ic1, nas correntes fasoriais de sequência negativa Ia2, Ib2 e Ic2 e nas correntes de sequência zero Ia0, Ib0 e Ic0. É correto afirmar que a corrente que circula na impedância Zn de aterramento é igual a:
Provas
Questão presente nas seguintes provas
Disjuntores somente magnéticos são utilizados para proteção
contra
Provas
Questão presente nas seguintes provas
Observe a imagem a seguir:
O dispositivo mostrado na imagem é
O dispositivo mostrado na imagem é
Provas
Questão presente nas seguintes provas
Em acordo com o que está definido na Lei de Licitações e
Contratos Administrativos, Lei nº 14.133 de 1º de abril de
2021, o projeto executivo é
Provas
Questão presente nas seguintes provas
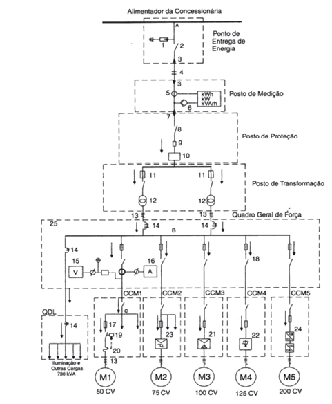
A figura a seguir apresenta o diagrama unifilar de uma instalação elétrica industrial:
Cada elemento neste diagrama está identificado com um número. Considere a lista de equipamentos:
I. transformador de potência;
II. transformador de potencial;
III. cabo de energia isolado classe 15 kV;
IV. disjuntor de baixa tensão.
Estes equipamentos estão identificados na figura, respectivamente, pelos números:
Cada elemento neste diagrama está identificado com um número. Considere a lista de equipamentos:
I. transformador de potência;
II. transformador de potencial;
III. cabo de energia isolado classe 15 kV;
IV. disjuntor de baixa tensão.
Estes equipamentos estão identificados na figura, respectivamente, pelos números:
Provas
Questão presente nas seguintes provas
Cadernos
Caderno Container