Foram encontradas 3.470 questões.
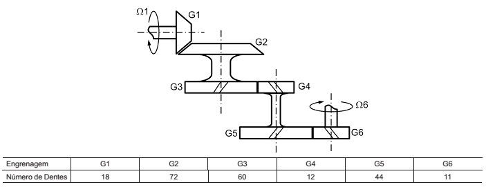
A Figura abaixo representa um arranjo de engrenagens onde um torque é fornecido ao eixo da engrenagem G1.

Nesse arranjo de engrenagens, a razão Ω6/Ω1 entre as velocidades é
Provas
Provas
Em uma oficina mecânica o técnico recebeu a tarefa de elaborar o desenho de uma peça que deveria ser cortada em toda a sua extensão por mais de um plano de corte.
Dependendo da forma particular da peça e dos detalhes a serem mostrados, o tipo de corte a ser representado será
Provas
Considere a Figura abaixo:

No arranjo de engrenagens da Figura, a razão entre o torque que equilibra a massa m, presa à extremidade da barra de massa desprezível e de comprimento L = 1 m, e o peso P da mesma massa, na posição mostrada, é
Provas
Uma viga engastada em uma de suas extremidades e livre na outra é solicitada por uma força F, concentrada no meio de seu comprimento.
Se a distância entre as extremidades da viga é L, o momento fletor atuante na extremidade engastada é calculado pela expressão
Provas
Provas
Provas
Dado calor específico do ouro: 130 J kg-1 K-1
Provas
Os mancais são lubrificados por óleo ou graxa. Os fatores que influem na escolha do lubrificante são as condições de trabalho e o método de aplicação do óleo.

A Figura acima representa o método de aplicação de óleo para lubrificação
Provas
Considere o micrômetro para medidas entre 0 e 1 polegada, com precisão de 0,0001 polegada, representado na Figura abaixo.

Na escala desse micrômetro, a medida indicada, em polegadas, é
Provas
Caderno Container