Foram encontradas 1.774 questões.
Com base no Decreto-lei n.º 227/1967, que dá nova redação ao Código de Minas, julgue os itens subsequentes.
No exercício das atividades de mineração, o minerador tem, entre outras, a responsabilidade pela compensação dos impactos ambientais causados ao bem-estar das comunidades envolvidas.
Provas
No que se refere à política de governança da administração pública federal direta, autárquica e fundacional, julgue os itens a seguir.
A promoção da integração dos serviços públicos é diretriz da governança pública e se destina, em especial, aos serviços prestados por meio eletrônico.
Provas

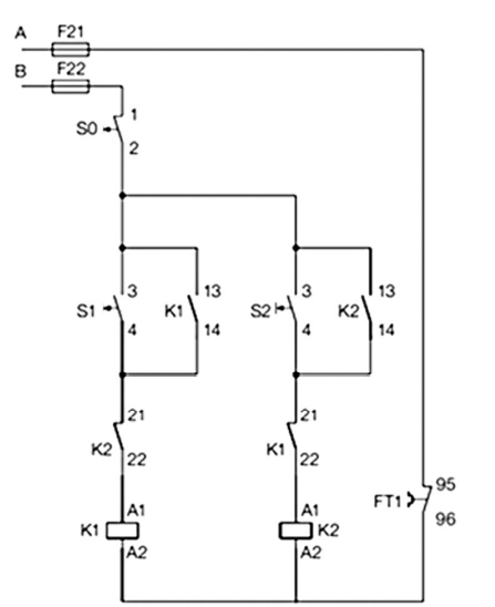
Com base no diagrama de comando para partida de motor de indução, acima apresentado, julgue os itens a seguir.
O diagrama apresentado corresponde a um esquema de acionamento que viabiliza a inversão do sentido do giro sem intertravamento.
Provas
No que se refere à política de governança da administração pública federal direta, autárquica e fundacional, julgue os itens a seguir.
A integridade constitui tanto um princípio da governança pública quanto um mecanismo para o seu exercício.
Provas
De acordo com a Lei n.º 13.848/2019, julgue os itens seguintes.
Ainda que entenda pela não edição de determinado ato normativo, a ANM deverá indicar os pressupostos de fato e de direito que determinam a sua decisão.
Provas

Com base no diagrama de comando para partida de motor de indução, acima apresentado, julgue os itens a seguir.
Na atual condição de funcionamento, o acionamento da botoeira S2 secciona a alimentação da bobina do contator K1.
Provas
No que se refere à política de governança da administração pública federal direta, autárquica e fundacional, julgue os itens a seguir.
Como parte da sua política de governança, os órgãos e as entidades integrantes da administração pública federal direta, autárquica e fundacional devem criar comitês internos de governança e instituir políticas de integridade.
Provas

Com base no diagrama de comando para partida de motor de indução, acima apresentado, julgue os itens a seguir.
O diagrama apresentado pode ser aplicado de modo seguro para acionamento de dois motores de forma não simultânea.
Provas
- Inteligência ArtificialMachine LearningAvaliação de Modelos
- Inteligência ArtificialMachine LearningTipos de AprendizadoNão Supervisionado
Julgue os itens a seguir, referentes a algoritmos de aprendizado de máquina.
O algoritmo K-means garante a otimização dos clusters, independentemente da inicialização dos centroides, desde que a métrica de distância utilizada seja euclidiana, e os dados estejam em um espaço vetorial de baixa dimensionalidade.
Provas
De acordo com a Lei de Acesso à Informação e a Lei Geral de Proteção de Dados Pessoais (LGPD), julgue os próximos itens.
Segundo a Lei de Acesso à Informação, para o acesso a informações de interesse público, o meio de identificação do requerente não pode conter exigências que inviabilizem a solicitação, bem como são vedadas quaisquer exigências relativas aos motivos determinantes do pedido de acesso à informação apresentado.
Provas
Caderno Container