Foram encontradas 120 questões.

Provas
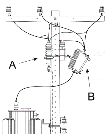
A figura abaixo mostra a visualização lateral de um poste convencional, que conecta a rede elétrica a um transformador.

Assinale a alternativa que apresenta os dois elementos (A e B), indicados na figura, respectivamente.
Provas
Qual item do Painel de Controle do Windows 10 em português permite associar um tipo de arquivo ou protocolo a um programa específico?
Provas
O MS Excel do Office 365 em português permite que o usuário defina alertas de erros quando ocorrer a inserção de dados inválidos.
Qual recurso do MS Excel contém esta funcionalidade?
Provas
Assinale a alternativa que contém uma forma válida de desativar aplicativos marcados para iniciar junto com o Windows 10 Pro em português.
Provas
Qual guia do gerenciador de tarefas do Windows 10 Pro em português permite ao usuário aferir informações ao longo do tempo, como tempo de CPU, rede e outros recursos dos softwares do usuário atual?
Provas
Uma pessoa perdeu 1/5 do dinheiro que possuía. Após isto ganhou R$ 280,00 e ficou com 90% do que possuía inicialmente.
Logo, o valor que essa pessoa possuía inicialmente é:
Provas
Para organizar a festa de fim de ano de uma empresa que conta com 10 funcionários homens e 12 funcionárias mulheres, deve ser escolhida, entre os 22 funcionários da empresa, uma comissão formada por três mulheres e dois homens.
De quantas maneiras diferentes é possível fazer essa escolha?
Provas
Em uma cidade há duas revistas em circulação. A revista A é publicada a cada 40 dias e a revista B é publicada a cada 60 dias.
Se as duas revistas são publicadas simultaneamente no dia de hoje, em quantos dias, no mínimo, as duas revistas voltarão a ser publicadas simultaneamente?
Provas
Se 15 pessoas gravam 180 fotos na nuvem a cada 4 horas, então quantas fotos 80 pessoas gravam a cada 12 horas?
Provas
Caderno Container