Foram encontradas 120 questões.

Considere que a figura acima ilustra uma ferramenta de plaina representada por uma cunha feita de aço rápido que está sendo utilizada para usinar uma barra chata de latão 70/30. Com relação a essa usinagem e aos materiais e ferramentas usados nesse processo, julgue os próximos itens.
O ângulo Y é chamado de ângulo da cunha e deve ter um valor mais aberto (65o) para corte dos materiais mais duros.
Provas

Considere que a figura acima ilustra uma ferramenta de plaina representada por uma cunha feita de aço rápido que está sendo utilizada para usinar uma barra chata de latão 70/30. Com relação a essa usinagem e aos materiais e ferramentas usados nesse processo, julgue os próximos itens.
O ângulo X é chamado de ângulo de folga e serve para eliminar o atrito entre o topo da ferramenta e o material da peça.
Provas

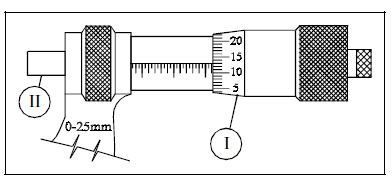
A figura acima apresenta um micrômetro utilizado para medições na faixa de espessuras de 0 mm a 25 mm. Foram feitas algumas medições para determinar a espessura de chapas. Com referência ao projeto do micrômetro e às medições realizadas, julgue os itens a seguir.
A catraca do micrômetro assegura uma pressão de medição constante.
Provas

A figura acima apresenta um micrômetro utilizado para medições na faixa de espessuras de 0 mm a 25 mm. Foram feitas algumas medições para determinar a espessura de chapas. Com referência ao projeto do micrômetro e às medições realizadas, julgue os itens a seguir.
O fuso do micrômetro está indicado pelo algarismo II.
Provas

A figura acima apresenta um micrômetro utilizado para medições na faixa de espessuras de 0 mm a 25 mm. Foram feitas algumas medições para determinar a espessura de chapas. Com referência ao projeto do micrômetro e às medições realizadas, julgue os itens a seguir.
A resolução desse micrômetro é de 0,1 mm.
Provas

A figura acima apresenta um micrômetro utilizado para medições na faixa de espessuras de 0 mm a 25 mm. Foram feitas algumas medições para determinar a espessura de chapas. Com referência ao projeto do micrômetro e às medições realizadas, julgue os itens a seguir.
O algarismo I corresponde ao tambor do micrômetro.
Provas

A figura acima apresenta um micrômetro utilizado para medições na faixa de espessuras de 0 mm a 25 mm. Foram feitas algumas medições para determinar a espessura de chapas. Com referência ao projeto do micrômetro e às medições realizadas, julgue os itens a seguir.
O valor da medida feita foi de 16,63 mm.
Provas

O desenho acima é a representação de uma vista em corte de um carretel de máquina. Nele estão assinalados o dimensionamento e as tolerâncias que deverão ser seguidas na usinagem do carretel. Com relação a essas informações e ao contexto da usinagem, julgue o seguinte item.
Os raios de arredondamento entre os flanges e o eixo do carretel são de usinagem facultativa, podendo ficar no estado em que chegaram da fundição.
Provas

O desenho acima refere-se a uma soldagem que será feita em chapas cujo material é o ASTM A36. O eletrodo selecionado é consumível e o gás de proteção da poça de fusão escolhido foi o CO2. No contexto dessa soldagem, julgue os itens subseqüentes.
O eletrodo consumível que vai ser usado tem um limite de resistência à tração de 70.000 psi.
Provas

O desenho acima refere-se a uma soldagem que será feita em chapas cujo material é o ASTM A36. O eletrodo selecionado é consumível e o gás de proteção da poça de fusão escolhido foi o CO2. No contexto dessa soldagem, julgue os itens subseqüentes.
O aço A36 classificado pela norma norte-americana ASTM é um aço-carbono comum equivalente ao ABNT 1025.
Provas
Caderno Container