Foram encontradas 60 questões.
Em relação ao motor Diesel de quatro tempos, assinale a alternativa correta.
Provas
Nos ensaios de longa duração para avaliar a vida das ferramentas de usinagem obtêm-se as chamadas “curvas de vida da ferramenta”. Considere as três curvas indicadas a seguir, cada uma delas corresponde tipicamente a um tipo diferente de material de ferramenta.
Vida de ferramentas para três materiais de ferramenta

Assinale a alternativa que relaciona corretamente os materiais das ferramentas com as curvas numeradas da figura acima.
Provas
esportivo do mundo.
(I) Construção inadequada de acordo com a norma padrão.
( ) “[...] está a criação de zonas de exclusão aéreas,[...]”
( ) “Depois vieram a Copa das Confederações, em junho de 2013,[...]”
Provas
Em uma instalação industrial, um ventilador, de potência H, é usado em determinada rotação n1, produzindo uma vazão Q1 e uma pressão P1. Deseja-se aumentar a vazão para Q2, alterando-se a velocidade do mesmo ventilador. A potência consumida para gerar Q1 é H1 e a H1/H = 0,125. Qual será a maior razão Q2/Q1 possível?
Provas
A figura abaixo representa uma fonte suspensa, composta por duas cubas, duas hastes e um sistema de bombeamento. As hastes são concêntricas e estão soldadas entre si e, cada uma, à borda de uma das cubas, por meio de braços radiais, que não foram representados. Há um furo cilíndrico que atravessa as duas hastes e serve de passagem para a água bombeada de baixo para cima, a partir da cuba inferior. A água jorra por furos radiais à haste superior, escorre para a cuba superior e, em seguida, transborda para a cuba inferior. O ciclo se repete sem perda de água. Conforme indicado na figura, a haste superior tem área total A1 = 300mm2 e a haste inferior tem área total A2 = 200mm2. L1 = L2 = 300mm e o módulo de elasticidade das hastes é E = 200GPa. Considerando-se que V1 = 1000l, V2 = 1500l e a massa específica da água é 1 kg/dm3, sendo a massa de cada cuba igual a 0,4 vezes a massa da água que comporta. Cada cuba é, idealmente, rígida e contém o volume V1 ou V2 indicado, permanentemente. Desprezando-se o peso das hastes, calcule as distâncias (d1 e d2) que cada cuba descerá contada a partir da posição inicial, quando a água ainda não foi introduzida na fonte.
(Considere: g = 10ms–2.)
Fonte suspensa

Assinale a alternativa que apresenta a opção correta.
Provas
Provas
II. ainda que;
III. conquanto;
IV. assim como.
Provas
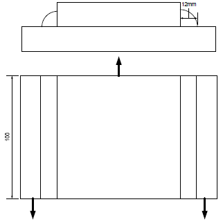
A figura abaixo representa duas chapas de aço com espessura de 12 mm, soldadas através de dois filetes convexos. Sobre as chapas atuam três forças indicadas por setas. O sistema está em equilíbrio estático. As chapas têm larguras de 50 e 70 mm. A largura de cada filete é 12 mm e o comprimento 100 mm. O aço da chapa superior tem limite de escoamento de 210 MPa e o da chapa inferior, 350 MPa. O metal da solda tem limite de escoamento de 320 MPa. O limite de escoamento ao cisalhamento de cada material é sessenta por cento do limite de escoamento à tração e a união deve ser dimensionada com fator de segurança 2,0 sobre o limite de escoamento, à tração ou ao cisalhamento, conforme for o caso.
Duas placas soldadas

Qual o valor limite da força aplicada à chapa superior, para que a união permaneça segura?
Provas
Uma máquina de Carnot recebe 2800J por ciclo de uma fonte a 527ºC e cede calor a uma fonte fria a 127º. O rendimento, o trabalho realizado e a quantidade de calor cedida à fonte fria, por ciclo, são, respectivamente,
Provas
(2) Predicativo
(3) Objeto direto
(4) Objeto indireto
( ) “Fui levá-lo ao Galeão, [...]” (1º§)
( ) “De repente o aeroporto ficou vazio.” (4º§)
( ) “A vista da pessoa humana lhe dá prazer.” (2º§)
Provas
Caderno Container