Foram encontradas 40 questões.
A correlação amostral mede a intensidade e a direção da relação linear entre as variáveis x e y e é representada pela letra r. Sobre as propriedades da correlação, marque V para as afirmativas verdadeiras e F para as falsas.
( ) A correlação amostral utiliza uma distinção entre variável explanatória e variável resposta.
( ) A correlação amostral exige que ambas as variáveis sejam quantitativas, de modo que tem sentido efetuar os cálculos exigidos pela fórmula de r.
( ) A correlação amostral não se baseia nos valores padronizados da observação, portanto r não varia quando são mudadas as unidades de x, de y ou de ambos.
( ) A correlação amostral sofre forte influência de algumas observações discrepantes, tal como a média e o desvio padrão.
( ) A correlação amostral não é uma descrição completa dos dados de duas variáveis, mesmo quando a relação entre as variáveis é linear.
Assinale a sequência correta.
Provas
A manutenção em materiais e equipamentos elétricos em subestações é medida para garantir a continuidade de funcionamento de um sistema elétrico. Para a realização dessa atividade, é necessária a utilização de equipamentos específicos. Sobre o tema, assinale a afirmativa correta.
Provas
O vetor posição de uma partícula em movimento sob a ação de um campo elétrico é dado por r(t) = 3 cos t i + 3 sen t j + t2 k e a velocidade v da partícula para qualquer instante t é dada por v = dr/dt. Assinale a alternativa que apresenta, respectivamente, as coordenadas do vetor posição e do vetor velocidade no instante !$ t = \pi !$.
Provas
Na proteção contra choques elétricos, a NBR 5410/2005 especifica algumas medidas que visam garantir a segurança das pessoas e animais. Nesse contexto, a 1ª coluna apresenta dois tipos de proteção e a 2ª coluna, exemplos de proteção de cada tipo. Numere a 2ª coluna de acordo com a 1ª.
1 – Proteção básica
2 – Proteção supletiva
( ) Uso de barreira ou invólucro.
( ) Isolação suplementar.
( ) Equipotencialização e seccionamento automático da alimentação.
( ) Isolação básica ou separação básica.
( ) Separação elétrica.
( ) Limitação de tensão.
Marque a sequência correta.
Provas
No cálculo da queda de tensão em circuitos terminais monofásicos, é usual utilizar-se a expressão !$ \Delta V \% = { \large 2 ρ \sum P_i × l_i \over S × V^2} × 100 !$,
sendo: !$ ρ !$ – resistividade do cobre !$ [Ω .mm^2/m] !$;
!$ P_i !$ – potência ativa da carga !$ i !$ !$ [W] !$;
!$ li !$ – comprimento do circuito desde a carga !$ i !$ até o quadro terminal !$ [m] !$;
!$ \Delta V \% !$ – queda de tensão percentual;
!$ V !$ – tensão do circuito !$ [V] !$;
!$ S !$ – seção do condutor !$ [mm^2] !$.
A partir das informações, pode-se afirmar que a fórmula é válida
Provas
O objetivo da Estatística é proporcionar conhecimento a partir de um conjunto de dados. São utilizadas medidas características de centro e de variabilidade para resumir o conjunto de dados. Considerando a média como uma medida de centro, assinale a afirmativa correta.
Provas
Analise o circuito elétrico de corrente alternada da figura abaixo em regime permanente.

A partir das informações do circuito, assinale a afirmativa INCORRETA.
Provas
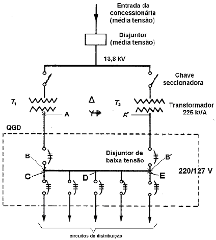
A figura abaixo mostra o diagrama unifilar da Subestação de entrada de uma unidade consumidora atendida em média tensão.

Dados:
- Potência de cada transformador: 225 kVA (os dois transformadores são iguais)
- Tensão primária (MT): 13,8 kV
- Tensão secundária (BT): 220/127 V
- Impedância percentual do trafo (Z): 5%
- Conexão do trafo: !$ \Delta - Y !$ aterrado
- IN: 590,5 A (corrente nominal do transformador, lado BT)
- Os pontos C, D (centro do barramento) e E estão nos circuitos de distribuição, próximos ao barramento. Desconsiderar as impedâncias entre o barramento e esses pontos.
Resistência e reatância
| R [m!$ \Omega !$] | X [m!$ \Omega !$] | |
| Transformador | 2,15 | 10,5 |
| Cabos (A-B) | 0,35 | 1,0 |
| Cabos (A'-B') | 0,35 | 1,0 |
| Barramento (B-B') | 0,2 | 0,7 |
Considerando a possibilidade de ocorrência de curto-circuito nos pontos C, D e E, assinalados no diagrama, e desprezando a impedância do lado de média tensão, o módulo da corrente de curto-circuito trifásica simétrica presumida
Provas
- Fundamentos de ProgramaçãoAlgoritmosAvaliação de Expressões
- Fundamentos de ProgramaçãoLógica de Programação
- Fundamentos de ProgramaçãoOperadoresOperadores Aritméticos
- Fundamentos de ProgramaçãoPseudocódigo
Deseja-se produzir um programa que automatize a execução da seguinte equação matemática:
!$ X = Y^3 + { \large W + Z \over 2} × A !$
Considerando a linguagem algorítmica Português Estruturado (Portugol), assinale a alternativa que apresenta a expressão equivalente à equação matemática fornecida.
Provas
A tabela a seguir fornece os picos de demanda de energia elétrica para alguns dias de uma pequena cidade.

Usando o método de interpolação linear para essa tabela, a estimativa de demanda para o dia 8 de maio é:
Provas
Caderno Container