Foram encontradas 1.145 questões.
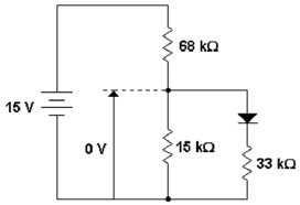
Qual é o valor de tensão que o multímetro deverá estar indicando de acordo com a figura a seguir?

Provas
Questão presente nas seguintes provas
Um forno elétrico consome 8.5A de uma fonte de alimentação CC de 127 V. Qual é o valor máximo de tensão alternada capaz de produzir o mesmo efeito térmico no forno?
Provas
Questão presente nas seguintes provas
Qual é o problema do circuito da figura a seguir?

Provas
Questão presente nas seguintes provas
Preencha as lacunas e assinale a alternativa correta.
As unidades de eletrocirurgia são equipamentos eletrônicos portáteis destinados a gerar e aplicar correntes elétricas de , com o objetivo de produzir aquecimento local instantâneo e controlado.
Provas
Questão presente nas seguintes provas
Para que serve o dispositivo REM em uma unidade de eletrocirurgia?
Provas
Questão presente nas seguintes provas
Segundo a NBR 13534/1995 – Instalações Elétricas em estabelecimentos assistenciais de saúde – Requisitos de Segurança, é correto afirmar que, em caso de falhas na alimentação de energia elétrica,
Provas
Questão presente nas seguintes provas
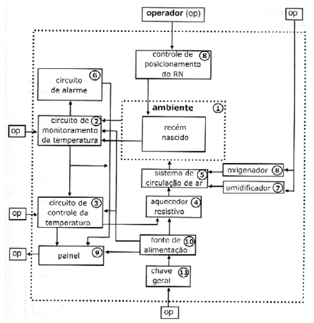
Qual equipamento está representado no seguinte diagrama em blocos?

Provas
Questão presente nas seguintes provas
A Norma brasileira que determina os requisitos mínimos para instalações de baixa tensão é a ABNT NBR 5410:2004 “Instalações Elétricas de Baixa Tensão”. De acordo com a ABNT NBR 5410:2004, são consideradas como baixas tensões aquelas até
Provas
Questão presente nas seguintes provas
A ABNT NBR 6118:2004 “Projeto de estruturas de concreto – Procedimento” fixa os requisitos básicos exigíveis para projeto de estruturas de concreto simples, armado e protendido, excluídas aquelas em que se empregam concreto leve, pesado ou outros especiais. São considerados elementos de concreto armado:
Provas
Questão presente nas seguintes provas
São exemplos de materiais cerâmicos:
Provas
Questão presente nas seguintes provas
Cadernos
Caderno Container