Foram encontradas 291 questões.

Com a solução do sistema de equações linearizado por Newton, referente ao sistema apresentado, pode-se calcular de forma direta, ou seja, por substituição direta nas equações, as seguintes variáveis
Provas

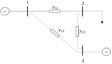
O sistema elétrico acima tem a Barra 1 escolhida como barra de referência, a Barra 2 é do tipo barra de carga e a Barra 3 é do tipo barra de geração.
Desta forma, o problema de fluxo de potência pelo método de Newton fica
Provas

A rede elétrica pode ser representada por meio de modelo com parâmetros de admitância, que é chamado de matriz de admitância de barra (Ybarra).
Sendo assim, a matriz Ybarra, que representa o sistema elétrico acima, é dada por
Provas
A aplicação da TUST – Tarifa de Uso do Sistema de Transmissão – define o pagamento pelo uso do sistema de transmissão. Anualmente, é computada a Receita Anual Permitida (RAP) total do sistema, e com base neste valor se determina a TUST em cada ponto do sistema, por meio de simulações do Programa Nodal.
Devido às premissas de cálculo atuais, a parcela locacional da TUST tem baixa influência em seu valor final quando comparada a parcela selo.
Esse fato produz o efeito de
Provas
A figura a seguir mostra a curva de permanência hipotética dos valores de importação de potência do submercado Sudeste/Centro-Oeste – SE/CO – durante o período úmido. O período úmido é definido pela ANEEL como referente aos meses de dezembro de um ano a abril do ano seguinte.

Com base nessa figura, é correto afirmar que
Provas
Com relação ao papel das instituições do setor elétrico no planejamento da transmissão em curto, médio e longo prazo, analise as afirmativas a seguir e assinale (V) para a verdadeira e (F) para a falsa.
( ) A EPE é responsável por realizar os estudos que dão origem aos relatórios R1 (estudos de viabilidade técnico-econômica). Nestes relatórios avalia-se as necessidades da rede no período decenal, no entanto, o detalhamento e a indicação de recomendações é particularmente para às obras a serem instaladas nos cinco primeiros anos desse período, que farão parte do Programa de Expansão da Transmissão – PET.
( ) Os estudos de expansão da transmissão são compostos ainda por outros relatórios que avaliam questões como o detalhamento da alternativa de referência, a avaliação socioambiental das obras, a influência dessas obras na rede existente, bem como seus custos fundiários. Por atribuição legal, estes relatórios adicionais são realizados pela EPE, conforme solicitação do MME.
( ) O ONS é responsável pela elaboração do PAR (Plano de Ampliações e Reforços) e do PELP (Plano de Expansão de Longo Prazo) que abrangem, respectivamente, reforços de curto prazo e as instalações de transmissão ainda não licitadas ou autorizadas, fora do horizonte de análise do PET.
( ) Os documentos PAR e PET, são compatibilizados pelo MME, resultando no Plano de Outorgas e Licitações. Esse documento resultante é enviado a ANEEL para subsidiar o processo licitatório de novas instalações de transmissão.
As afirmativas são, na ordem apresentada, respectivamente,
Provas
O sistema elétrico brasileiro apresenta grande diversidade. Enquanto a Região Sudeste possui um extenso parque gerador hidrotérmico e uma robusta malha de transmissão, regiões na Amazônia legal sequer estão conectadas ao Sistema Interligado Nacional – SIN.
Nessas áreas, conhecidas como sistemas isolados, a energia elétrica provém geralmente da geração térmica de menor escala e custo elevado.
A respeito do planejamento do suprimento elétrico desses sistemas isolados, é correto afirmar que
Provas
No início do século XXI, a desverticalização do setor elétrico brasileiro permitiu a participação do investimento privado no segmento da transmissão. Essa abertura propiciou, nas últimas décadas, um desenvolvimento que não seria possível apenas com investimento público.
As obras para expansão da transmissão, recomendadas nos estudos realizados pela EPE, traçaram as diretrizes para alocação desses recursos e, então, os mecanismos de mercado permitiram a realização desses investimentos com racionalidade e a um custo adequado.
Considerando a atual regulação para concessão do serviço público de transmissão de energia, avalie os itens a seguir.
I. A Agência Nacional de Energia Elétrica (ANEEL), como poder concedente, aprova o Plano de Outorgas de Transmissão de Energia Elétrica (POTEE), desenvolvido pela EPE, e o Ministério de Minas e Energia (MME) organiza os procedimentos licitatórios para a contratação das transmissoras que implantarão as obras definidas.
II. As transmissoras fazem jus à remuneração de seus investimentos, com base no montante de energia (MWh) que passa por suas instalações. Dessa forma, garante-se o rendimento do agente de transmissão e a modicidade tarifária para o consumidor.
III. O recebimento da Receita Anual Permitida (RAP), devida ao agente de transmissão pela prestação do serviço concedido, pode sofrer descontos em função da indisponibilidade forçada ou das restrições operativas temporárias a que seus ativos estejam sujeitos.
Está correto o que se afirma em
Provas
A respeito das consequências das mudanças climáticas globais, analise as afirmativas a seguir.
I. As mudanças climáticas oferecem um risco de extinção a uma grande parcela de espécies terrestres e aquáticas.
II. A cada grau de elevação da temperatura, é projetada uma redução do estoque de água disponível.
III. Nas regiões onde as mudanças climáticas sofrerão mudanças em ritmo médio de aceleração, as espécies serão capazes de se deslocar em tempo de encontrar um novo habitat.
Está correto o que se apresenta em
Provas
Os poluentes locais têm como vetores principais, os oriundos da operação do transporte motorizado, baseado na queima de combustíveis fósseis.
Assinale a opção que indica o poluente responsável pela chuva ácida.
Provas
Caderno Container