Foram encontradas 720 questões.

Observe o conjunto de engrenagens representado na figura acima.
Considere que o número de dentes encontra-se em cada engrenagem e que a velocidade angular de A é de 1000 rpm. Qual é a relação de transmissão para o conjunto de engrenagens representado?
Provas
Questão presente nas seguintes provas

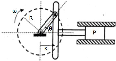
Observe o mecanismo Scotch – Yoke representado na figura acima.
Com base nos dados ω = 60 rpm, θ = 60 ° e R = 0,4 m, qual é o valor da velocidade do pistão para a posição representada?
Provas
Questão presente nas seguintes provas

Observe o mecanismo representado na figura acima.
A condição de Grashof é uma relação que prevê a condição de rotação de inversões do mecanismo de quatro barras com base apenas no comprimento dos elos.
A partir da condição de Grashof, o mecanismo é identificado como
Provas
Questão presente nas seguintes provas
A modificação de Kutzbach na equação de Gruebler permite calcular o grau de liberdade (GDL) de um mecanismo. Considerando L o número de elos, J1 o número de juntas com 1 GDL (completa) e J2 o número de juntas com 2 GDL (meia junta), a equação escrita corretamente é
Provas
Questão presente nas seguintes provas
Um corpo de prova padronizado de aço, com 13 mm de diâmetro, sujeito a uma força de tração de 29,5 kN, teve um alongamento de 0,216 mm para um comprimento inicial de 200 mm.
Admitindo-se que NÃO foi superado o limite de proporcionalidade, qual é o valor do módulo de elasticidade longitudinal do aço?
Provas
Questão presente nas seguintes provas
Um eixo tubular, de diâmetro interno de 20 mm e diâmetro externo de 36 mm, é utilizado para transmitir 100 kW de potência.
Qual é a frequência de rotação do eixo, de modo que a tensão de cisalhamento não ultrapasse 60 MPa?
Provas
Questão presente nas seguintes provas

Observe a junta representada na figura acima.
A tensão de ruptura por cisalhamento para o parafuso é
Trup = 200 MPa e a força P = 50 kN.
Qual é o diâmetro exigido para o parafuso?
Provas
Questão presente nas seguintes provas

Observe o perfil representado na figura acima.
Quais são os momentos de inércia IxG e IyG em relação aos eixos que passam pelo centro de gravidade do perfil T ?
Provas
Questão presente nas seguintes provas

Com base no diagrama apresentado acima, é correto afirmar que
Provas
Questão presente nas seguintes provas
Se um torque de 2200 Nm atua em um eixo de 88 mm de diâmetro, qual é a máxima tensão de cisalhamento desenvolvida?
Provas
Questão presente nas seguintes provas
Cadernos
Caderno Container