Foram encontradas 50 questões.
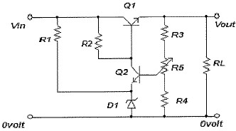
Analise o diagrama esquemático elétrico abaixo.

Considerando que o circuito apresentado no diagrama foi projetado para funcionar como regulador de tensão discreto, assinale a opção correta.
Provas
Analise o diagrama esquemático elétrico abaixo.

A Ponte de Wheatstone representada no esquemático é integrante de um equipamento de medidas. Após sofrer uma avaria, o galvanômetro passou a acusar uma tensão de 1 VDC. Ao abrir o equipamento para reparo, o técnico observou que a causa do defeito era o resistor R3. Que valor de resistência o resistor passou a apresentar?
Provas
Assinale a opção que apresenta a razão de espiras de um transformador dimensionado para casar uma carga de 20 \( \Omega \) com outra de 72 k\( \Omega \),
Provas
Uma indutância de 5 \( \Omega \) de resistência e 12 \( \Omega \) de reatância está ligada a uma linha CA de 117V e 60 Hz. Calcule a potência aparente em Volt.Ampere (VA) e assinale a opção correta.
Provas
A corrente de Norton é muitas vezes chamada de corrente de carga em curto-circuito, porque ela é igual à corrente que circularia se a resistência de carga fosse zero. Para um determinado circuito elétrico, de comportamento linear, é correto afirmar que
Provas
Calcule o valor da velocidade de transmissão de um equipamento telex, expressa em BAUD, que representa a quantidade de elementos de sinal por segundo, sendo “t' a duração do elemento e igual a 20ms, e assinale a opção correta.
Provas
Observe o diagrama esquemático elétrico abaixo.

O circuito elétrico do diagrama foi projetado para atuar como “diferenciador ideal com amplificador operacional".
Considerando que i = C dv/dt, assinale a opção que apresenta a melhor aproximação para forma de onda na saída S do circuito, para um sinal de entrada Vin tipo "degrau", conforme apresentado.
Provas
Observe o diagrama esquemático elétrico abaixo.

O diagrama apresenta um circuito elétrico parcialmente conectado. Assinale a opção que completa corretamente as lacunas da sentença abaixo.
O conjunto de conexões que transforma este circuito em um oscilador de deslocamento de fase é formado por pino 9 de R2 ligado ao ; pino 3 de R2 ligado ao ; e pino 10 de C1 ligado ao .
Provas
A potência na derivação de um acoplador direcional é 2,5% da potência na entrada. Considerando log5 = 0,7; log2 = 0,3 e log40 = 1,6, calcule a atenuação da derivação e assinale a opção correta.
Provas
Se atenuarmos um sinal analógico em 6 dB, sua potência será reduzida a que percentual do sinal original?
Provas
Caderno Container