Foram encontradas 50 questões.
Um dos tópicos mais importantes no estudo de bombas é a cavitação. Assinale a opção correta em relação a esse tópico.
Provas
Quando se deseja efetuar um bloqueio rigoroso e absoluto, na tubulação flangeada, são utilizados os acessórios chamados:
Provas
Um material foi temperado e apresentou dureza acima do projetado. Para baixar a dureza, a fim de deixá-lo dentro do limite de projeto, o material deverá ser
Provas
Observe o desenho a seguir.

A rosca apresentada acima é denominada
Provas
A figura abaixo representa um sistema de transmissão composto por quatro engrenagens montadas em três eixos, representando um sistema de engrenagens de dois estágios.

Sabe-se que a engrenagem A possui 30 dentes e está montada no eixo n1 que gira a 300 rpm. A engrenagem B possui 60 dentes e está engrenada à engrenagem A. A engrenagem C possui 30 dentes e está montada no mesmo eixo da engrenagem B e a engrenagem D possui 90 dentes e está engrenada à engrenagem C. Sendo assim, qual a rotação da engrenagem D?
Provas
Assinale a opção que completa corretamente as lacunas da sentença abaixo.
Para que um determinado corpo esteja em equilíbrio, é necessário que a resultante do sistema de forças atuante no corpo seja _______ e a resultante dos momentos atuantes em relação a um ponto qualquer do plano de forças seja .
Provas
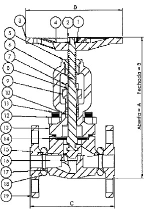
Observe a válvula globo a seguir.

Os componentes denominados sede e volante estão indicados acima, respectivamente, pelos números
Provas
Observe a figura a seguir.

Em relação aos esforços simples atuando na viga, assinale a opção correta.
Provas
No processo de fabricação de uma engrenagem, utilizou-se os seguintes tratamentos: cementação, têmpera e revenimento. Nesse processo, é correto afirmar que:
Provas
Coloque F (falso) ou V (verdadeiro) nas afirmativas abaixo, referentes à operação de um motor diesel de quatro tempos, assinalando a seguir a opção correta.
( ) Há inflamação da mistura a cada quatro cursos do pistão, isto é, um ciclo compreende uma volta do eixo de manivelas.
( ) Somente no tempo de combustão se produz energia mecânica, os outros três tempos são passivos, isto é, absorvem energia.
( ) Há somente admissão de ar puro, que ao ser comprimido pelo pistão, aquece-se o suficiente para inflamar o óleo (diesel) pulverizado no interior da câmara de combustão.
( ) Na combustão, os gases em expansão, resultantes da com bustão, forçam o pistão do ponto morto inferior (PMI) para o ponto morto superior (PMS).
Provas
Caderno Container