Foram encontradas 1.200 questões.
Assinale a opção que apresenta corretamente a definição da Lei de Hooke.
Provas
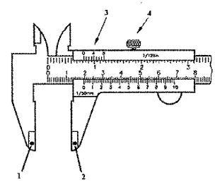
Na figura abaixo, as partes 1, 2, 3 e 4 do paquímetro são, respectivamente:

Provas
De acordo com Fonseca (2005), as sicordas:
Provas
A superfície contínua imaginária que passa pelas faces externas do cavernamento do navio e dos vaus do convés é denominada de superfície:
Provas
Qual é a característica principal do sistema de construção longitudinal?
Provas
Com relação a ffambagem em uma estrutura, o que é a carga crítica?
Provas
O tipo de amostragem que pode ser realizado numerando a população de 1 a n e sorteando, a seguir, por meio de um dispositivo aleatório qualquer, k números dessa sequência, os quais corresponderão aos elementos pertencentes à amostra é amostragem:
Provas
Analise as afirmativas abaixo.
I. A transposta de \( A = \begin{bmatrix} 2 & 1 \\ 0 & -3 \end{bmatrix} \) é \( A^{T} = \begin{bmatrix} 2 & 0 \\ 1 & -3 \end{bmatrix} \).
II - Se \( A = \begin{bmatrix} 3 & 2 & 4 \end{bmatrix} \), então \( 4 \times A = \begin{bmatrix} 12 & 8 & 16 \end{bmatrix} \).
III - A multiplicação de matrizes é comutativa.
IV - Se \( A = \begin{bmatrix} 3 & 5 \\ 1 & 2 \end{bmatrix} \), então \( A^{-1} = \begin{bmatrix} 1/3 & 1 /5 \\ 1 & 1/2 \end{bmatrix} \)
Assinale a opção correta,
Provas
Com relação à teoria da amostragem, assinale a opção correta.
Provas
Analise as afirmativas abaixo com relação às medidas de tendência central, em uma distribuição em forma de sino e assinale a opção correta.
I - \( \bar{x}=Md =Mo \), no caso de curva simétrica.
II - \( Mo < Md < \bar{x} \), no caso de curva assimétrica positiva.
III - \( Md < \bar{x} < Mo \), no caso da curva assimétrica negativa.
Provas
Caderno Container