Foram encontradas 2.689 questões.
Uma bomba de deslocamento positivo alimenta uma linha de óleo com vazão de 0,04 m3/s. A linha alimenta as câmaras de avanço de dois atuadores lineares, cujas áreas de êmbolo são iguais e valem 0,005 m2.
Sendo a velocidade de avanço de um dos atuadores igual a 5 m/s, a do segundo atuador, em m/s, será de
Provas
Questão presente nas seguintes provas
Deseja-se construir um contador digital binário de dois bits com um sinal de controle Z, onde a contagem é crescente quando Z = 1 e decrescente quando Z = 0, conforme ilustrado no diagrama de estados.

Para implementar esse contador, foram empregados dois flip-flops tipo D, conforme mostrado na figura abaixo, onde QX representa o bit mais significativo, e QY, o menos significativo.

Assim, o circuito combinacional a ser empregado para produzir o sinal de comando DX deve realizar a seguinte função lógica:
Provas
Questão presente nas seguintes provas
Deseja-se obter um circuito lógico combinacional que realiza a função lógica descrita pelo mapa de Karnaugh.
| WX\YZ | 00 | 01 | 11 | 10 |
| 00 | 0 | X | 0 | 0 |
| 01 | 0 | 0 | 1 | X |
| 11 | X | 0 | X | 1 |
| 10 | 1 | X | 0 | 1 |
Entretanto, dispõe-se apenas de circuitos integrados 74HC00 (NAND).
Dessa forma, o circuito que realiza a função lógica descrita no mapa é
Provas
Questão presente nas seguintes provas

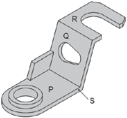
O desenho é a representação em vista isométrica, no primeiro diedro, de uma peça.
Para representá-la corretamente no primeiro diedro, segundo as normas de desenho técnico, é preciso desenhar, pelo menos, as vistas
Provas
Questão presente nas seguintes provas
Na figura, é apresentado o circuito de uma porta lógica digital CMOS complementar, onde a rede abaixadora (pull-down) está faltando.

O circuito correto para a rede abaixadora dessa porta lógica é
Provas
Questão presente nas seguintes provas
Sobre os seguintes conceitos de vistas aplicados em desenho técnico, as peças simétricas podem ser representadas da seguinte forma:
I – por uma parte do todo, e as linhas de simetria são identificadas com dois traços estreitos, curtos e paralelos, traçados perpendicularmente nas extremidades da linha de simetria.
II – pela metade, quando a linha de simetria dividir a vista em duas partes iguais.
III – pela quarta parte, quando as linhas de simetria dividirem a vista em quatro partes iguais.
Está correto o que se afirma em
Provas
Questão presente nas seguintes provas

O joelho a 90º, representado em vista isométrica no primeiro diedro, possui dois flanges circulares em suas extremidades, um com seis furos igualmente espaçados e outro com quatro furos igualmente espaçados, todos com o mesmo diâmetro.
A representação em corte total obtida a partir da vista lateral esquerda, no primeiro diedro, é
Provas
Questão presente nas seguintes provas
A figura apresenta um filtro de Sallen-Key, com os valores dos componentes normalizados, cuja resposta em frequência possui uma banda passante que vai até 1,0 rad/s.

Em seguida, é apresentada uma versão escalada desse filtro.

Qual é, em rad/s, o limite da banda passante do filtro escalado?
Provas
Questão presente nas seguintes provas
No circuito da figura, o amplificador operacional é polarizado de modo que os limites máximo e mínimo de excursão de sinal na saída vo sejam + 10 V e – 10 V, respectivamente. Além disso, um sinal senoidal de amplitude igual a 10 V e frequência de 1 kHz é aplicado à entrada vi, conforme mostrado na figura.

Desprezando os atrasos devidos à resposta em frequência do amplificador operacional, o instante de tempo td, em milissegundos, apresentado no gráfico da tensão na saída vo, vale
Provas
Questão presente nas seguintes provas
No circuito da figura, considere que os diodos apresentam uma queda de tensão VD = 0,7 V quando estão conduzindo corrente e que não apresentam corrente de fuga quando estão em corte.

Assim, quando a chave S1 for fechada, a tensão na saída VX, em volts, será
Provas
Questão presente nas seguintes provas
Cadernos
Caderno Container