Foram encontradas 2.689 questões.
O circuito lógico combinacional apresentado na figura abaixo emprega um multiplexador de três bits, onde a palavra binária de seleção tem S2 como sendo o bit mais significativo.

A função lógica booleana relacionando a saída F com as entradas X, Y, Z e W no circuito da figura é
Provas
Questão presente nas seguintes provas

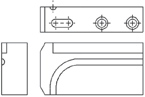
A figura representa uma peça em vista isométrica, onde os furos cilíndricos com rebaixo são furos cegos, o rasgo oblongo é passante, e a guia tem seção reta semicircular.
As vistas frontal, superior e lateral direita, no primeiro diedro, são:
Provas
Questão presente nas seguintes provas
Um conjunto cilindro-pistão contém 4 kg de água. Inicialmente, a água está a certa temperatura T1, sendo a energia interna, nesse estado, dada por u1 = 80 kJ/kg. Em seguida, o pistão é travado, e o calor é transferido à água até T2, onde o estado de vapor saturado é atingido, e u2 = 2.460 kJ/kg.
O calor transferido no processo, em kJ, vale
Provas
Questão presente nas seguintes provas
O título de uma substância composta por uma parcela na fase líquida e outra na fase vapor, na temperatura de saturação, corresponde à razão entre a
Provas
Questão presente nas seguintes provas

Os goniômetros X1 e X2 medem ângulos em graus e minutos, com resolução de cinco minutos. As medidas dos ângulos de X1 e X2 e a soma de ambos são, respectivamente,
Provas
Questão presente nas seguintes provas

A figura mostra um circuito composto por uma fonte de corrente contínua, um indutor e um resistor ideais, além de uma chave seletora. A chave comuta instantaneamente seus contatos em t = 0 s, e a fonte de corrente contínua tem valor de 1 A. Considere que, antes desse instante, não havia corrente no indutor nem no resistor.
Qual função expressa a tensão e(t), em volts, nos terminais do resistor e do indutor para t ≥ 0 s?
Provas
Questão presente nas seguintes provas

O relógio comparador, com faixa nominal de 10 mm e resolução centesimal, é usado para medir um bloco de aço, cuja altura, em mm, é
Provas
Questão presente nas seguintes provas

A leitura indicada no micrômetro, em mm, é
Provas
Questão presente nas seguintes provas
Um radar instalado em uma rodovia fotografa veículos que trafegam acima dos 100 km/h. O aparelho apresenta uma incerteza máxima de 2 km/h, e os velocímetros dos automóveis apresentam incertezas que chegam a ±10% do valor indicado.
O valor mínimo da velocidade, v, em km/h, para que se possa afirmar com segurança que um veículo excedeu o limite superior da velocidade permissível e foi fotografado é tal que
Provas
Questão presente nas seguintes provas
Quatro barras de aço de diâmetros diferentes foram medidas com o mesmo instrumento de medição e nas mesmas condições, apresentando os valores listados na tabela a seguir.
| Barra | 1 | 2 | 3 | 4 |
| Diâmetro (mm) | 2,8505 | 9,6666 | 12,5500 | 25,8500 |
De acordo com as regras de arredondamento, quando cada valor é arredondado para conter uma casa decimal, tem-se, respectivamente, em milímetros,
Provas
Questão presente nas seguintes provas
Cadernos
Caderno Container