Foram encontradas 410 questões.

Provas

Provas

Provas

Na Figura acima, a cota de 6,4 está sublinhada porque
Provas

A medida, em milímetros, registrada na escala do micrô- metro representada acima é igual a
Provas
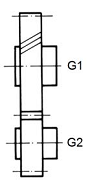
A Figura abaixo é a representação de um par de engrenagens em Desenho Técnico.

Constata-se que G1 e G2 são, respectivamente, engrenagens
Provas
Em um Desenho Técnico, vários tipos de linha são utilizados.
A linha que é larga nas extremidades e na mudança de direção, denominada traço e ponto estreita, e a linha contínua larga são usadas, respectivamente, na representação de
Provas
Provas
Um feirante sabe que consegue vender seus produtos a preços mais caros, conforme o horário da feira, mas, na última hora, ele deve vender suas frutas pela metade do preço inicial. Inicialmente, ele vende o lote de uma fruta a R$ 10,00. Passado algum tempo, aumenta em 25% o preço das frutas. Passado mais algum tempo, o novo preço sofreu um aumento de 20%. Na última hora da feira, o lote da fruta custa R$ 5,00.
O desconto, em reais, que ele deve dar sobre o preço mais alto para atingir o preço da última hora da feira deve ser de
Provas
Uma loja de departamento colocou 11 calças distintas em uma prateleira de promoção, sendo 3 calças de R$ 50,00, 4 calças de R$ 100,00 e 4 calças de R$ 200,00. Um freguês vai comprar exatamente três dessas calças gastando, no máximo, R$ 400,00.
De quantos modos diferentes ele pode efetuar a compra?
Provas
Caderno Container