Foram encontradas 2.276 questões.
Um lote de cinco materiais diferentes foi recebido pelo almoxarifado de uma empresa montadora. Os certificados dos materiais informavam tratar-se de metais diversos, cujas composições químicas estão abaixo transcritas:
I 0,25% C; 1,00% Mn; 0,40 % Si; 0,04% S; 0,02% P.
II 0,08% C; 2,00% Mn; 1,00% Si; 18,00% Cr; 8,00% Ni; 0,03% S; 0,03% P.
III 0,40% C; 0,90% Mn; 0,40% Si; 0,90% Cr; 0,20% Mo; 0,02% S; 0,02% P.
IV 3,00% C; 0,80% Mn; 2,80% Si; 0,20% S; 0,40% P.
V 0,40% Fe; 0,05% Mn; 0,25% Si; 0,05% Cu; 0,05% Mg; 0,05% Zn; 0,03% Ti; 99,17% AR.
Julgue o item seguinte quanto ao tipo e à classe de metal recebido pelo almoxarifado.
O material II é um aço baixo-carbono equivalente ao aço ABNT 1008.
Provas
Provas

A medição representada acima, em um furo de equipamento hidráulico, foi feita utilizando-se uma régua graduada em aço inoxidável. As medidas indicadas na régua mostrada estão gravadas no sistema inglês (polegadas e frações). Nessa situação, julgue o item a seguir.
A profundidade do furo, medida pela régua, é de 1 5/32”.
Provas

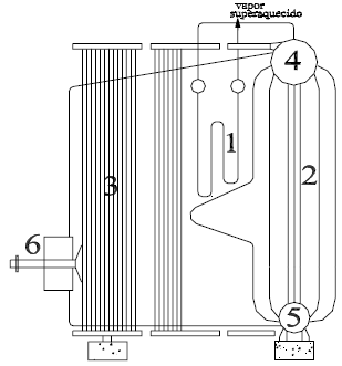
O desenho esquemático acima retrata uma caldeira aquatubular, de alta pressão, que foi montada em uma unidade de craqueamento de petróleo. Nesse desenho estão assinaladas as várias partes que foram erigidas, por ocasião da montagem. No contexto dessa montagem, julgue o item a seguir.
A legenda 3 assinala os tubos da parede de água lateral (lateral wall)
Provas

Provas

Provas
Provas

A figura acima é uma vista frontal de um tubo de aço-carbono ASTM A106 grau B, que vai ser utilizado na montagem de uma rede de vapor de alta pressão. Esse tubo tem 10 m de comprimento, 20 cm de diâmetro externo e 20 mm de espessura. Esse tubo vai ser pintado, transportado e montado no local da obra. Considerando o valor de !$ \pi !$ = 3,2 e o peso específico do aço-carbono igual a 8 g/cm3, julgue os itens seguintes.
O peso do tubo, para cálculo do transporte, é de 1.024 kg.
Provas

Para um trabalho de desmontagem, um caldeireiro dirigiu-se à ferramentaria de sua oficina e apanhou três chaves de aperto, mostradas na figura acima. Nesse contexto, é correto afirmar que a chave da legenda
III é uma chave Phillips.
Provas
Seções de tubos, para montagem de uma tubovia, estão sendo jateados e pintados em um galpão de uma empreiteira. O método de pintura utilizado é o da pistola convencional e retoques com trincha. Relativamente a esse método e à técnica de pintura, julgue o item subseqüente.
Esse método acarreta elevadas perdas de tinta, da ordem de 25%.
Provas
Caderno Container