Foram encontradas 3.167 questões.

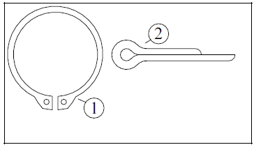
Na figura acima, o elemento de máquina 1 é fabricado em aço-mola e tem a forma circunferencial incompleta, e o elemento 2 é um arame de seção semicircular dobrado de forma a obter-se um corpo cilíndrico e uma cabeça. Com relação ao uso e à nomenclatura desses elementos, julgue o seguinte item.
O elemento
é um anel elástico que, ao se alojar em um canal, serve para impedir o deslocamento axial, posicionar ou limitar o curso de uma peça deslizante sobre um eixo.
Provas
Ligas metálicas, ferrosas e não-ferrosas, são os principais materiais utilizados na construção mecânica. Acerca dessa categoria de materiais, julgue os itens seguintes.
Os aços rápidos são aços-ferramenta desenvolvidos para usinagem em elevadas velocidades.
Provas

A figura acima ilustra um trecho de tubulação que se encontra em declive. Um nível de bolha está sendo usado para medir o desnível da tubulação. A sensibilidade do nível de bolha é de 0,05 mm/m e, na medição, a bolha se estabilizou na posição indicada no desenho. Com relação ao nível de bolha e à operação de medição da declividade, julgue o seguinte item.
A aferição do nível deve ser feita em uma base plana, marcando-se os extremos do nível nessa base e, em seguida, invertendo-se a posição do nível em 180o para se verificar a posição da bolha.
Provas
Suponha que, em um processo de inspeção do programa de qualidade de uma indústria, o relógio comparador seja utilizado como instrumento de precisão para medições lineares de folgas, desgastes e empenos em componentes ou conjuntos mecânicos de uma determinada linha de produção. As características de um relógio comparador são a amplitude, a sensibilidade e o sistema de medida. A Figura abaixo mostra um exemplo de medida realizada por um mecânico utilizando esse relógio.

Considerando que o mecânico foi escalado para medir e registrar as possíveis não conformidades nas medidas dos componentes mecânicos inspecionados, e a respeito dos relógios comparadores, julgue o item subseqüente.
O relógio comparador de diâmetros internos transforma o deslocamento axial de uma ponta de contato em movimento radial transmitido a um relógio comparador.
Provas

Considerando que um eixo precise ser acoplado em uma bucha de acordo com as dimensões nominais e tolerâncias indicadas na figura acima, julgue os itens subseqüentes, acerca do ajuste entre as referidas peças.
Se d for maior que b, o ajuste será incerto.
Provas
Com relação a tecnologias utilizadas na automação industrial e em controle de processos, julgue o item que se segue.
O protocolo de comunicação Modbus padrão pode ser usado em diversos sistemas de automação industrial. Redes de controladores lógicos programáveis são exemplos de sua utilização. Nesse protocolo, os padrões RS-232 e RS-485 podem ser usados como meio físico.
Provas
Tendo em vista o fato de que algumas propriedades termodinâmicas são expressas em termos de outras propriedades, julgue os itens seguintes.
O calor específico a volume constante é uma propriedade termodinâmica que pode ser utilizada para acompanhar um dado processo termodinâmico reversível, por meio, por exemplo, de um diagrama, no qual essa propriedade é posta no eixo das abscissas, e a pressão, no eixo das ordenadas.
Provas

A respeito da figura acima, que representa de uma forma geral, a situação verificada nos processos de corte do aço 850 N/mm² , usinagem com velocidade de corte de 60 m/min, espessura do cavaco de 0,32 mm e uma ferramenta P20, julgue os itens seguintes.
A utilização de grande velocidade de avanço na máquina ferramenta evita a produção de cavaco cisalhado.
Provas
Estruturas de prospecção e produção de petróleo offshore possuem elementos construtivos e operacionais compostos por tubos ou estruturas cilíndricas verticais sujeitas aos esforços hidrodinâmicos de correntes marítimas. A velocidade da corrente (V0) associada às instabilidades de superfície (maré e ondas) proporciona esforços mecânicos que devem ser considerados no cálculo estrutural de tais elementos. Com referência ao escoamento em torno de um cilindro vertical, julgue os seguintes itens.
Este escoamento é formulado pelas equações de conservação (conservação da massa e quantidade de movimento). Devido às dimensões geométricas características de tais problemas, o escoamento deve ser considerado turbulento. Tal regime de escoamento proporciona esforços dinâmicos sobre a estrutura.
Provas
Considerando o processo de corrosão e seus métodos de proteção, julgue os itens seguintes.
Um dos processos usados para a redução de corrosão em sistemas de refrigeração consiste na desaeração mecânica a vácuo.
Provas
Caderno Container