Foram encontradas 441 questões.
Barras cilíndricas de diâmetro de 100 mm e comprimento de 500 mm, fabricadas com os aços AISI 1030, AISI 1045, AISI 1060, AISI 1080 e AISI 4340, serão submetidas a tratamento térmico de têmpera, com resfriamento em óleo, com agitação moderada. Dentre essas barras, aquela que alcançará maior dureza no núcleo, após a têmpera, é a fabricada com o aço AISI
Provas
Analise as afirmações sobre os processos de soldagem.
I - A soldagem por arco submerso pode ser executada em todas as posições.
II - Na soldagem MIG, o arame é adicionado automaticamente por um alimentador e protegido por um gás inerte.
III - Na soldagem TIG, o arco é aberto pela vareta do metal de adição.
IV - Na soldagem com eletrodo revestido, a polaridade inversa tem maior penetração que a direta.
São corretas APENAS as afirmações
Provas
Os desenhos Y e Z são representações de desenho técnico mecânico.

PIRES, Lauro Annanias e SILVA, Regina Maria. Leitura e interpretação de desenho mecânico. São Paulo: SENAI. In: Ferreira, João & Silva, Regina Maria. Desenho mecânico. Telecurso 2000.(Adaptado)
Observe as afirmativas a seguir, relativas à peça X.
I - A representação Z está correta.
II - A representação Y está correta.
III - As representações Y e Z estão incorretas.
IV - Falta(m) linha(s) necessária(s) à compreensão do desenho na representação Y.
V - Falta(m) linha(s) necessária(s) à compreensão do desenho na representação Z.
VI - O corte utilizado nas representações Y e Z está correto.
Está correto APENAS o que afirma em
Provas
A soldagem é um processo largamente empregado nas indústrias, na fabricação ou na manutenção de peças e equipamentos. A proteção da poça de fusão é fundamental para uma soldagem de qualidade.
Analise as afirmativas abaixo, quanto à proteção da poça de fusão.
I - No processo MIG, a proteção da poça de fusão é feita por um gás inerte.
II - Na soldagem a arco com eletrodo revestido, a proteção da poça de fusão é feita pelo fluxo contido no interior do eletrodo.
III - No processo MAG, a proteção da poça de fusão é feita por um gás ativo.
IV - Na soldagem TIG, a proteção da poça de fusão é feita pelo fluxo granulado.
São corretas APENAS as afirmativas:
Provas
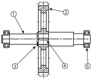
Observe o desenho abaixo.

Sobre esse desenho, considere as identificações a seguir.
I - A peça 1 é um eixo escalonado.
II - A peça 2 é uma engrenagem cilíndrica de dentes retos.
III - A peça 3 é um espaçador.
IV - A peça 4 é uma chaveta plana.
V - A peça 5 é um rolamento de contato angular de esferas.
Está correto APENAS o que se identifica em
Provas
Foi calculado o número de rotações por minuto (RPM) a ser utilizado para desbastar, no torno, um tarugo de aço com 100 mm de diâmetro, usando uma ferramenta de carboneto metálico. Os parâmetros utilizados para o cálculo foram:
• velocidade de corte - 60 m/min.
• valor de !$ \pi !$ igual a 3 para facilitar os cálculos e uniformizar as respostas
• diâmetro de 100 mm.
O número de rotações por minuto encontrado foi
Provas
As figuras abaixo representam 2 paquímetros realizando 2 medições diferentes.
I-

II-

FONSECA, Luiz A. J. Alves da. Encarregado de Montagem Mecânica - Metrologia. Pelotas: CEFET, 2006.
Considerando que a coincidência entre os traços das escalas fixa e móvel está indicada por seta, o valor de cada leitura, nos paquímetros I e II, é, respectivamente,
Provas
Ao fresar uma peça, é possível optar por um fresamento concordante, em que o sentido de rotação da fresa é o mesmo do avanço da peça no ponto de contato, ou por um fresamento discordante, em que o sentido de rotação da fresa é contrário ao sentido de avanço da peça, no ponto de contato.
Em uma fresadora convencional, utiliza-se, preferencialmente, a fresagem discordante (em oposição), pois, assim,
Provas
Considere os processos industriais de fabricação mecânica abaixo.
I - Laminação
II - Dobramento
III - Torneamento
IV - Fresamento
V - Repuxamento
Dentre esses processos, são de conformação mecânica, sem retirada de material, APENAS
Provas
Ao efetuar a medição de uma peça mecânica com o paquímetro quadrimensional, o mecânico precisa evitar o erro de paralaxe, decorrente do(a)
Provas
Caderno Container