Foram encontradas 1.175 questões.
Para quantificar a rapidez de um movimento, são necessárias duas grandezas diferentes: metro, para medida de deslocamento, e segundos, para unidades de tempo, no SI (Sistema Internacional de Unidades). Um automóvel se deslocou 1 800 Km em 1 500 minutos. Como a velocidade média do veículo é a razão entre o espaço percorrido e o tempo gasto no percurso, pode-se afirmar que, nesse trecho, a velocidade média foi de
Provas
Questão presente nas seguintes provas
Segundo os procedimentos operacionais padronizados (POP) para a análise fiscal de produtos da área de alimentos, à amostra colhida e dividida em três partes iguais, composta por produtos de mesmo lote, rótulo, apresentação e conteúdo líquido, dá-se o nome de amostra
Provas
Questão presente nas seguintes provas
A questão refere-se à Lei Municipal nº 1.437/1966 - Código de Obras de Sorocaba.
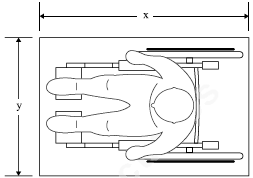
Considere a ilustração a seguir, extraída da NBR 9050.

Módulo de referência (M.R.)
Os valores de x e y são, respectivamente,
Provas
Questão presente nas seguintes provas
Leia o texto para responder à questão.
Tomara que dure
Quem costuma ir à região da Rua 25 de Março para aproveitar as ofertas do maior centro comercial a céu aberto da América Latina está notando uma mudança no cenário. Para melhor. Boa parte dos camelôs que apinhavam as ruas desapareceu depois que policiais militares passaram a montar guarda por ali. Uma lei aprovada pela Câmara Municipal no fim de agosto do ano passado permitiu que soldados e oficiais patrulhassem, em seus períodos de folga, áreas tomadas por ambulantes. Com poder para apreender mercadorias e dar voz de prisão a suspeitos de crimes, eles têm conseguido coibir a ação tanto dos vendedores de rua quanto de ladrões.
Desde que a chamada Operação Delegada de Fiscalização do Comércio começou, houve uma queda de 33% nos furtos. Diariamente, os policiais apreendem milhares de produtos falsificados ou de origem não comprovada, tais como DVSs, CDs, óculos de sol, tênis e equipamentos eletrônicos.
Antes, a patrulha era feita pela Guarda Civil Metropolitana, qua não tem armamento nem poder de polícia para confiscar mercadorias. Com a presença da PM, os ladrões e ambulantes ilegais passaram a ter o que temer. E a prefeitura pôde deslocar os guardas municipais para outras regiões.
No total, mais de 750 policiais militares prestam serviços para a prefeitura, recebendo de R$ 12,33 a R$ 16,45 por hora, pagos pelo município. Só na região da 25 de Março atuam 240 PMs divididos em dois turnos. Do final de 2009. Além disso, os clientes têm mais espaço para circular.
O secretário das Subprefeituras admite que o problema dos camelôs é de difícil solução, mas está confiante. Ele afirma que "São Paulo é como uma bexiga cheia de água: quando você a aperta de um lado, o líquido escorre para outro. Mas de todas as experiências testadas pela administração municipal para combater o comércio irregular, o convênio com o Polícia Militar foi a que apresentou os melhores resultados até agora".
(Revista Veja, março de 2010. Adaptado)
De acordo com o texto, a participação dos policiais militares na fiscalização dos ambulantes
Provas
Questão presente nas seguintes provas
Assinale a alternativa correta, baseando-se na barra de tarefas do MS - Windows XP, na sua configuração padrão.

Provas
Questão presente nas seguintes provas
Assinale a alternativa correta em relação aos fármacos anti-virais
Provas
Questão presente nas seguintes provas
A Aeromoníase, causada pela Aeromonas hydrophila é uma das bactérias patogênicas mais comuns em crocodilianos cativos, quelônios aquáticos e outros répteis. Sobre essa bactéria, pode-se afimar que:
Provas
Questão presente nas seguintes provas
Houve um caso de meningite meningocócica em uma creche, levando uma das crianças a óbito. A vigilância epidemiológica local indicou a administração de rifampicina para todos os comunicantes respiratórios da criança.
Assinale a alternativa que contenha uma orientação necessária de ser dada à população que deverá receber o medicamento.
Provas
Questão presente nas seguintes provas
143730
Ano: 2010
Disciplina: TI - Desenvolvimento de Sistemas
Banca: VUNESP
Orgão: Pref. Sorocaba-SP
Disciplina: TI - Desenvolvimento de Sistemas
Banca: VUNESP
Orgão: Pref. Sorocaba-SP
Provas:
Assinale a alternativa que apresenta o código-fonte correto em HTML, para gerar a tela a seguir.
Informe nome do funcionário para pesquisa: 


Provas
Questão presente nas seguintes provas
Com relação às secreções pulmonares, assinale a alternativa correta.
Provas
Questão presente nas seguintes provas
Cadernos
Caderno Container