Foram encontradas 1.320 questões.
Eº Red Cu2+/Cu = +0,34 V
Eº Red Ag+/Ag = +0,80 V
Provas
Disciplina: TI - Redes de Computadores
Banca: CESGRANRIO
Orgão: Transpetro
A respeito das funcionalidades indicadas, um switch de camada 3 apresenta
| Encaminha IP | Arquitetura de encaminhamento | Suporte a WAN |
Provas
A equação de estado de um gás é a seguinte:
!$ p= \large{RT \over v-b} - \large {a \over \sqrt{Tv} (v + b)} !$
Nessa equação, a, b e R são constantes, p é a pressão, v é o volume molar, e T é a temperatura termodinâmica do gás. Seja s a entropia molar do gás. A derivada parcial (∂s/∂v)T é dada pela expressão
Provas
Em um depósito de 10 m de espessura de silte arenoso, o nível de ascensão capilar no trecho em que o solo se encontra saturado é de 2 m acima do nível do lençol freático, conforme é mostrado no desenho esquemático a seguir.

O perfil de poropressão no solo, considerando-se o efeito da capilaridade e o peso específico da água de 10 kN/m3, está representado em:
Provas
Uma das metodologias de dimensionamento de estruturas de contenção de solos requer a determinação do diagrama de tensões horizontais atuando sobre a contenção, para o cálculo do empuxo ativo. O desenho esquemático a seguir mostra um muro de arrimo de 10 m de altura, sem ocorrência de nível d’água e sem sobrecarga.

No estado ativo, a variação das tensões horizontais efetivas atrás do muro é representada esquematicamente pela figura
Provas
Em um determinado terreno, há uma camada com 5,0 metros de espessura de areia siltosa, sob a qual existe uma camada de 4,0 metros de argila, que repousa sobre uma camada de rocha impermeável.
No caso de o nível de água estar em equilíbrio na cota – 2,5 m, e a porção da areia siltosa acima dessa cota estar saturada por capilaridade, qual dos gráficos representa mais adequadamente os valores da tensão efetiva e da poropressão no perfil desse terreno?
Provas
Uma caixa é abandonada no alto de um plano inclinado e passa a deslizar sem atrito sobre ele, como mostra a figura.

Considere os gráficos da velocidade da caixa em função do tempo.
O gráfico mais adequado dessa velocidade é:
Provas
Considere o circuito mostrado na figura a seguir.

Dentre as opções, a que representa adequadamente a forma de onda da tensão elétrica no ponto P em relação a terra, é
Provas

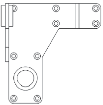
A figura acima representa a vista isométrica, no primeiro diedro, de um suporte com mancais deslizantes M1 e M2 e uma guia G1.
A vista frontal da peça acima, no primeiro diedro, é
Provas

A representação convencional, das roscas, no primeiro diedro, iguais, do pino DIN 835 M16x1,5x75, mostrado acima, é
Provas
Caderno Container