Foram encontradas 540 questões.
Na Figura abaixo, representa-se uma força concentrada F, aplicada à extremidade da viga biapoiada ABCD,
com o objetivo de elevar uma carga posicionada conforme indicado.
O menor valor da força F, expressa em newtons, para elevar uma carga P de 2.100 N, que faz com que a reação no apoio A seja nula, é
O menor valor da força F, expressa em newtons, para elevar uma carga P de 2.100 N, que faz com que a reação no apoio A seja nula, é
Provas
Questão presente nas seguintes provas
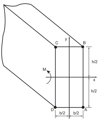
Uma viga de seção transversal retangular de dimensões
b x h é submetida a um momento fletor M, conforme indicado na Figura.
A tensão normal compressiva máxima na seção mostrada atuará no(s) ponto(s)
A tensão normal compressiva máxima na seção mostrada atuará no(s) ponto(s)
Provas
Questão presente nas seguintes provas
Nos procedimentos executivos de fundações rasas, diretas ou superficiais, no caso de serem utilizados equipamentos mecânicos para escavação em solos, a profundidade de escavação com esses equipamentos deve ser
interrompida a uma certa altura acima da cota de assentamento prevista, devendo a parcela final da escavação ser
removida manualmente.
Essa altura mínima acima da cota de assentamento, recomendada por norma de execução de fundações, em centímetros, é de
Essa altura mínima acima da cota de assentamento, recomendada por norma de execução de fundações, em centímetros, é de
Provas
Questão presente nas seguintes provas
Na montagem do gabarito para locação das fundações
de uma certa obra, não havia equipamentos específicos
que garantissem a perpendicularidade entre as faces L1
e L2 do gabarito. Dispondo-se apenas de trena, a perpendicularidade entre as direções L1 e L2 foi garantida por
medidas marcadas a partir de P0 (vértice do gabarito no
encontro de L1 com L2):
• na direção L1, foi marcado o ponto P1, distando 2,0 m do vértice; • na direção de L2, foi marcado o ponto P2, distando 1,50 m do vértice.
Assim, para que P0P1 seja perpendicular a P0P2, a distância P1P2, em metros, deve ser de
• na direção L1, foi marcado o ponto P1, distando 2,0 m do vértice; • na direção de L2, foi marcado o ponto P2, distando 1,50 m do vértice.
Assim, para que P0P1 seja perpendicular a P0P2, a distância P1P2, em metros, deve ser de
Provas
Questão presente nas seguintes provas
Considere a construção de uma área com 100 m de comprimento e 30 m de largura para depósitos de tubos de
aço. O piso será em concreto de 15 cm de espessura,
com traço que consumirá 7 sacos de 50 kg de cimento em
cada metro cúbico.
Sabendo-se que o preço unitário do saco de 50 kg de cimento é R$ 40,00 e que devem ser considerados 2% de acréscimo por causa das perdas, o custo total do insumo cimento, em reais, para esse serviço é de
Sabendo-se que o preço unitário do saco de 50 kg de cimento é R$ 40,00 e que devem ser considerados 2% de acréscimo por causa das perdas, o custo total do insumo cimento, em reais, para esse serviço é de
Provas
Questão presente nas seguintes provas
Durante a marcação de uma faixa de dutos, um técnico
observou que uma medida não estava cotada no desenho, cuja escala era 1:2.000. Para a determinação do valor a ser marcado e dispondo apenas de uma régua em
centímetros, ele mediu o desenho e viu que a medida não
cotada correspondia a 15 cm.
Fazendo os cálculos, o técnico concluiu que a medida a ser marcada, em metros, é de
Fazendo os cálculos, o técnico concluiu que a medida a ser marcada, em metros, é de
Provas
Questão presente nas seguintes provas
A estrutura representada na Figura abaixo é constituída
de 3 barras unidas pelo pino B. Considere que as barras
1 e 2 tenham área de seção transversal de 1,0 cm2
, e a
barra 3, área de 1,2 cm2
.
As tensões normais que atuam nas barras 1, 2 e 3 para suportar a carga P de 2.400 N são, em MPa, respectivamente, de
As tensões normais que atuam nas barras 1, 2 e 3 para suportar a carga P de 2.400 N são, em MPa, respectivamente, de
Provas
Questão presente nas seguintes provas
Dentre os aspectos geológicos estudados pela Engenharia Civil estão o ciclo hidrológico e as águas subterrâneas,
que envolvem, dentre outros, a porosidade e a permeabilidade dos solos.
Considere os seguintes tipos de solo/rocha:
I - areia grossa a média II - cascalho III - areia fina e silte IV - folhelho não fraturado V - rocha metamórfica VI - folhelho fraturado
A sequência que indica a ordem decrescente de porosidade dos tipos de solo/rocha é
Considere os seguintes tipos de solo/rocha:
I - areia grossa a média II - cascalho III - areia fina e silte IV - folhelho não fraturado V - rocha metamórfica VI - folhelho fraturado
A sequência que indica a ordem decrescente de porosidade dos tipos de solo/rocha é
Provas
Questão presente nas seguintes provas
Na limpeza e no acerto de um terreno em um trecho de
uma faixa de dutos com medidas de 20 m por 40 m, foram
necessários 4 serventes trabalhando 8 h/dia cada um, durante 5 dias.
Nessas mesmas condições, em quantas horas essa mesma equipe realizaria esse mesmo serviço em um trecho de 20 m por 100 m?
Nessas mesmas condições, em quantas horas essa mesma equipe realizaria esse mesmo serviço em um trecho de 20 m por 100 m?
Provas
Questão presente nas seguintes provas
Considere o cronograma financeiro a seguir, com os percentuais previstos para cada mês de quatro serviços de
uma obra.
Sabe-se que a representação financeira de cada atividade em relação ao custo total da obra é
Nessas condições, ao final do mês 4, o percentual financeiro concluído será de
Sabe-se que a representação financeira de cada atividade em relação ao custo total da obra é
Nessas condições, ao final do mês 4, o percentual financeiro concluído será de
Provas
Questão presente nas seguintes provas
Cadernos
Caderno Container