Foram encontradas 1.194 questões.
- Legislação PrevidenciáriaResoluções do CNASResolução CNAS 145/2004: Política Nacional de Assistência Social
Um dos elementos fundamentais e inovadores que aparecem na política nacional de assistência social do atual governo federal, e que se constitui na base de organização do SUAS – Sistema Único de Assistência Social, está associado ao:
Provas
Questão presente nas seguintes provas
É considerada uma vantagem da via oral.
Provas
Questão presente nas seguintes provas
1742838
Ano: 2008
Disciplina: TI - Organização e Arquitetura dos Computadores
Banca: UFCG
Orgão: UFCG
Disciplina: TI - Organização e Arquitetura dos Computadores
Banca: UFCG
Orgão: UFCG
Provas:
A conversão de 101011110 em binário para octal é:
Provas
Questão presente nas seguintes provas
Responda a questão, com base no Texto II
Texto II
Qualificação profissional, como ela faz falta!
Existe uma unanimidade no mercado de trabalho: qualificação faz muita falta. Essa é uma verdade sentida na pele tanto por profissionais quanto por empregadores. Os profissionais podem nem notar, talvez imaginando que “apenas um diploma basta” – pode até mesmo ser um diploma de nível superior. No entanto, muitos não se dão conta de que chegariam mais longe em suas carreiras e conseguiriam salários mais atrativos se investissem, direta (pagando do próprio bolso, na medida do possível) ou indiretamente (buscando apoio das empresas em que trabalham), na própria especialização.
As empresas também sentem, talvez mais diretamente, os efeitos da falta de qualificação. No final do ano passado, o IPEA – Instituto de Pesquisa Econômica Aplicada – divulgou um estudo que revela que apenas 18% dos desempregados brasileiros têm requisitos necessários para serem absorvidos pelo mercado de mão-de-obra especializada. A realidade aponta que há oportunidades, mas falta gente preparada para aproveitá-las.
Há, porém, casos notáveis de programas mantidos por empresas, especialmente de grande porte, visando à qualificação da mão-de-obra. Essas empresas utilizam-se de institutos que formam profissionais capacitados para seu negócio ou formam parcerias com instituições de ensino.
A educação, que é a mãe da qualificação, é a chave de um ciclo virtuoso que inevitavelmente resulta no crescimento do país e na redução das abismais desigualdades sociais. O caminho é esse, inevitavelmente.
(Jornal da Paraíba – Caderno Concursos e Empregos, domingo, 4 de maio de 2008, p. 1). Com adaptação.
Os parênteses presentes no primeiro parágrafo intercalam estruturas que indicam uma:
Provas
Questão presente nas seguintes provas
As afirmativas a seguir têm relação com projetos de sistemas de proteção de estruturas contra descargas atmosféricas, especificamente quanto ao subsistema de condutores de descida para pára-raios.
I - Estruturas metálicas de torres, postes e mastros, assim como as armaduras de aço interligadas de postes de concreto, constituem descidas naturais até a base das mesmas, dispensando a necessidade de condutores de descida paralelos ao longo da sua extensão.
II - Em construções de alvenaria, ou de qualquer tipo sem armadura metálica interligada, deverão ser implantados sistemas de proteção com descidas externas, que podem ser embutidas.
III - Condutores de descida em alumínio instalados dentro de calhas ou tubos de águas pluviais devem ter capa isolante para evitar problemas de corrosão.
Pode-se concluir que tecnicamente
Provas
Questão presente nas seguintes provas
Quanto à elaboração de cardápios, é preciso considerar a Ciência da Nutrição, exigências dos modernos conceitos científicos de Nutrição, assim como os alimentos diferentes e preços diversos, entre outros fatores. Esses critérios estabelecem
Provas
Questão presente nas seguintes provas
A iluminação artificial, por se tratar da maneira mais fácil de manipular a luz de um determinado espaço, é utilizada para proporcionar aos ambientes de trabalho uma iluminação apropriada tanto do ponto de vista do conforto lumínico, quanto da eficiência energética. Assim, um projeto de iluminação considerado eficiente do ponto de vista energético deve utilizar:
Provas
Questão presente nas seguintes provas
No tocante a serviços na Internet, assinale a alternativa correta:
Provas
Questão presente nas seguintes provas
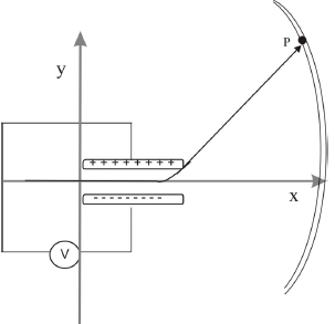
O esquema abaixo representa um corte transversal de um tubo de raios catódicos.

Nele duas placas paralelas carregadas criam no seu interior um campo elétrico uniforme, que faz com que o feixe atinja o ponto S, da tela, formando uma mancha luminosa. Se a tensão uniforme V aplicada às placas for substituída por uma tensão alternada, a tela do tubo mostrará
Provas
Questão presente nas seguintes provas
De acordo com os dicionários de terminologia arquivística, patrimônio arquivístico é o conjunto dos
Provas
Questão presente nas seguintes provas
Cadernos
Caderno Container