Foram encontradas 20.456 questões.
Observe a figura a seguir e responda a questão.

Nos circuitos amplificadores de sinais, semelhantes aos apresentados na figura, elementos passivos chamados de capacitores de acoplamento são normalmente utilizados na entrada e saída do estágio de amplificação. A principal função desse capacitor é:
Provas
Questão presente nas seguintes provas
Observe o circuito abaixo:

O valor máximo da amplitude da corrente, em A, que circula pelo resistor é igual a:
Provas
Questão presente nas seguintes provas
Os pares de equações a seguir representam a corrente i(t) e a voltagem v(t) alternadas em determinado componente elétrico. O par que corresponde a um capacitor é:
Provas
Questão presente nas seguintes provas
Um técnico em eletrônica precisa especificar o tipo de saída do CLP que será comprado para o laboratório. Sabe-se que as saídas desse CLP serão usadas na comutação de sinais CC e também na comutação de sinais CA.
O tipo de saída que deve ser escolhido é o:
Provas
Questão presente nas seguintes provas
Os termos “fornecimento de corrente” e “absorção de corrente” são usados para descrever a maneira pela qual os dispositivos CC são conectados ao CLP. A figura abaixo mostra dois módulos de entrada dos CLPs.

Com base nesses dados, pode-se afirmar que os módulos de entrada dos CLPs A e CLPs B funcionam da seguinte maneira:
Provas
Questão presente nas seguintes provas
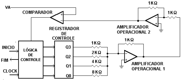
A figura abaixo apresenta um diagrama simplificado de um conversor A/D de aproximações sucessivas. A tensão analógica de entrada é VA e a saída digital é representada pelos bits Q3, Q2, Q1 e Q0, sendo Q3 o bit mais significativo. Para cada bit, o nível lógico ‘0’ é 0 volts e o nível lógico ‘1’ é +5 volts.

Os respectivos valores da saída digital para as tensões de entrada de 8,4 V; 5,8 V e 2,9 V são:
Provas
Questão presente nas seguintes provas
Observe a figura a seguir e responda a questão.

O circuito mostrado na figura é alimentado por uma fonte de tensão alternada cujo valor de pico tem módulo Vi igual 10 V. A forma de onda é retangular e simétrica. Ao observar a tensão de saída, notou-se que o pico de tensão de saída, entre os terminais A e B, é diferente de 10 V positivo. Essa tipologia de circuito é denominada circuitos
Provas
Questão presente nas seguintes provas
Considere um CLP genérico com duas entradas X100 e X101 e uma saída Y200. Segundo a norma IEC 1131-3, que descreve as linguagens de programação para CLPs, foi escrito o programa abaixo em lista de instruções:
LDN X100
ANDN X101
ST Y200
ANDN X101
ST Y200
A função lógica que será implementada quando o programa for executado é:
Provas
Questão presente nas seguintes provas
As fontes de tensão alternadas possuem uma polaridade que varia com o tempo da seguinte forma:
Provas
Questão presente nas seguintes provas
Um circuito lógico combinacional é aquele cujas saídas dependem das seguintes entradas:
Provas
Questão presente nas seguintes provas
Cadernos
Caderno Container