Foram encontradas 13.259 questões.
A fragilização por revenido ocorre em alguns aços quando o tratamento térmico do revenido resulta na redução da tenacidade apresentada. A respeito desse comportamento, analise as afirmativas a seguir.
I - A presença de elementos de liga, como manganês, níquel ou cromo, e de possíveis impurezas entre os elementos antimônio, fósforo, arsênio e estanho, com concentração relativamente baixa, desloca a transição dúctil-frágil para temperaturas mais elevadas.
II - Quando a curva no ensaio Charpy se desloca para a direção de maiores temperaturas, a temperatura ambiente se situa abaixo da temperatura de transição, no regime de fragilidade.
III - A propagação de trincas nos materiais fragilizados por revenido é transgranular ao longo da fase austenítica.
Está correto o que se afirma em
Provas
Questão presente nas seguintes provas

Observe o gráfico de fluência acima para um determinado material e analise as afirmativas a seguir.
I - A curva de fluência típica mostra três regiões: a região A, primária ou transiente, é caracterizada por uma taxa de fluência continuamente crescente, enquanto, na região C, ao contrário, ocorre uma aceleração da fluência até a ruptura, em um menor tempo quando se aplica maior tensão.
II - Na região B, a fluência ocorre em regime estacionário, onde a relação da variação da tensão (ii) com o tempo (iii) é constante.
III - A curva (i-iv) representa o ensaio de tensão constante com temperatura constante, enquanto, na curva (i-v), a carga é mantida constante.
Está correto APENAS o que se afirma em
Provas
Questão presente nas seguintes provas
A classificação entre fratura frágil e dúctil baseia-se na habilidade do material em apresentar deformação plástica substancial, com grande absorção de energia antes da fratura. Sobre a fratura frágil, analise as afirmativas a seguir.
I - Está relacionada à propagação de trincas e apresenta superfície sem grandes deformações plásticas aparentes, ao contrário da fratura dúctil, que apresenta superfície característica em forma de taça e cone.
II - Pode ser analisada por exame microscópico (MEV), denominado fractografia para observar as microcavidades esféricas remanescentes.
III - É possível avaliar a fratura nos contornos dos grãos quando apresenta forma transgranular.
Está correto APENAS o que se afirma em
Provas
Questão presente nas seguintes provas

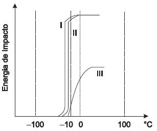
Observando os resultados dos ensaios Charpy para diferentes aços-carbono em função da temperatura, relacione os metais I, II e III, expostos na figura acima, com algumas das características apresentadas abaixo.
P - Tem o maior teor de carbono em relação aos demais.
Q - Tem o menor teor de carbono em relação aos demais.
R - É o mais frágil a 0 ºC.
S - É o mais dúctil a 0 ºC.
T - Alcança a menor altura após o impacto em relação aos demais.
A relação correta é
Provas
Questão presente nas seguintes provas
Uma parede de aço possui 10 cm de espessura e uma seção reta de 10 cm por 20 cm. Considerando-se que a condutividade térmica do aço é dada por 46 W/(m.K), a resistência térmica dessa parede é dada, em K/W, por
Provas
Questão presente nas seguintes provas
Em um determinado experimento realizado com uma amostra de 660 g de bismuto em um calorímetro de alumínio, contendo 500 g de água, sabe-se que a temperatura final de equilíbrio é de 30 ºC. Nesse experimento, a temperatura inicial da água é de 20 ºC, e a do bismuto é de 110 ºC. Considerando-se que o calor específico da água vale 4,2 kJ/kg.K, o calor recebido pela água é dado, em kJ, por
Provas
Questão presente nas seguintes provas
Um dos exemplos de operações unitárias numa indústria são os processos de transferência de calor. Nesses processos térmicos, são utilizados trocadores de calor.
A esse respeito, considere as afirmativas abaixo.
I – A transferência de calor se dá pelo contato ou pela mistura dos fluidos.
II – A transferência de calor se dá através de uma parede que separa as partes com temperaturas diferentes.
III – O radiador dos automóveis é um exemplo de trocador de calor, em que a água quente troca calor com o ar ambiente.
Está correto o que se afirma em
Provas
Questão presente nas seguintes provas
Utilizando uma corrente de 100 mA, a eletrodeposição de 1,0 g de níquel a partir de Ni2+ (aq), sobre uma bijuteria de aço inox levaria o tempo, em minutos, de
Dados:
Massa molar do níquel = 58,7 g/mol
Constante de Faraday = 9,65 × 104 C/mol
Provas
Questão presente nas seguintes provas
Para se obter exatidão nas medições potenciométricas, deve-se minimizar o potencial de junção líquida, que é causado
Provas
Questão presente nas seguintes provas
Quando uma molécula absorve radiação eletromagnética na região do visível, provoca transições
Provas
Questão presente nas seguintes provas
Cadernos
Caderno Container