Foram encontradas 948 questões.
Disciplina: Engenharia de Transportes e Trânsito
Banca: VUNESP
Orgão: MPE-SP
Provas
Disciplina: Engenharia de Transportes e Trânsito
Banca: VUNESP
Orgão: MPE-SP
Os itens I e II são características de níveis de serviços para vias urbanas.
I. Nível de serviço em que ocorre a queda de velocidade média devido aos atrasos e conflitos entre veículos nas interseções, porém com 70% da velocidade de fluxo livre e onde os motoristas não sofrem incômodos operacionais.
II. Nível de serviço aproximando-se no fluxo instável. Velocidade média cai para 40% da velocidade de fluxo livre. Atrasos nas interseções tornam-se grandes.
Assinale a alternativa que corresponde à caracterização dos níveis de serviço dos itens I e II respectivamente.
Provas
Disciplina: Engenharia de Transportes e Trânsito
Banca: VUNESP
Orgão: MPE-SP
Quando em determinado trecho de via houver instalado medidor de velocidade do tipo fixo, os equipamentos dos tipos estático, portátil e móvel somente poderão ser utilizados a uma distância mínima, daquele equipamento, de _____________ em vias urbanas e trechos de vias rurais com características de via urbana e __________ em vias rurais e vias de trânsito rápido.
Assinale a alternativa que preenche, correta e respectivamente, as lacunas do texto.
Provas
Disciplina: Engenharia de Transportes e Trânsito
Banca: VUNESP
Orgão: MPE-SP
Observe os sinais a seguir.

Assinale a alternativa que contém os sinais que regulamentam o sentido de circulação de uma via.
Provas
Disciplina: Engenharia de Transportes e Trânsito
Banca: VUNESP
Orgão: MPE-SP
Observe a figura a seguir.

Com relação ao sinal R-2 – “Dê a preferência”, representado na figura, é correta a seguinte afirmação:
Provas
Disciplina: Engenharia de Transportes e Trânsito
Banca: VUNESP
Orgão: MPE-SP
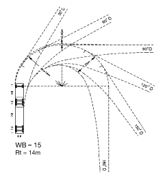
A figura a seguir representa um gabarito de raio mínimo para um veículo de projeto com máquina tratora e reboque.

A área necessária para atender ao deslocamento do veículo está compreendida entre a trajetória descrita pelo
Provas
Disciplina: Engenharia de Transportes e Trânsito
Banca: VUNESP
Orgão: MPE-SP
A rua A, a partir do cruzamento com a rua B, passa a ter duplo sentido de circulação, conforme ilustrado a seguir.

Assinale a alternativa que apresenta a sinalização obrigatória que deve ser colocada para regulamentar esta situação.
Provas
Disciplina: Engenharia de Transportes e Trânsito
Banca: VUNESP
Orgão: MPE-SP
Cor dos sinais A,B,C: orla interna, símbolo e mensagem pretos, orla externa e fundo amarelos.
Cor do sinal D: orla interna e mensagem pretos, orla externa e fundo brancos.
Para advertir do início de uma faixa com circulação exclusiva de ônibus, deve ser utilizado o
Provas
Disciplina: Engenharia de Transportes e Trânsito
Banca: VUNESP
Orgão: MPE-SP
Ao avaliar um cruzamento, ilustrado na imagem a seguir, o técnico decidiu dar preferência de passagem a uma das vias, obrigando o condutor da via A a parar antes de cruzar.

Assinale a alternativa que contém a sinalização de regulamentação a ser implantada nas aproximações da via A.
Provas
Disciplina: Engenharia de Transportes e Trânsito
Banca: VUNESP
Orgão: MPE-SP
Observe a figura a seguir.

Cor do sinal: orla interna e mensagem pretas, orla externa e fundo amarelos.
Quanto à sinalização proposta na figura, é correto afirmar que
Provas
Caderno Container