Foram encontradas 225 questões.
Analise as seguintes afirmativas referentes à modulação / demodulação QAM, assinalando com V as verdadeiras e com F as falsas.
( ) O emprego de amplificadores em classe C nos equipamentos de transmissão facilita a recepção do sinal QAM.
( ) O sinal QAM quadribits proporciona uma velocidade de transmissão quatro vezes maior que a de modulação.
( ) Os sinais QAM e QPSK utilizam demoduladores semelhantes, diferenciados pelo circuito de decisão.
( ) Apresentando uma constelação com maior número de símbolos, o sinal QAM exige uma velocidade de modulação menor.
( ) Alterando-se dois dos parâmetros da onda portadora, colocados em quadratura, tem-se o 16 QAM.
Assinale a sequência CORRETA.
Provas
Analise o diagrama em blocos a seguir.

Em seguida, analise as seguintes afirmativas relacionadas a esse diagrama de blocos, assinalando com V as verdadeiras e com F as falsas.
( ) A função da pré-ênfase é manter o desvio de frequência independente da frequência do sinal modulante.
( ) O circuito modulador em frequência cumpre três funções básicas: oscilador em 18 MHz, modulador de reatância e triplicador de frequência.
( ) O limitador de desvio garante um sinal modulado de amplitude constante e frequência proporcional à frequência modulante.
( ) Ao multiplicarmos a frequência do sinal modulado em FM, aumenta-se sua frequência, mantendo-se o mesmo desvio de frequência.
( ) Os estágios de potência desse transmissor empregam dispositivos semicondutores em função da baixa potência transmitida.
Assinale a sequência CORRETA.
Provas
Observe a seguir o diagrama em blocos de um receptor super-heterodino.

Com relação a esse receptor super-heterodino, é CORRETO afirmar:
Provas
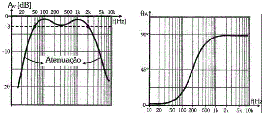
Observe a seguir os gráficos referentes a um filtro RLC.

Com relação a esses gráficos, é CORRETO afirmar que:
Provas
São representações de um estado de processo dentro do sistema operacional, EXCETO:
Provas
Na manutenção de componentes elétricos automotivos, é comum a retirada de polias e de rolamentos.
Assinale a alternativa que apresenta a ferramenta mais adequada para a extração de polias e rolamentos.
Provas
Observe a figura a seguir.

Nessa figura, apresenta-se um alto-falante do tipo:
Provas
Observe a seguir a descrição de um componente veicular.

Nessa figura, descrevem-se as funções do:
Provas
O proprietário de um veículo trocou um minifusível do tipo blade de cor cinza por outro de cor amarela.
Após essa operação, é CORRETO afirmar que:
Provas
Os mergulhos em altitudes elevadas, acima de 300 metros acima do nível do mar, exigem cuidados especiais. Um importante cuidado é a correção da tabela de mergulho. Certo método de correção utilizado considera uma profundidade fictícia em metros (PF), a ser utilizada nos cálculos de descompressão em tabelas, no lugar da profundidade real do mergulho em metros (PR). Para se obter o valor de PF, se utiliza a
expressão
, em que Alt é a altitude (elevação) em metros da superfície do local de mergulho. Em uma cidade com 1.000 metros de altitude, um mergulhador usou para consultar a tabela a profundidade fictícia de 7,6 metros.
Assim, a profundidade real do mergulho, em metros, é:
Provas
Caderno Container