Foram encontradas 60 questões.
O Conselho Nacional de Saúde é procurado por várias instâncias como: usuários, trabalhadores, gestores, diferentes entidades da sociedade civil (como Organizações não governamentais e órgãos de exercício profissional), entre outros, com a finalidade de sanar dúvidas e obter esclarecimentos sobre o plano de gestão. Neste sentido, também é indicado aos membros dos conselhos de saúde fiscalizar o andamento dos serviços. Em relação à fiscalização dos conselheiros de saúde, analise as afirmativas abaixo e dê valores Verdadeiro (V) ou Falso (F).
( ) "É recomendada a leitura do Plano de Saúde e as deliberações apresentadas no relatório da última Conferência de Saúde da cada região."
( ) "São indicadas visitas ás unidades de saúde, sem agendamento ou aviso prévio, com a finalidade de analisar a compatibilidade do serviço com critérios pré-definidos."
( ) "É orientado conversar com usuários e com trabalhadores de saúde, levantando informações e percepções sobre a qualidade e deficiências dos serviços de saúde."
Assinale a alternativa que apresenta a sequência correta de cima para baixo.
Provas
Questão presente nas seguintes provas
1846604
Ano: 2019
Disciplina: Legislação Específica das Agências Reguladoras
Banca: IBFC
Orgão: EBSERH
Disciplina: Legislação Específica das Agências Reguladoras
Banca: IBFC
Orgão: EBSERH
Provas:
Os serviços de saúde devem garantir a segurança do seu paciente. Para auxiliar nesse manejo do cuidado, foi criada a Resolução da Diretoria Colegiada (RDC) de nº 36, de 25 de julho de 2013, com objetivo de instituir ações para promoção da segurança do paciente e a melhoria da qualidade nos serviços de saúde.
Em relação à vigilância, monitoramento e notificações de eventos adversos, assinale a alternativa correta.
Provas
Questão presente nas seguintes provas
Leia abaixo parte do Art. 1º da Lei nº 8142/1990, que discorre sobre a participação popular no Sistema Único de Saúde (SUS).
"O Conselho de Saúde, em caráter permanente e deliberativo, órgão colegiado composto por representantes do governo, prestadores de serviço, e , atua na formulação de estratégias e no controle da execução da política de saúde na instância correspondente, inclusive nos aspectos econômicos e financeiros, cujas decisões serão homologadas pelo chefe do poder constituído em cada esfera do governo".
Assinale a alternativa que preencha correta e respectivamente as lacunas
Provas
Questão presente nas seguintes provas
Adaptado
A terceira edição da pesquisa Nossa Escola em (Re)Construção ouviu estudantes dos ensinos fundamental e médio e mostrou que 64% deles
"consideram importante" ter psicólogo na escola para atendê-los.
Os jovens querem profissionais de psicologia na escola "tanto no apoio para lidar com sentimentos, quanto para orientar sobre o que venham a fazer no futuro".
"Há uma preocupação entre os alunos de que as escolas apoiem no desenho do futuro deles", destaca Tatiana Klix, diretora da Porvir, uma plataforma que produz conteúdos de apoio a educadores, que também esteve à frente da pesquisa.
A atuação permanente de psicólogos nas escolas está prevista em projeto de lei (PL) aprovado pelo Congresso Nacional.
A pesquisa ouviu 258.680 estudantes, de 11 a 21 anos, de todo o Brasil. A maior participação na pesquisa foi de estudantes da Região Sudeste (63,5%).
A maioria passou a maior parte da vida escolar em escolas públicas (93,4%), tinha de 15 a 17 anos (58%), é formada de meninas (52%) e se define de cor parda (42%).
Fonte: https://www.metrojornal.com.br/foco/2019/11/30/maioriaestudantes-
psicologo-escolas.html
Leia o trecho: 'Há uma preocupação entre os alunos de que as escolas apoiem no desenho do futuro deles', destaca Tatiana Klix, diretora da Porvir, uma plataforma que produz conteúdos de apoio a educadores, que também esteve à frente da pesquisa." e assinale a alternativa incorreta.
Provas
Questão presente nas seguintes provas
Considerando que os símbolos !$ \land !$, !$ \lor !$, !$ \rightarrow !$ e !$ \leftrightarrow !$ representem operadores lógicos e significam "e", "ou", "então" e "se e somente se", respectivamente, análise os seguintes testes lógicos e dê valores de Verdadeiro (V) ou Falso (F).
( ) !$ \begin {pmatrix} 32 \, - \, 3 \, \times \, 12 \, = \, -4 \, \land \, 12 \, + \, 15 \, = \, 27 \end {pmatrix} !$
( ) !$ \begin {pmatrix} 15 \, + \, 2 \, \ne \, 17 \, \vee \, 18 \, - \, 9 \, = \, 9 \end {pmatrix} !$
( ) !$ \begin {pmatrix} 12 \, \div \, 4 \, = \, 4 \, \leftrightarrow \, 25 \, - \, 13 \, = \, 12 \, \end {pmatrix} !$
( ) !$ \begin {pmatrix} 48 \, \div \, 4 \, = \, 12 \, \rightarrow \, 16 \, + \, 17 \, \ne \, 33 \, \end {pmatrix} !$
( ) !$ \begin {pmatrix} 13 \, + \, 12 \, = \, 9 \, \vee1 \, + \, 1 \, = \, 3 \end {pmatrix} !$
Assinale a alternativa que apresenta a sequência correta de cima para baixo.
Provas
Questão presente nas seguintes provas
[Texto 1]
Trecho do artigo Trabalho e Existência produzido pelo Sesc São Paulo.
As atividades humanas designadas como trabalho, para além de seu caráter utilitário, também são responsáveis por construir identidades. Uma vez que organizam o tempo, determinam as relações entre os indivíduos e configuram sua autorrepresentação, torna-se compreensível que nos entendamos em função das atividades laborais que exercemos.
Catálogo impresso Publicação Sesc SP - Nós, criação,
trabalho e cidadania. Novembro de 2019.
[Texto 2]

Fonte: https://miro.medium.com/max/1428/1*KnVD0-
e3SVhEsygcJ6L-mg.jpeg
Sobre a interpretação dos textos, assinale a alternativa correta.
Provas
Questão presente nas seguintes provas
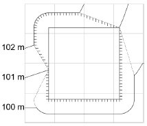
O mapa em escala a seguir representa um terreno inclinado com suas curvas de nível representadas de metro em metro.

Uma plataforma horizontal quadrada com lado de 24 metros foi executada no centro deste terreno, na cota 101 metros, através de terraplenagem com cortes e aterros, e taludes de 1:1 nas bordas.
Assinale a alternativa que representa corretamente o desenho em escala do terreno depois da execução da obra descrita.
Provas
Questão presente nas seguintes provas
De acordo com o Capítulo III do Código de Ética e Conduta da Empresa Brasileira de Serviços Hospitalares (EBSERH), sobre os compromissos de conduta, os princípios éticos e morais são fundamentais para o trabalho. Em relação ao Art. 6º, sobre os princípios e valores norteadores e compromissos de conduta, assinale a alternativa incorreta.
Provas
Questão presente nas seguintes provas
A Norma Brasileira "NBR 9077 - Saídas de emergência em edifícios", da Associação Brasileira de Normas Técnicas (ABNT), expressa a largura mínima de uma unidade de passagem. Assinale a alternativa que contém o valor correto desta largura.
Provas
Questão presente nas seguintes provas
[Texto 1]
Trecho do artigo Trabalho e Existência produzido pelo Sesc São Paulo.
As atividades humanas designadas como trabalho, para além de seu caráter utilitário, também são responsáveis por construir identidades. Uma vez que organizam o tempo, determinam as relações entre os indivíduos e configuram sua autorrepresentação, torna-se compreensível que nos entendamos em função das atividades laborais que exercemos.
Catálogo impresso Publicação Sesc SP - Nós, criação,
trabalho e cidadania. Novembro de 2019.
[Texto 2]

Fonte: https://miro.medium.com/max/1428/1*KnVD0-
e3SVhEsygcJ6L-mg.jpeg
Assinale a alternativa que indica o sentido correto do emprego do termo "para" no trecho: "Trabalhar para ganhar a vida".
Provas
Questão presente nas seguintes provas
Cadernos
Caderno Container