Foram encontradas 80 questões.

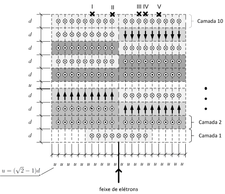
Um feixe de elétrons penetra em uma região, dividida em camadas espaçadas de acordo com as dimensões mostradas na figura, que está sujeita a um campo magnético heterogêneo. Em cada camada, a direção e o sentido do campo magnético mudam (vide figura), mas seu módulo será sempre constante. Note que na figura existem áreas desprovidas de campo magnético. Sabendo que, após passar pela primeira camada, o feixe descreve um arco de 1/8 de circunferência, ele sairá na camada 10 no ponto:
Provas
Um engenheiro recebe a tarefa de elaborar um anteprojeto para estabelecer alguns parâmetros de desempenho referentes a uma usina termelétrica a carvão que será empregada em situações emergenciais. Esta usina trabalhará segundo um ciclo termodinâmico e, em seu estudo, o engenheiro estabelece as afirmativas abaixo:
Afirmativa I: Se a temperatura da fonte fria for de 300 K e se o ciclo apresentar rendimento real correspondente a 75% do rendimento do Ciclo de Carnot associado, então a temperatura da fonte quente será de 750 K, para as condições de projeto.
Afirmativa II: A taxa de transferência de calor para a fonte fria nas condições de projeto será de 55/3 MW.
Afirmativa III: Nas condições de projeto, o consumo de carvão necessário para garantir o funcionamento ininterrupto da usina durante uma semana será de 560 toneladas.
Condições de projeto:
• rendimento do ciclo: 45 %;
• calor de combustão do carvão: 36 kJ/g; e
• potência disponibilizada pela usina: 15 MW.
Diante do exposto, está(ão) correta(s) a(s) afirmativa(s):
Provas

Em um experimento, dois objetos de massas m1 e m2 partem, respectivamente, das posições 0 e 30 m do mesmo eixo horizontal. Suas velocidades são programadas de acordo com os gráficos lineares mostrados nas Figuras 1 e 2, até que, na iminência de colisão perfeitamente inelástica entre elas, o sistema de controle das velocidades é desativado, mantendo-se a inércia de seus movimentos.
A razão m2/m1 para que, após a colisão, os objetos retornem unidos à posição 0 e com velocidade constante de módulo 2 é:
Provas

Um objeto de formato cúbico, com aresta de comprimento !$ L !$ e de massa específica !$ \mu_{obj} !$ , encontra-se apoiado no fundo do mar, devendo ser içado por meio de um balão de borracha de massa !$ m_b !$, que apresenta volume interno !$ V !$ de ar ajustável. A figura ilustra a situação descrita, com o centro do balão posicionado a 10 m de profundidade. O volume !$ V !$ do balão, em m3, relaciona-se com a diferença de pressão !$ \Delta p !$, em atm, entre a pressão interna e a externa do balão pela seguinte equação:
!$ \Delta _p = 1,4 V^2 - 1,2 V + 1,8 !$
para !$ 1 \le V \le 3 !$.
Dados:
• massa do balão: !$ m_b = 50 kg !$;
• massa do cabo: !$ m_c = 100kg !$;
• comprimento da aresta do objeto cúbico: !$ L = 1 \ m !$;
• aceleração da gravidade: !$ g = 10 m/s^2 !$;
• massa específica do objeto: !$ \mu_{obj} = 2850 kg/m^3 !$;
• massa específica da água: !$ \mu_{agua} = 1000 kg/m^3 !$; e
• 1 atm = !$ 10^5 Pa !$.
Observações:
• o ar acima da superfície da água encontra-se a 1 atm de pressão;
• desconsidere o volume do cabo e a massa do ar internamente ao balão; e
• para efeito do cálculo da pressão hidrostática sobre o balão, considere que todo o volume !$ V !$ esteja posicionado na mesma profundidade de seu centro.
A pressão interna mínima do balão, em atm, a partir da qual será iniciado o movimento do objeto é:
Provas

As Figuras 1 e 2 apresentam, respectivamente, as formas de onda da tensão !$ V_{carga}(t) !$ e da corrente !$ i_{carga}(t) !$ sobre o dispositivo eletrônico hipotético da Figura 3. Para o instante de tempo !$ t = 3 \ s !$, a potência fornecida ao circuito pela fonte de tensão !$ (V_F) !$, em W, é:
Provas
Você está desenvolvendo um sistema embarcado autônomo para desinfecção de ambientes. O sistema é composto por um carrinho elétrico com uma lâmpada e uma bateria. Para que o processo de desinfecção funcione apropriadamente, o sistema deverá deslocar-se com velocidade constante por um piso rugoso.
Dados:
• massa do carrinho: 6 kg;
• massa da bateria: 4 kg;
• tensão da bateria: 24 V;
• massa da lâmpada: 2 kg;
• coeficiente de atrito cinético: 0,2;
• aceleração da gravidade: 10 m/s2;
• velocidade do sistema: 0,5 m/s; e
• potência da lâmpada: 96 W.
Considerações:
• as perdas do motor do carrinho são desprezíveis; e
• a energia da bateria necessária para fazer o carrinho chegar a velocidade de funcionamento do sistema é desprezível.
Sabendo que a bateria fornece energia para o carrinho e para a lâmpada e que, para a perfeita desinfecção da sala, o sistema deve trabalhar durante 90 minutos, a mínima capacidade da bateria do sistema, em mAh, é:
Provas

O sistema da figura acima é composto por duas barras articuladas B1 e B2, uma roldana R e um fio inextensível, todos de massa desprezível, e dois objetos carregados eletricamente O1 e O2. O1 e O2 estão fixados cada um a uma extremidade livre do fio e também à extremidade livre de B1 e B2, respectivamente. O sistema encontra-se em equilíbrio e está estático na posição mostrada na figura.
Dados:
• comprimento total do fio = 31 m;
• massa de O1 = 4 kg;
• massa de O2 = 12 kg; e
• aceleração da gravidade: g = 10 m/s2.
Considerações:
• os objetos O1 e O2 estão carregados eletricamente com cargas opostas;
• as dimensões de O1, O2 e da roldana são desprezíveis; e
• B1 e B2 estão paralelas ao eixo horizontal.
Diante do exposto, o módulo da força elétrica entre os objetos O1 e O2, em N, é aproximadamente:
Provas

Um bloco cúbico homogêneo de aresta !$ L !$ parte do repouso em uma rampa de altura !$ h !$. O bloco desliza sem atrito até que seu vértice P alcance a coordenada !$ x = 0 !$ em uma superfície plana. Sabendo que o coeficiente de atrito cinético é !$ \mu !$ para !$ x \ge 0 !$, a coordenada !$ x_P !$ do vértice P em que o bloco estaciona, considerando que !$ x_P \ge L !$, é :
Provas
Um aluno está em uma nave (referencial !$ S !$) que viaja a uma velocidade v relativa ao professor (referencial !$ S' !$). Em !$ t = t' = 0 !$ (tempo em cada um dos referenciais), a nave passa pelo professor e o aluno inicia uma prova de física. Em !$ t = \tau !$ , um pulso de luz é emitido pelo aluno até o professor e é refletido de volta à nave, quando então a prova é encerrada. Sabendo que a velocidade da luz é !$ c !$ e que !$ \gamma = 1 / \sqrt {1 - v^2 /c^2} !$ , a duração da prova no referencial do professor é:
Provas

fonte: https://pages.mtu.edu/suits/SpeedofSoundOther.html
A tabela mostra a velocidade !$ v !$ do som, a 20 ºC e 1 atm, em seis gases diferentes. Quando um tubo aberto em uma das extremidades é enchido com oxigênio, a frequência do primeiro harmônico do som produzido pelo tubo é 163 Hz. Quando o oxigênio é substituído por um dos cinco gases restantes, a frequência do quinto harmônico do som produzido pelo tubo é 2517,5 Hz. Isso significa que o gás escolhido para o segundo experimento foi o:
Provas
Caderno Container