Foram encontradas 1.145 questões.
No dia 11 de março de 2020, a Organização Mundial da Saúde (OMS) declarou estado de pandemia para a Covid-19. Durante todo o período de pandemia, muito se falou sobre os riscos biológicos e as diretrizes de biossegurança como medidas de prevenção e redução de riscos de contaminação. Protocolos rígidos se fizeram necessários, sobretudo para os profissionais da área da saúde, os quais mantinham-se diretamente expostos à contaminação.
Sobre a biossegurança em ambiente hospitalar, assinale a afirmativa INCORRETA.
Provas
De acordo com a Norma Brasileira ABNT NBR 13.534:2008, que trata de requisitos específicos para instalações elétricas em estabelecimentos assistenciais de saúde, o quadro que representa o ponto de convergência da distribuição elétrica da edificação denomina-se:
Provas
Tomografia computadorizada é um procedimento não invasivo requisitado para diagnóstico.
Considerando as especificidades desta modalidade de exame, é correto afirmar que:
Provas
Gases medicinais e vácuo são transportados até ao paciente por um sistema de tubulações, incluindo alarmes, válvulas, monitores de pressão e conectores.
Sobre o Código de Cores para Sistemas de Gases Medicinais e Vácuo no Brasil, assinale a afirmativa correta.
Provas
As incubadoras são importantes equipamentos inseridos em unidades neonatais. Em relação aos conhecimentos sobre manuseio, preservação e funcionamento deste equipamento, assinale a afirmativa correta.
Provas
A Norma Brasileira ABNT NBR 13.534:2008 estabelece que a diversidade de atividades realizadas em um estabelecimento leva à necessidade de classificar os locais em “grupos”, de acordo com os procedimentos realizados em cada local.
Acerca do tema, e com base na regulamentação mencionada, assinale a alternativa INCORRETA.
Provas
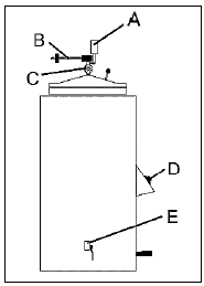
Em um ambiente hospitalar, centrais de esterilização são compostas por equipamentos considerados de apoio no tratamento dos pacientes. Observe a imagem a seguir e assinale a alternativa correta.

Provas
Os oxímetros de pulso são dispositivos usados na avaliação do nível de saturação de oxigênio.
Sobre o seu funcionamento, instalação e rotina para preservação, assinale a afirmativa INCORRETA.
Provas
Um dos maiores problemas enfrentados por grupos de manutenção de equipamentos médico-hospitalares é a falta de um roteiro de manutenção e cuidados criado pelo próprio fabricante do equipamento. Assim, além de realizar a manutenção de prevenção, a equipe técnica precisa criar os roteiros e definir a periodicidade para a ocorrência de manutenções.
Considerando as especificidades dos equipamentos e graus de complexidade para manutenção, assinale a afirmativa correta.
Provas
“O Programa Saúde na Hora foi lançado pela Secretaria de Atenção Primária à Saúde do Ministério da Saúde (Saps/MS) em maio de 2019 e passou por atualizações com a publicação da Portaria nº 397/GM/MS, de 16 de março de 2020. O Programa viabiliza o custeio aos municípios e Distrito Federal para implantação do horário estendido de funcionamento das Unidades de Saúde da Família (USF) e Unidades Básicas de Saúde (UBS) em todo o território brasileiro.”
(Programa Saúde na Hora. Secretaria de Atenção Primária à Saúde – SAPS. Ministério da Saúde.)
Sobre as ações previstas no Programa Saúde na Hora, marque V para as afirmativas verdadeiras e F para as falsas.
( ) Ofertar ações de saúde em horários mais flexíveis para a população como horários noturno e do almoço.
( ) Diminuir filas em unidades de pronto atendimento e emergências hospitalares.
( ) Reduzir custos em outros níveis de atenção.
A sequência está correta em
Provas
Caderno Container