Foram encontradas 100 questões.
Moradores de Higienópolis admitiram ao jornal Folha de S. Paulo que a abertura de uma estação de metrô na avenida Angélica traria “gente diferenciada” ao bairro. Não é difícil imaginar que alguns vizinhos do Morumbi compartilhem esse medo e prefiram o isolamento garantido com a inexistência de transporte público de massa por ali.
Mas à parte o gosto exacerbado dos paulistanos por levantar muros, erguer fortalezas e se refugiar em ambientes distantes do Brasil real, o poder público não fez a sua parte em desmentir que a chegada do transporte de massas não degrade a paisagem urbana.
Enrique Peñalosa, ex-prefeito de Bogotá, na Colômbia, e grande especialista em transporte coletivo, diz que não basta criar corredores de ônibus bem asfaltados e servidos por diversas linhas. Abrigos confortáveis, boa iluminação, calçamento, limpeza e paisagismo que circundam estações de metrô ou pontos de ônibus precisam mostrar o status que o transporte público tem em uma determinada cidade.
Se no entorno do ponto de ônibus, a calçada está esburacada, há sujeira e a escuridão afugenta pessoas à noite, é normal que moradores não queiram a chegada do transporte de massa.
A instalação de linhas de monotrilho ou de corredores de ônibus precisa vitaminar uma área, não destruí-la.
Quando as grades da Nove de Julho foram retiradas, a avenida ficou menos tétrica, quase bonita. Quando o corredor da Rebouças fez pontos muito modestos, que acumulam diversos ônibus sem dar vazão a desembarques, a imagem do engarrafamento e da bagunça vira um desastre de relações públicas.
Em Istambul, monotrilhos foram instalados no nível da rua, como os “trams” das cidades alemãs e suíças. Mesmo em uma cidade de 16 milhões de habitantes na Turquia, país emergente como o Brasil, houve cuidado com os abrigos feitos de vidro, com os bancos caprichados – em formato de livro –e com a iluminação. Restou menos espaço para os carros porque a idéia ali era tentar convencer na marra os motoristas a deixarem mais seus carros em casa e usarem o transporte público.
Se os monotrilhos do Morumbi, de fato, se parecerem com um Minhocão*, o Godzilla do centro de São Paulo, os moradores deveriam protestar, pedindo melhorias no projeto, detalhamento dos materiais, condições e impacto dos trilhos na paisagem urbana. Se forem como os antigos bondes, ótimo.
Mas se os moradores simplesmente recusarem qualquer ampliação do transporte público, que beneficiará diretamente os milhares de prestadores de serviço que precisam trabalhar na região do Morumbi, vai ser difícil acreditar que o problema deles não seja a gente diferenciada que precisa circular por São Paulo.
(Raul Justes Lores. Folha de S. Paulo, 07/10/2010. Adaptado.)
(*) Elevado Presidente Costa e Silva, ou Minhocão, é uma via expressa que liga o Centro à Zona Oeste da cidade de São Paulo.
No texto, “gente diferenciada” é equivalente a
Provas
Questão presente nas seguintes provas
Considere uma rampa plana, inclinada de um ângulo !$ θ !$ em relação à horizontal, no início da qual encontra-se um carrinho. Ele então recebe uma pancada que o faz subir até uma certa distância, durante o tempo !$ t_s !$, descendo em seguida até sua posição inicial. A “viagem” completa dura um tempo total !$ t !$. Sendo μ o coeficiente de atrito cinético entre o carrinho e a rampa, a relação !$ t/t_s !$ é igual a
Provas
Questão presente nas seguintes provas
Alguns tipos de sensores piezorresistivos podem ser usados na confecção de sensores de pressão baseados em pontes de Wheatstone. Suponha que o resistor !$ R_x !$ do circuito da figura seja um piezorresistor com variação de resistência dada por !$ R_x\;=\,kp+10\,Ω !$ , em que !$ k\,=\,2,0 !$x!$ 10^{-4}\,Ω/Pa !$ e !$ p !$, a pressão. Usando este piezorresistor na construção de um sensor para medir pressões na faixa de 0,10 atm a 1,0 atm, assinale a faixa de valores do resistor !$ R_1 !$ para que a ponte de Wheatstone seja balanceada. São dados: !$ R_2\,=\,20\,Ω !$ e !$ R_3\;=\,15Ω !$ .

Provas
Questão presente nas seguintes provas
Seja !$ x !$ ∈ [0, 2 !$ \pi !$] tal que sen( !$ x !$) cos( !$ x !$) = !$ { \large 2 \over 5} !$ . Então, o produto e a soma de todos os possíveis valores de tg( !$ x !$) são, respectivamente
Provas
Questão presente nas seguintes provas
A questão refere-se ao poema abaixo, de Oswald de Andrade, que integra o romance Memórias sentimentais de João Miramar.

Azula: foge
Abrindo o pala: escapando
Sarado: valentão, abusado
O título do poema “Crackar”, relacionado ao romance,
I. revela o comportamento do personagem.
II. é próprio do contexto sócio-econômico da época.
III. afeta diretamente a vida do personagem.
Está correto o que se afirma em
Provas
Questão presente nas seguintes provas
Thursday, Feb. 10, 2011
2045: The Year Man Becomes Immortal
By Lev Grossman
(…), Kurzweil believes that we’re approaching a moment when computers will become intelligent, and not just intelligent but more intelligent than humans. When that happens, humanity – our bodies, our minds, our civilization – will be completely and irreversibly transformed. He believes that this moment is not only inevitable but imminent. According to his calculations, the end of human civilization as we know it is about 35 years away.
Computers are getting faster. Everybody knows that. Also, computers are getting faster faster – that is, the rate at which they’re getting faster is increasing.
True? True.
So if computers are getting so much faster, so incredibly fast, there might conceivably come a moment when they are capable of something comparable to human intelligence. Artificial intelligence. All that horsepower could be put in the service of emulating whatever it is our brains are doing when they create consciousness – not just doing arithmetic very quickly or composing piano music but also driving cars, writing books, making ethical decisions, appreciating fancy paintings, making witty observations at cocktail parties.
If you can swallow that idea, and Kurzweil and a lot of other very smart people can, then all bets are off. From that point on, there’s no reason to think computers would stop getting more powerful. They would keep on developing until they were far more intelligent than we are. Their rate of development would also continue to increase, because they would take over their own development from their slower-thinking human creators. Imagine a computer scientist that was itself a super-intelligent computer. It would work incredibility quickly. It could draw on huge amounts of data effortlessly. It wouldn’t even take breaks to play Farmville.
(…)
http://www.time.com/printout/0,8816,2048138,00.html. Acesso em 07/04/2011. Adaptado.
From that point on, destacado no texto, refere-se a
Provas
Questão presente nas seguintes provas
Considere as reações representadas pelas seguintes equações químicas:
I. !$ C(s)\,+\,2H_2(g) !$→!$ CH_4(g) !$
II. !$ N_2O(g) !$→!$ N_2(g)\,+\,1/2O_2(g) !$
III. !$ 2NI_3(s) !$→!$ N_2(g)\,+\,3I_2(g) !$
IV. !$ 2O_3(g) !$→!$ 3O_2(g) !$
Assinale a opção que apresenta a(s) reação(ões) química(s) na(s) qual(is) há uma variação negativa de entropia.
Provas
Questão presente nas seguintes provas
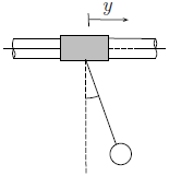
Um cilindro vazado pode deslizar sem atrito num eixo horizontal no qual se apoia. Preso ao cilindro, há um cabo de 40 cm de comprimento tendo uma esfera na ponta, conforme figura. Uma força externa faz com que o cilindro adquira um movimento na horizontal do tipo !$ y\,=y_0\,sen\,(2\pi f\,t) !$. Qual deve ser o valor de !$ f !$ em hertz para que seja máxima a amplitude das oscilações da esfera?

Provas
Questão presente nas seguintes provas
São feitas as seguintes afirmações a respeito dos produtos formados preferencialmente em eletrodos eletroquimicamente inertes durante a eletrólise de sais inorgânicos fundidos ou de soluções aquosas de sais inorgânicos:
I. Em !$ CaCl_2(l) !$ há formação de !$ Ca(s) !$ no catodo.
II. Na solução aquosa !$ 1 !$x!$ 10^{-3}mol.L^{-1} !$ em !$ Na_2SO_4 !$ há aumento do pH ao redor do anodo.
III. Na solução aquosa !$ 1mol.L^{-1} !$ em !$ AgNO_3 !$ há formação de !$ O_2(g) !$ no anodo.
IV. Em !$ NaBr(l) !$ há formação de !$ Br_2(l) !$ no anodo.
Das afirmações acima, está(ão) ERRADA(S) apenas
Provas
Questão presente nas seguintes provas
Moradores de Higienópolis admitiram ao jornal Folha de S. Pauloque a abertura de uma estação de metrô na avenida Angélica traria “gente diferenciada” ao bairro. Não é difícil imaginar que alguns vizinhos do Morumbi compartilhem esse medo e prefiram o isolamento garantido com a inexistência de transporte público de massa por ali.
Mas à parte o gosto exacerbado dos paulistanos por levantar muros, erguer fortalezas e se refugiar em ambientes distantes do Brasil real, o poder público não fez a sua parte em desmentir que a chegada do transporte de massas não degrade a paisagem urbana.
Enrique Peñalosa, ex-prefeito de Bogotá, na Colômbia, e grande especialista em transporte coletivo, diz que não basta criar corredores de ônibus bem asfaltados e servidos por diversas linhas. Abrigos confortáveis, boa iluminação, calçamento, limpeza e paisagismo que circundam estações de metrô ou pontos de ônibus precisam mostrar o status que o transporte público tem em uma determinada cidade.
Se no entorno do ponto de ônibus, a calçada está esburacada, há sujeira e a escuridão afugenta pessoas à noite, é normal que moradores não queiram a chegada do transporte de massa.
A instalação de linhas de monotrilho ou de corredores de ônibus precisa vitaminar uma área, não destruí-la.
Quando as grades da Nove de Julho foram retiradas, a avenida ficou menos tétrica, quase bonita. Quando o corredor da Rebouças fez pontos muito modestos, que acumulam diversos ônibus sem dar vazão a desembarques, a imagem do engarrafamento e da bagunça vira um desastre de relações públicas.
Em Istambul, monotrilhos foram instalados no nível da rua, como os “trams” das cidades alemãs e suíças. Mesmo em uma cidade de 16 milhões de habitantes na Turquia, país emergente como o Brasil, houve cuidado com os abrigos feitos de vidro, com os bancos caprichados – em formato de livro –e com a iluminação. Restou menos espaço para os carros porque a idéia ali era tentar convencer na marra os motoristas a deixarem mais seus carros em casa e usarem o transporte público.
Se os monotrilhos do Morumbi, de fato, se parecerem com um Minhocão*, o Godzilla do centro de São Paulo, os moradores deveriam protestar, pedindo melhorias no projeto, detalhamento dos materiais, condições e impacto dos trilhos na paisagem urbana. Se forem como os antigos bondes, ótimo.
Mas se os moradores simplesmente recusarem qualquer ampliação do transporte público, que beneficiará diretamente os milhares de prestadores de serviço que precisam trabalhar na região do Morumbi, vai ser difícil acreditar que o problema deles não seja a gente diferenciada que precisa circular por São Paulo.
(Raul Justes Lores. Folha de S. Paulo, 07/10/2010. Adaptado.)
(*) Elevado Presidente Costa e Silva, ou Minhocão, é uma via expressa que liga o Centro à Zona Oeste da cidade de São Paulo.
Todas as opções abaixo estão respaldadas no texto. Assinale a que contém a ideia central.
Provas
Questão presente nas seguintes provas
Cadernos
Caderno Container