Foram encontradas 2.005 questões.
Em sistemas digitais, são usados diversos métodos para a representação de diferentes tipos de informação, com a base (ou o padrão) podendo ser indicada por um subscrito. Como exemplo, 010012 e 11110000COMPLEMENTO DE DOIS indicam números binário e binário em complemento de dois, respectivamente. Julgue os itens abaixo, acerca da representação de números e caracteres.
O número negativo decimal -1110 tem a representação binária em complemento de dois, em 8 bits, igual a 11110101COMPLEMENTO DE DOIS.
Provas
Em sistemas digitais, são usados diversos métodos para a representação de diferentes tipos de informação, com a base (ou o padrão) podendo ser indicada por um subscrito. Como exemplo, 010012 e 11110000COMPLEMENTO DE DOIS indicam números binário e binário em complemento de dois, respectivamente. Julgue os itens abaixo, acerca da representação de números e caracteres.
O número octal 56738 é equivalente ao número hexadecimal BBB16.
Provas
Em sistemas digitais, são usados diversos métodos para a representação de diferentes tipos de informação, com a base (ou o padrão) podendo ser indicada por um subscrito. Como exemplo, 010012 e 11110000COMPLEMENTO DE DOIS indicam números binário e binário em complemento de dois, respectivamente. Julgue os itens abaixo, acerca da representação de números e caracteres.
O número decimal 7910 é equivalente ao número binário 10011112.
Provas
Em sistemas digitais, são usados diversos métodos para a representação de diferentes tipos de informação, com a base (ou o padrão) podendo ser indicada por um subscrito. Como exemplo, 010012 e 11110000COMPLEMENTO DE DOIS indicam números binário e binário em complemento de dois, respectivamente. Julgue os itens abaixo, acerca da representação de números e caracteres.
O equivalente em representação BCD do número binário 000111012 é 00101001BCD.
Provas

As figuras I e II acima mostram dois circuitos digitais combinacionais com as entradas A, B e C e a saída S. Julgue os itens seguintes, relativos aos circuitos e à tabela verdade mostrada abaixo.

É possível implementar uma expressão lógica que realiza a tabela verdade usando apenas portas lógicas do tipo não-ou (NOR).
Provas

As figuras I e II acima mostram dois circuitos digitais combinacionais com as entradas A, B e C e a saída S. Julgue os itens seguintes, relativos aos circuitos e à tabela verdade mostrada abaixo.

.Provas

As figuras I e II acima mostram dois circuitos digitais combinacionais com as entradas A, B e C e a saída S. Julgue os itens seguintes, relativos aos circuitos e à tabela verdade mostrada abaixo.

Provas

As figuras I e II acima mostram dois circuitos digitais combinacionais com as entradas A, B e C e a saída S. Julgue os itens seguintes, relativos aos circuitos e à tabela verdade mostrada abaixo.

Provas

As figuras I e II acima mostram dois circuitos digitais combinacionais com as entradas A, B e C e a saída S. Julgue os itens seguintes, relativos aos circuitos e à tabela verdade mostrada abaixo.

.Provas

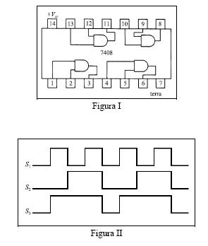
As figuras I e II acima mostram, respectivamente, um circuito integrado do tipo TTL padrão e um conjunto de três sinais digitais S1, S2 e S3. Considere que o dispositivo está em perfeito estado e, quando for o caso, corretamente alimentado. Nessas condições, julgue os itens abaixo, relativos a esse dispositivo TTL.
Comparado com um circuito equivalente fabricado com tecnologia CMOS, o circuito integrado TTL tem como vantagens o valor muito maior de fan-out e um consumo de energia muito menor. Entretanto, os dispositivos CMOS são sempre mais rápidos que os dispositivos TTL.
Provas
Caderno Container