Foram encontradas 40 questões.
Um arquiteto está elaborando um projeto de urbanização para um novo bairro em uma cidade de médio porte. No processo, é
necessário compreender a terminologia específica utilizada na legislação urbanística local. No contexto da legislação urbanística, o
que é "zoneamento"?
Provas
Questão presente nas seguintes provas
3467753
Ano: 2024
Disciplina: Direito Administrativo
Banca: UEPB
Orgão: Pref. São José Piranhas-PB
Disciplina: Direito Administrativo
Banca: UEPB
Orgão: Pref. São José Piranhas-PB
Provas:
Em um processo licitatório para a construção de um complexo arquitetônico, a administração pública pretende adotar a inversão das
fases de habilitação e julgamento das propostas. O arquiteto responsável pela elaboração do projeto questiona a legalidade dessa
inversão.
De acordo com a Lei de Licitações nº 14.133/2021, em quais situações é permitido inverter as fases de habilitação e julgamento?
De acordo com a Lei de Licitações nº 14.133/2021, em quais situações é permitido inverter as fases de habilitação e julgamento?
Provas
Questão presente nas seguintes provas
Na representação gráfica para projetos arquitetônicos e urbanísticos, conforme a ABNT NBR 6492:2021, os tipos de linhas e seus
significados são padronizados com suas características, denominação e aplicação geral. Dessa forma, assinale a alternativa que indica
as aplicações do tipo de linha abaixo:
(TRAÇO E PONTO ESTREITA)
(TRAÇO E PONTO ESTREITA)
Provas
Questão presente nas seguintes provas
3467751
Ano: 2024
Disciplina: Ética e Regulação Profissional
Banca: UEPB
Orgão: Pref. São José Piranhas-PB
Disciplina: Ética e Regulação Profissional
Banca: UEPB
Orgão: Pref. São José Piranhas-PB
Provas:
De acordo com a Lei nº 12.378, de 31 de dezembro de 2010, que regulamenta o exercício da Arquitetura e Urbanismo, são atividades e
atribuições do Arquiteto e Urbanista.
I- Vistoria, perícia, avaliação, monitoramento, laudo, parecer técnico, auditoria e arbitragem.
II- Execução, fiscalização e condução de obra, instalação e serviço técnico.
III- Estudo de viabilidade técnica e ambiental.
É CORRETO o que se afirma em:
I- Vistoria, perícia, avaliação, monitoramento, laudo, parecer técnico, auditoria e arbitragem.
II- Execução, fiscalização e condução de obra, instalação e serviço técnico.
III- Estudo de viabilidade técnica e ambiental.
É CORRETO o que se afirma em:
Provas
Questão presente nas seguintes provas
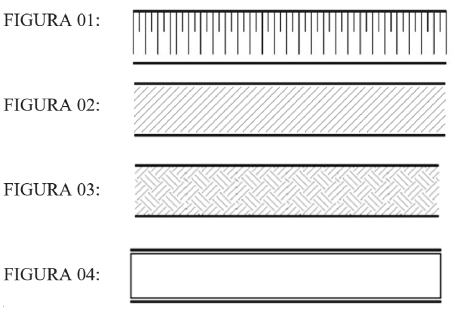
Com base na NBR 6492/2021, indique a que se referem as representações e hachuras abaixo nas imagens 01, 02, 03 e 04,
respectivamente:


Provas
Questão presente nas seguintes provas
3467749
Ano: 2024
Disciplina: Raciocínio Lógico
Banca: UEPB
Orgão: Pref. São José Piranhas-PB
Disciplina: Raciocínio Lógico
Banca: UEPB
Orgão: Pref. São José Piranhas-PB
Provas:
Em uma competição de Matemática, três alunos — Ana, Bruno e Carla —
participaram e apresentaram as seguintes notas:
- A nota de Ana é o dobro da nota de Bruno.
- A soma das notas de Ana e Bruno é igual à nota de Carla.
Se a nota de Carla fosse 2 pontos maior, a soma das notas de todos os alunos seria 20 pontos. Considerando as informações acima, qual é a nota de Ana?
- A nota de Ana é o dobro da nota de Bruno.
- A soma das notas de Ana e Bruno é igual à nota de Carla.
Se a nota de Carla fosse 2 pontos maior, a soma das notas de todos os alunos seria 20 pontos. Considerando as informações acima, qual é a nota de Ana?
Provas
Questão presente nas seguintes provas
3467748
Ano: 2024
Disciplina: Raciocínio Lógico
Banca: UEPB
Orgão: Pref. São José Piranhas-PB
Disciplina: Raciocínio Lógico
Banca: UEPB
Orgão: Pref. São José Piranhas-PB
Provas:
Analise cada uma das afirmativas a seguir.
I- Chama-se negação de uma proposição p a proposição que tem valor lógico verdadeiro quando p é falsa e valor lógico falso quando p é verdadeira.
II- Chama-se implicação entre duas proposições p e q a proposição que é falsa apenas quando p é verdadeira e q é falsa.
III- O valor lógico da bicondicional entre duas proposições p e q é verdadeiro se, e somente se, p e q tiverem o mesmo valor lógico.
IV- A negação de uma implicação entre duas proposições p e q é logicamente equivalente à conjunção de p e a negação de q.
É CORRETO o que se afirma em:
I- Chama-se negação de uma proposição p a proposição que tem valor lógico verdadeiro quando p é falsa e valor lógico falso quando p é verdadeira.
II- Chama-se implicação entre duas proposições p e q a proposição que é falsa apenas quando p é verdadeira e q é falsa.
III- O valor lógico da bicondicional entre duas proposições p e q é verdadeiro se, e somente se, p e q tiverem o mesmo valor lógico.
IV- A negação de uma implicação entre duas proposições p e q é logicamente equivalente à conjunção de p e a negação de q.
É CORRETO o que se afirma em:
Provas
Questão presente nas seguintes provas
3467747
Ano: 2024
Disciplina: Raciocínio Lógico
Banca: UEPB
Orgão: Pref. São José Piranhas-PB
Disciplina: Raciocínio Lógico
Banca: UEPB
Orgão: Pref. São José Piranhas-PB
Provas:
Três professores — Júlia, Marcos e Felipe — lecionam três matérias distintas:
Matemática, História e Ciências. Cada um deles é responsável por uma turma
diferente: 5º ano, 6º ano e 7º ano. No entanto, não se sabe inicialmente qual
professor ensina cada matéria, nem qual turma está sob sua responsabilidade. Sabe-se que:
- O professor de Ciências é responsável pela turma do 6º ano.
- Marcos leciona Matemática.
- O professor responsável pela turma do 7º ano não é Marcos.
- Júlia não leciona Ciências.
Com base nessas informações, é CORRETO afirmar que:
- O professor de Ciências é responsável pela turma do 6º ano.
- Marcos leciona Matemática.
- O professor responsável pela turma do 7º ano não é Marcos.
- Júlia não leciona Ciências.
Com base nessas informações, é CORRETO afirmar que:
Provas
Questão presente nas seguintes provas
3467746
Ano: 2024
Disciplina: Raciocínio Lógico
Banca: UEPB
Orgão: Pref. São José Piranhas-PB
Disciplina: Raciocínio Lógico
Banca: UEPB
Orgão: Pref. São José Piranhas-PB
Provas:
Três crianças—Ana, Beatriz e Carlos—participaram de uma campanha de doação
de brinquedos. A quantidade de brinquedos doada por Ana está na razão de 2/3 em
relação à quantidade doada por Beatriz, e a quantidade de brinquedos doada por
Beatriz está na razão de 3/4 em relação à quantidade doada por Carlos. Sabe-se que,
juntas, as três crianças doaram um total de 108 brinquedos. Com base nessas
informações, quantos brinquedos cada uma das crianças doou?
Provas
Questão presente nas seguintes provas
3467745
Ano: 2024
Disciplina: Raciocínio Lógico
Banca: UEPB
Orgão: Pref. São José Piranhas-PB
Disciplina: Raciocínio Lógico
Banca: UEPB
Orgão: Pref. São José Piranhas-PB
Provas:
Em uma academia com 100 atletas, foi realizada uma pesquisa para identificar a
participação nas modalidades de treino de Musculação, Yoga e Natação. Os
resultados foram organizados da seguinte forma:
· 60 atletas praticam Musculação.
· 45 atletas praticam Yoga.
· 30 atletas praticam Natação.
· 25 atletas praticam tanto Musculação quanto Yoga.
· 15 atletas praticam tanto Musculação quanto Natação.
· 10 atletas praticam tanto Yoga quanto Natação.
· 5 atletas praticam as três modalidades.
Com base nos dados da pesquisa, quantos atletas NÃO praticam nenhuma dessas modalidades?
· 60 atletas praticam Musculação.
· 45 atletas praticam Yoga.
· 30 atletas praticam Natação.
· 25 atletas praticam tanto Musculação quanto Yoga.
· 15 atletas praticam tanto Musculação quanto Natação.
· 10 atletas praticam tanto Yoga quanto Natação.
· 5 atletas praticam as três modalidades.
Com base nos dados da pesquisa, quantos atletas NÃO praticam nenhuma dessas modalidades?
Provas
Questão presente nas seguintes provas
Cadernos
Caderno Container