Foram encontradas 599 questões.
Segundo Christophe Dejours (2009), “O sofrimento social no trabalho está concreta e ontologicamente atrelado aos impedimentos concretos à livre atividade do trabalhador e ao seu poder de agir, aos constrangimentos da regulação autônoma das cargas de trabalho, questões situadas na dimensão social das relações sociais da produção capitalista contemporânea, tendo raízes solidamente plantadas no terreno da escassez de reconhecimento”.
Considerando o texto acima, é correto afirmar que se trata da definição de
Provas
Questão presente nas seguintes provas
Uma motobomba de !$ 250 \,kg !$ é montada sobre uma base elástica, cuja rigidez equivalente é de !$ 12,25 \times 10^5 \,N/m !$. Para esse conjunto, a frequência natural é de
Provas
Questão presente nas seguintes provas
O Brasil tem visto, nos últimos tempos, o retorno de doenças que se acreditava erradicadas, como o sarampo, a poliomielite, a rubéola e a difteria. O reaparecimento dessas doenças é
Provas
Questão presente nas seguintes provas
A tensão trativa é a tensão tangencial exercida pelo líquido efluente de esgoto escoando sobre a parede de um tubo, cujo valor crítico, denominado tensão trativa crítica é o valor mínimo capaz de iniciar o movimento das partículas depositadas nas tubulações. Cada trecho deve ser verificado pelo critério de tensão trativa média de valor mínimo T = 1,0 Pa. Atente para os seguintes dados:
Dados:
Tubo com vazão a meia seção;
!$ Φ !$ = 0,80m !$ → !$ diâmetro da tubulação;
!$ n !$ = 0,013 !$ → !$ coeficiente de Manning;
!$ γ !$ = !$ 10^4\, N/m^3 !$ !$ → !$ peso específico da água;
!$ I_0 !$ = 0,004 m/m !$ → !$ declividade;
R = 0,40m !$ → !$ raio do tubo;
!$ \pi !$ = 3,14.
Fórmulas:
!$ P = \pi .R → !$ perímetro da seção molhada (m);
!$ A = (\pi.R^2)/2 → !$ área da seção molhada (m);
!$ R_H = P/A → !$ raio hidráulico (m);
!$ T = γ.R_H.I_0 → !$ tensão trativa (Pa).
Considerando os dados fornecidos, assinale a opção que corresponde à tensão trativa média de um trecho de tubulação de esgoto.
Provas
Questão presente nas seguintes provas
Considerando a NR 10, assinale a afirmação verdadeira.
Provas
Questão presente nas seguintes provas
Uma edificação possui uma parede composta por 3 camadas de materiais diferentes, em série, conforme mostrado na figura a seguir.

Para essa configuração das camadas, a transmitância térmica da parede, em !$ W/(m^2.K) !$, desconsiderando as resistências superficiais e de contato, é de
Dados:
!$ E_A = 0,05 !$
!$ E_B = 0,10 !$
!$ E_C = 0,19 !$
!$ K_A = 1,00 W/(m.k) !$
!$ K_B = 0,10 W/(m.k) !$
!$ K_C = 0,20 W/(m.k) !$
Provas
Questão presente nas seguintes provas
Com relação à espectrometria de absorção atômica, é correto afirmar que
Provas
Questão presente nas seguintes provas
Os serviços de água e esgoto nos domicílios rurais, na maioria das vezes, são realizados por meio de pequenos sistemas ou soluções individuais, geralmente envolvendo a utilização de
Provas
Questão presente nas seguintes provas
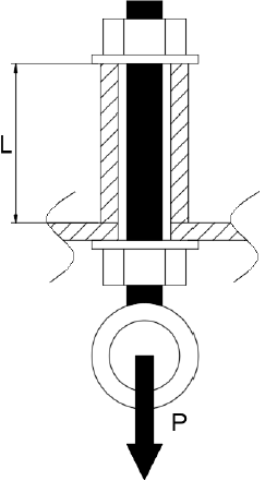
Um parafuso com olhal na ponta é fixado a uma chapa através de um cilindro vasado, onde são colocadas porcas em suas extremidades, conforme mostrado na figura a seguir.

No processo de fixação do parafuso, foi aplicada uma pré-carga através do aperto das porcas equivalente a 150 kg, deixando o cilindro com um comprimento “L”. Posteriormente foi aplicada uma carga “P” no olhal equivalente a 120 kg, fazendo com que a tensão atuante no parafuso na seção de comprimento “L” fosse equivalente a uma carga de
Observação:
Desconsidere as
deformações
nas arruelas .
Provas
Questão presente nas seguintes provas
A impedância equivalente referida ao primário, em !$ Ω !$, de um transformador abaixador de 30 kVA, 60 Hz, 2,2 kV/220 V com impedâncias do primário de 0,1 + j0,2 !$ Ω !$ e do secundário de 0,002 + j0,004 !$ Ω !$ é igual a
Provas
Questão presente nas seguintes provas
Cadernos
Caderno Container